CTS519-4 Centros de transformación capsulados. Transformador tipo seco con celda de protección (Nivel 2)
- Contenido
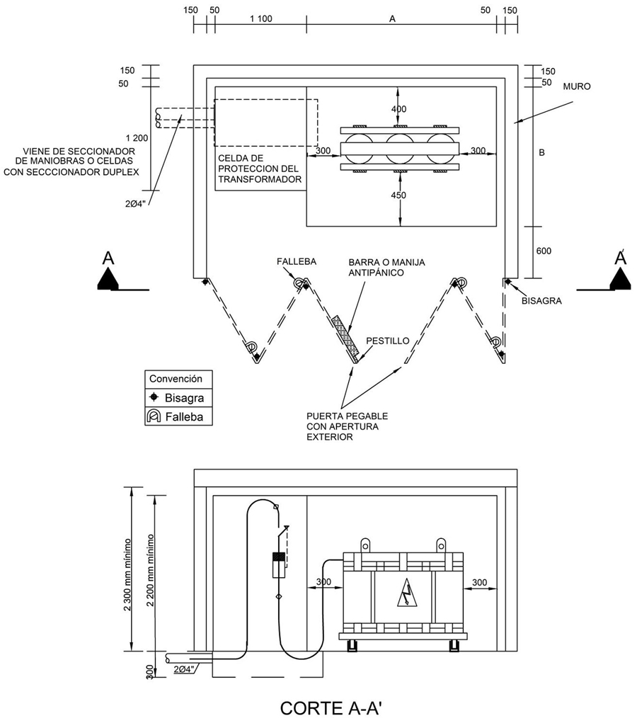
NOTAS:
1- Dimensiones en milímetros
2- Las dimensiones de la celda del transformador seco se encuentran en la norma CTS518-2
3- Las hojas de la puerta no deben ser menores a 900mm y un en una hoja se debe incluir cerradura antipánico, en cumplimiento con RETIE .
4- Para los diseños, uso e instalación en la infraestructura eléctrica de uso general de ENEL-Enel Colombia sólo se permite la utilización de Transformadores en aceite.
5- Para proyectos nuevos de la red de uso general de Enel Colombia las celdas deben cumplir con las especificaciones GSM001 MV RMU WITH SWITCH-DISCONNECTOR y GSCM004 MV.
DATOS ADICIONALES
Revisión #
3
Fecha de entrada en vigencia
Actividad de los usuarios
Para hacer comentarios debe iniciar sesión o registrarse aquí