Pasar al contenido principal
Navegación principal
HOME
NORMAS TÉCNICAS
ESPECIFICACIONES TÉCNICAS LOCALES
ESPECIFICACIONES TÉCNICAS CORPORATIVAS
CONTACTO
Menú de cuenta de usuario
Iniciar sesión
Sobrescribir enlaces de ayuda a la navegación
Inicio
Normas Técnicas
CENTROS DE TRANSFORMACIÓN PARA REDES AEREAS URBANOS Y RURALES
Centros De Transformación Rurales De 34,5 KV De 2,5 A 10 MVA
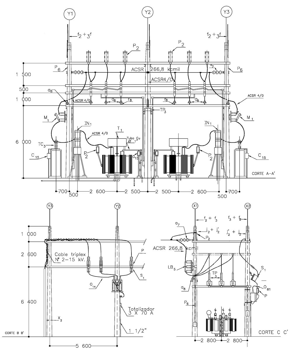
CTR614 Centro De Transformación Rural 34,5 KV De 2,5 A 10 MVA Con Celdas. Disposición De Equipos, Cortes A–A’, B–B’, C–C’
CTR614 Centro de transformación rural 34,5 kV de 2,5 a 10 MVA con celdas. Disposición de equipos, cortes A–A’, B–B’, C–C’
Contenido
DATOS ADICIONALES
Revisión #
1
Fecha de entrada en vigencia
13 Octubre 2009
HERRAMIENTAS
Descargar archivo
RELACIONADAS
Actividad de los usuarios
Para hacer comentarios debe
iniciar sesión
o registrarse
aquí
Estado del comentario
X
×
Actividad de los usuarios
Para hacer comentarios debe iniciar sesión o registrarse aquí