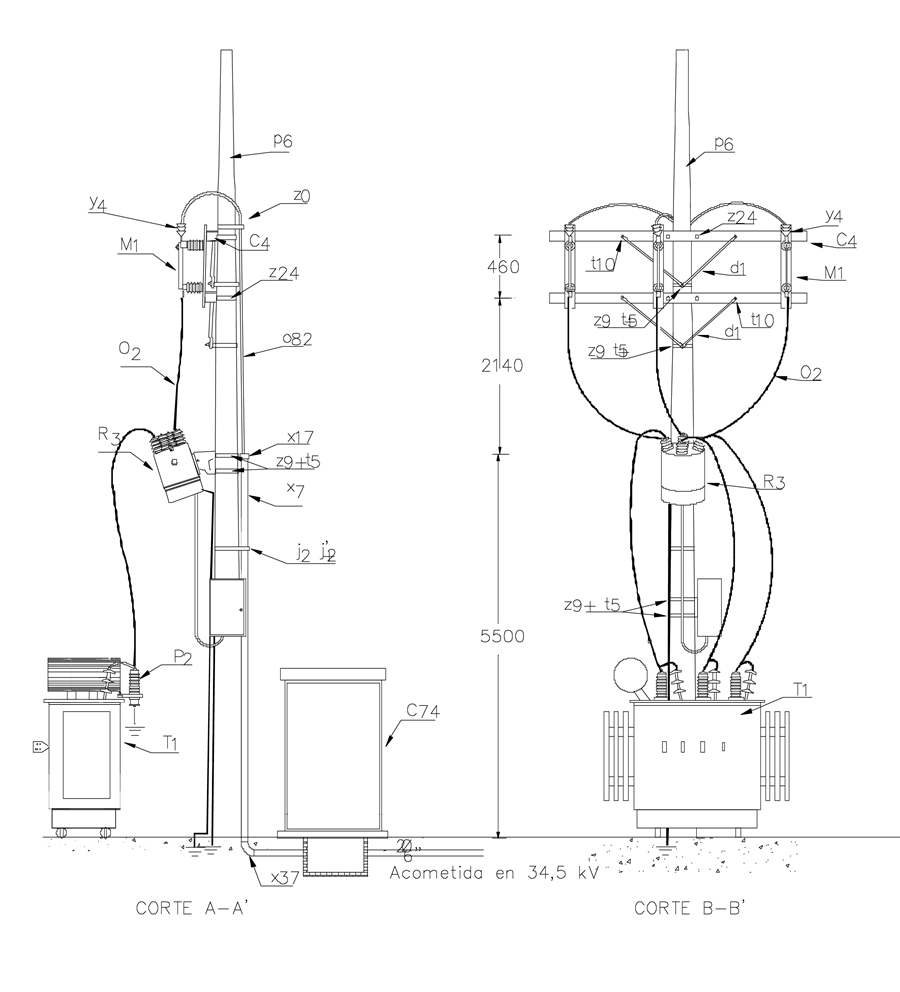
CTU615 Centro de distribución industrial 34,5 kV tipo exterior – Derivación subterránea con reconectador
- Contenido
.jpg)
[nodefilelink:]
NOTAS.
- La celda de medida tipo intemperie para 34.5 KV, se debe localizar de tal forma que facilite el ingreso, revisión de los equipos y medidores al personal de Enel Colombia, sin necesidad del ingreso al patio de conexiones.
- La dimensión de 120 V al control del reconectador se hará desde la instalación del usuario.
- La caja de control el reconectador tendrán puesta a tierras independientes.
.jpg)
LISTA DE MATERIALES
| SÍMB. | CANT. | CÓDIGO SAP | ESP. TÉCNICA | DESCRIPCIÓN |
| c 4 | 2 | 251506 | ET419 | Cruceta metálica de 2,5 m |
| C 74 | 1 | ET 916 | Celda de medida en 34,5 kV tipo intemperie | |
| d 1 | 4 | 240083 | ET 405 | Diagonal metálica en varilla tipo 1 |
| j´ 2 | 4 | ET 450 | Hebilla de acero inoxidable de 1/2” | |
| J 2 | 4 | ET 450 | Metros de cinta de acero inoxidable de 1/2” | |
| M 1 | 3 | ET 513 | Seccionador monopolar 600A, 36kV | |
| O 2 | 15 | E-MT-003 | Metros de cable ACSR calibre 2/0 AWG | |
| o 82 | 10 | E-MT-002 | Metros de cable triplex de cobre 35 kV 2/0 AWG | |
| P 2 | 3 | 6762117 | ET 500 | DPS - Descargadores de sobretensión de óxido metálico 30 kV 10 kA |
| p 6 | 1 | 6762467 | ET 201 | Poste de concreto de 12 m 1 050 kg |
| R 3 | 1 | E-MT-004 | Reconectador 34,5kV | |
| s 26 | 2 | Conector tipo tornillo para puesta a tierra | ||
| T 1 | 1 | ET 008 | Transformador de potencia de 0,5 a 5 MVA de 34,5 - 11,4 kV ó 34,5 - 13,2 kV ó 34,5 kV – 440 V | |
| t 5 | 6 | ET 456 | Tornillo de carruaje 5/8" x 1 1/2" | |
| t 10 | 4 | 6762213 | ET 457 | Tornillo de acero galvanizado 5/8" x 5" |
| TC | 2 | ET 922 | Transformador de corriente 36 kV Uso interior | |
| TP | 2 | ET 923 | Transformador de potencial 36 kV Uso interior | |
| u | 2 | Accesorios para puesta a tierra | ||
| x 17 | 2 | Boquilla galvanizada 4" | ||
| x 37 | 1 | ET 602 | Codo galvanizado 4" x 90 | |
| x 7 | 6 | 6762440 | ET 601 | Metros de tubo galvanizado 4" |
| y 4 | 3 | ET-703 | Terminal preformado tipo exterior para 35 kV | |
| z 0 | 2 | ET 431 | Abrazadera de una salida para sujeción de cables al poste | |
| Z 9 | 6 | ET 431 | Abrazadera de una salida tipo 4 | |
| Z 24 | 2 | Abrazadera en u tipo 4 |
DATOS ADICIONALES
Revisión #
1
Fecha de entrada en vigencia
Actividad de los usuarios
Para hacer comentarios debe iniciar sesión o registrarse aquí