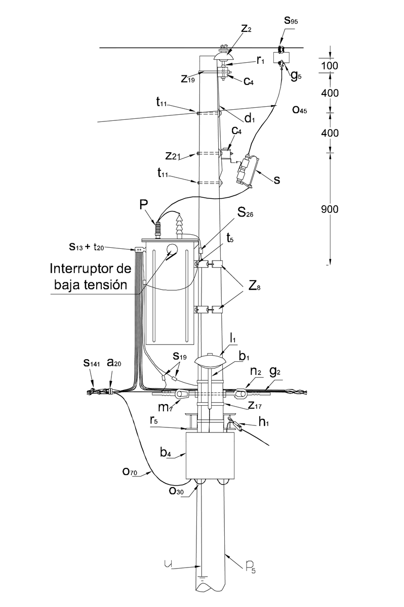
CTU521 Centro de distribución urbano. Montaje en poste de transformador trifásico completamente autoprotegido con circuito primario sencillo y red trenzada de B.T.
- Contenido

LISTA DE MATERIALES
| SÍMB. | CANT. | CÓDIGO SAP | ESP. TÉCNICA | DESCRIPCIÓN |
| a 2 | 3 | 6762360 | E-MT-011 | Aislador de pin ANSI 55-5 |
| a 20 | 3 | 6762518 | Amarre plástico para cable trenzado | |
| b 1 | 1 | 6762530 | ET-832 | Soporte para luminaria horizontal vías Phi 3/4”x 1.5 m en secundarias |
| b 4 | 1 | 6762318 | ET-925 | Caja de borneras para derivación de acometidas. |
| c 4 | 1 | 251506 | ET-419 | Cruceta metálica de 2,5 m |
| d 1 | 2 | 6762466 | ET-405 | Diagonal metálica en varilla 5/8’’ x 770 mm |
| F | 1 | 6762325 | ET-810 | Fotocontrol 1000 W / 1800 VA 205 / 305 V, tipo NC |
| g 2 | 2 | ET-354 | Grapa de retención aislada para red trenzada de B.T. | |
| g 5 | 3 | 6762151 | ET-352 | Grapa para operar en caliente |
| h 1 | 4 | 6762323 | ET-468 | Tensor de acometidas |
| j´ 3 | 2 | 6764362 | ET-450 | Hebilla de acero inoxidable 5/8” |
| j 3 | 2 | 6762433 | ET-450 | Metros de cinta de acero inoxidable 5/8”x 0,03” |
| l 1 | 1 | 6762554 | ET-801 | Luminaria horizontal de sodio 70 W para vías secundarias |
| m 7 | 1 | 6762209 | ET-454 | Tuerca de ojo alargado 5/8" |
| n 2 | 1 | 6764363 | ET-461 | Perno de ojo tipo 2 (5/8” x 254 mm) |
| o 38 | 6 | ET-123 | Metros de cable de cobre No.14 AWG 600 V | |
| o 70 | 2 | 6762499 | ET-113 | Metros de cable de cobre trenzado para derivaciones 3x2+1x4 AWG |
| P | 3 | 6781248 | ET-500 | DPS - Descargador de sobretensión óxido metálico 12 kV 10kA |
| p 5 | 1 | 6762452 | ET-201 | Poste de concreto de 12 m , 750 kg (3) (1) |
| q | 1 | 6762336 | ET-820 | Bombilla de sodio 70 W tubular clara |
| r 1 | 3 | 201073 | ET414 | Porta aislador pasante para soporte metálico |
| r 5 | 2 | 6762220 | ET-417 | Percha porta aislador de un puesto |
| S | 3 | 6762115 | E-MT-001 | Cortacircuitos de cañuela 100 A 15 kV |
| s 13 | 8 | 6763177 | ET302 | Conector terminal de compresión tipo pala (ver notas) |
| s 19 | 2 | 6762145 | ET-303 | Conector de compresión en ranuras paralelas tipo 3 |
| s 26 | 1 | Conector tipo tornillo para puesta a tierra | ||
| s 95 | 3 | ET-356 | Conector cuña con estribo 4/0 - 4 AWG | |
| s 141 | 4 | ET-306 | Conector de tornillo con chaqueta aislante, tipo 2 | |
| T | 1 | GST001 | Transformador de distribución completamente autoprotegido de 30 hasta 150 kVA, 11 400 -208/120 V (3) | |
| t 5 | 2 | 6762212 | ET-456 | Tornillo de carruaje 5/8" x 1 ½” |
| t 10 | 2 | 6762213 | ET-457 | Tornillo de acero galvanizado 5/8" x 5" |
| t 11 | 2 | 6762251 | ET-457 | Tornillo de acero galvanizado 5/8" x 8" (2) |
| t 20 | 8 | Tornillo de bronce para borna terminal | ||
| u | 1 | Accesorios para puesta a tierra | ||
| z 8 | 2 | 6762236 | ET-431 | Abrazadera de una salida tipo 3 |
| z 17 | 2 | Abrazadera de 180 mm para soporte de luminaria en vías secundarias | ||
| z 19 | 1 | 6762174 | ET-436 | Abrazadera en U tipo 1 |
ALTERNATIVAS:
(1) Poste de madera tipo pesado de 12 m en zonas de difícil acceso ( ET 202 ). El poste que aparece en lista es una referencia. Consulte la norma LA 010 para su selección adecuada
(2) Abrazadera de una salida z 8 tornillo de carruaje t 5
(3) Esta estructura permite transformadores hasta 150 kVA con pesos menores a 700 kgf , en postes de 12 m 750 kgf; transformadores menores o iguales a 112,5 kVA con pesos menores a 600 kgf en postes de 12 m 510 kgf
NOTAS:
- El conector tipo cuña que aparece en el listado es una referencia, consultar la ET-356 para su selección adecuada de acuerdo al conductor.
- El conector terminal de compresión tipo pala que aparece en el listado es una referencia, consultar la ET 302 para su selección adecuada de acuerdo al conductor.
- En los transformadores con conector tipo ojo, que necesite un número mayor de salidas, usar platina de cobre (s 33 ) y tornillo de bronce (t 20 ), según ET-310.
- El cortacircuito se utiliza como elemento de seccionamiento para corte visible, el fusible se selecciona de acuerdo con la capacidad del transformador o de mayor valor.
DATOS ADICIONALES
Revisión #
1
Fecha de entrada en vigencia
Actividad de los usuarios
Para hacer comentarios debe iniciar sesión o registrarse aquí