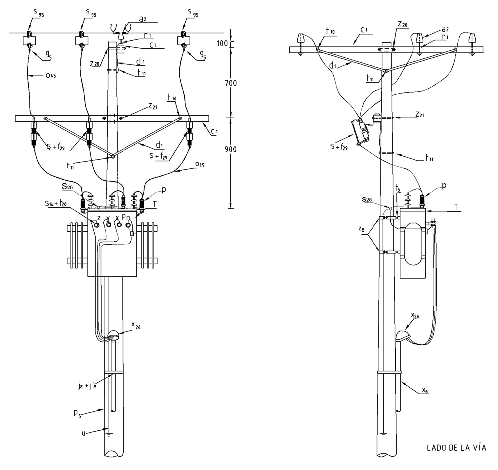
CTU520 Centro de distribución urbano. Montaje en poste de transformador trifásico para servicio dedicado con circuito primario sencillo
- Contenido

LISTA DE MATERIALES
| SÍMB. | CANT. | CÓDIGO SAP | ESP. TÉCNICA | DESCRIPCIÓN |
| a 2 | 3 | 6762360 | E-MT-011 | Aislador de pin ANSI 55-5 |
| c 4 | 2 | 6762481 | ET-419 | Cruceta metálica de 2,5 m |
| d 1 | 4 | 6762466 | ET-405 | Diagonal metálica en varilla 5/8’’ x 770 mm |
| f 29 | 3 | 6762194 | ET-505 | Fusible dual (ver notas) |
| g 5 | 3 | 6962151 | ET-352 | Grapa para operar en caliente |
| j´ 3 | 2 | 6764362 | ET-450 | Hebilla de acero inoxidable 5/8” |
| J 3 | 2 | 6762433 | ET-450 | Metros de cinta de acero inoxidable 5/8” |
| P | 3 | 6781248 | ET-500 | DPS - Descargador de sobretensión óxido metálico 12 kV , 10 kA |
| p 5 | 1 | 230957 | GSS002 | Poste de concreto de 12 m 750 kg (1) |
| o 45 | 12 | 6762340 | ET-122 | Metros de cable desnudo de cobre calibre 4 AWG |
| r 1 | 3 | 201073 | ET414 | Porta aislador pasante para cruceta de madera |
| S | 3 | 6762115 | E-MT-001 | Cortacircuito de cañuela 100 A 15 kV |
| s 14 | 4 | 6762265 | ET-302 | Conector terminal de compresión tipo pala (ver notas) |
| s 26 | 2 | Conector tipo tornillo para puesta a tierra | ||
| s 95 | 3 | ET-356 | Conector cuña con estribo 4/0 - 4 AWG | |
| T | 1 | GST001 | Transformador de distribución hasta 150 kVA (peso < 700 kgf), 11 400 - 208/120 V (1) | |
| t 5 | 2 | 6762212 | ET-456 | Tornillo de carruaje 5/8" x 1 ½” |
| t 10 | 4 | 6762213 | ET-457 | Tornillo de acero galvanizado 5/8" x 5" |
| t 11 | 2 | 6762251 | ET-457 | Tornillo de acero galvanizado 5/8" x 8" (2) |
| t 20 | 8 | Tornillo de bronce para borna terminal | ||
| u | 1 | Accesorios para puesta a tierra | ||
| x 6 | 6 | 6764379 | ET-601 | Metros de tubo galvanizado 3" |
| x 16 | 1 | Boquilla galvanizada 3" | ||
| x 26 | 1 | ET-605 | Capacete galvanizado 3" | |
| x 36 | 1 | ET-604 | Codo galvanizado 3”x 90° | |
| z 20 | 2 | 6762202 | Abrazadera en U tipo 2 | |
| z 8 | 2 | 6762236 | ET-431 | Abrazadera de una salida tipo 3 |
ALTERNATIVAS:
(1) El poste de 750 kgf permite transformadores hasta 150 kVA con pesos menores a 700 kgf. Para transformadores de 225 kVA usar postes de 1050 kgf.
(2) Abrazadera de una salida z8, tornillo de carruaje t5 y tuerca de ojo alargado m7.
NOTAS:
- El conector tipo cuña que aparece en el listado es una referencia, consultar la ET-356 para su selección adecuada de acuerdo al conductor.
- El conector terminal de compresión tipo pala que aparece en el listado es una referencia, consultar la ET-302 para su selección adecuada de acuerdo al conductor.
- Para la selección del fusible dual se debe consultar la ET-505 .
- Los cortacircuitos se instalarán del lado contrario al transformador. Si hay elementos cercanos que afecten su instalación o dificultad en la apertura de los portafusibles, se ubicarán encima del transformador.
- Después de los cortacircuitos la derivación al transformador debe conectar primero los DPS y luego los bujes del transformador.
DATOS ADICIONALES
Revisión #
5
Fecha de entrada en vigencia
Actividad de los usuarios
Para hacer comentarios debe iniciar sesión o registrarse aquí