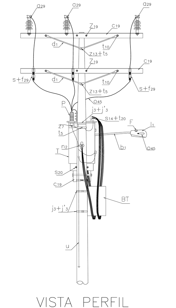
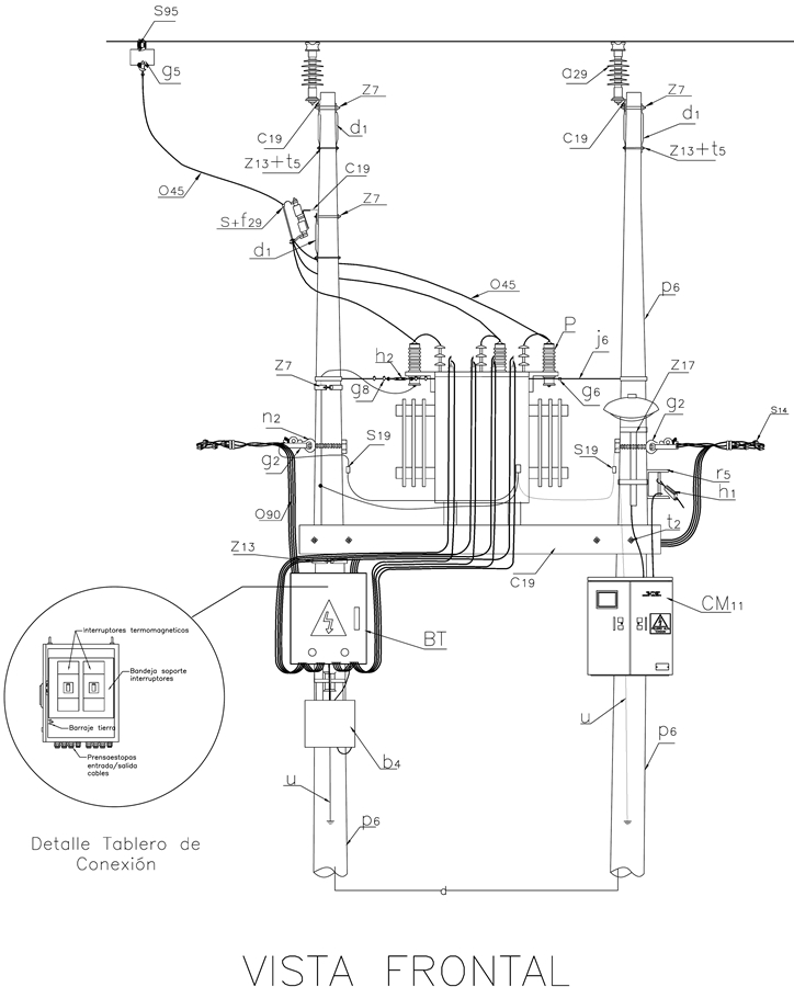
CTU506-2 Montaje tipo H de transformador trifásico. Disposición horizontal de paso.
- Contenido
LISTA DE MATERIALES
| SÍMB. | CANT. | CÓDIGO | ESP. TÉCNICA | DESCRIPCIÓN |
| a29 | 3 | 300548 | GSCC010 | Aislador Line Post Compuesto Cruceta Metálica 24kV (1) |
| b1 | 1 | 6762530 | ET832 | Soporte para luminaria horizontal f3/4”x1.5m en vías secundarias |
| b4 | 1 | 6762318 | ET925 | Caja para derivación de acometidas. |
| BT | 1 | ET531 | Tablero de protección de baja tensión para montaje en poste (2) | |
| c19 | 3 | 6796010 | ET419 | Cruceta metálica 2,5 m |
| CM11 | 1 | 280030 | ET933 | Caja para medición inteligente (3) |
| d1 | 8 | 240083 | ET405 | Diagonal metálica en varilla tipo 1 |
| F | 1 | 6762325 | ET810 | Fotocontrol 1000 W / 1800 VA 205 / 305 V, tipo NC |
| f29 | 3 | 170826 | ET505 | Fusible dual (4) |
| g2 | 2 | ET354 | Grapa retención aislada para red trenzada de B.T. | |
| g5 | 3 | 251355 | ET352 | Grapa para operar en caliente |
| g6 | 6 | 6762704 | ET465 | Grapa tipo grillete para cable de 3/8’’ |
| g8 | 2 | 251367 | ET466 | Guardacabo tipo 3 para cable de 3/8’’ |
| h1 | 4 | 251380 | ET353 | Tensor de acometidas |
| h2 | 1 | ET418 | Tensor | |
| j´3 | 4 | 780351 | ET450 | Hebilla de acero inoxidable 5/8" |
| j3 | 4 | 780182 | ET450 | Metros de cinta de acero inoxidable 5/8 x 0,03" |
| j6 | 5 | 310410 | ET102 | Metros cable de acero galvanizado 3/8" |
| l1 | 1 | 6762554 | ET801 | Luminaria horizontal de sodio 70 W para vías secundarias (5) |
| n2 | 2 | 201029 | ET461 | Perno de ojo tipo 2 (5/8” x 254 mm) (6) |
| o45 | 12 | 310418 | ET121 | Metros de cable desnudo de cobre calibre 4 AWG |
| o90 | 6 | 6762329 | GSCC009 | Metros de cable GSCC009/012 Neutro Auto soportado Al 3x95+54,6 mm^2 |
| P | 3 | 170892 | GSCC016 | DPS 12 kV 10 kA |
| p5 | 2 | 230957 | GSS002 | Poste de concreto de 12 m 750 kgf (7) |
| r5 | 2 | 251365 | ET417 | Percha porta aislador de un puesto |
| S | 3 | 6762115 | E-MT-001 | Cortacircuito de cañuela 100 A 15 Kv |
| s14 | 8 | 274304 | ET302 | Conector terminal de compresión tipo pala 2 huecos, 4/0 AWG (8) |
| s19 | 2 | 274274 | ET303 | Conector de compresión en ranuras paralelas tipo 3 (9) |
| s20 | 2 | 274275 | ET-303 | Conector de compresión en ranuras paralelas tipo 4 |
| s95 | 3 | ET356 | Conector cuña con estribo 4/0 –2 AWG (10) | |
| T | 1 | GST001 | Transformador de distribución hasta 225 kVA, peso menor a 800 kg, 11400 V-208 / 120 V | |
| t2 | 4 | 251375 | ET-455 | Espárrago de 16 x 508 mm (5/8” x 20”) |
| t5 | 4 | 251363 | ET-456 | Tornillo de carruaje 5/8” x 1 ½” |
| t10 | 4 | 251364 | ET-457 | Tornillo de acero galvanizado de 5/8’’ x 5” |
| t20 | 8 | Tornillo de bronce para borna terminal | ||
| u | 1 | 201074 | ET492 | Sistema de puesta a tierra en acero |
| z7 | 4 | 274298 | ET-431 | Abrazadera de una salida tipo 2, 140 mm (11) |
| z13 | 3 | 274312 | ET-432 | Abrazadera de dos salidas tipo 3, 180 mm (12) |
| z17 | 2 | Abrazadera de 180 mm para soporte de luminaria en vías Secundarias | ||
| z19 | 4 | 274285 | ET-436 | Abrazadera en U tipo 1, 150 mm (13) |
ALTERNATIVAS:
(1) El aislador tipo Line Post puede incluir o no el porta aislador. Debe incluirse o no según el caso.
(2) Seleccionar el Tablero según las opciones de la ET531.
(3) Su instalación es opcional.
(4) El fusible que aparece en lista es una referencia, consulte la ET505 para su selección adecuada.
(5) La luminaria que aparece en lista es una referencia, consulte la ET801 para su selección adecuada.
(6) Abrazadera de una salida z7, tornillo de carruaje t5 y tuerca de ojo alargado m7.
(7) Poste metálico (ET208) o Poste de Fibra (ET205). Poste de 14 m para cumplimiento fotométrico.
(8) El conector que aparece en la lista es una referencia, consulte la ET302 para su selección adecuada.
(9) El conector que aparece en la lista es una referencia, consulte la ET303 para su selección adecuada.
(10) El conector que aparece en la lista es una referencia, consulte la ET356 para su selección adecuada.
(11) La abrazadera que aparece en la lista es una referencia, consulte la ET431 para su selección adecuada. Para transformadores de 112,5 kVA y 150 kVA, utilizar abrazaderas de 3” z11.
(12) La abrazadera que aparece en la lista es una referencia, consulte la ET432 para su selección adecuada.
(13) La abrazadera que aparece en la lista es una referencia, consulte la ET436 para su selección adecuada.
NOTAS:
- Esta estructura es válida con transformador hasta 225 kVA.
- Consultar la norma CTU516.
- La selección de las abrazaderas depende del diámetro del poste (tipo, altura y carga) en el punto requerido.
- La separación entre postes es de 1,4 m y debe medirse a 70 cm del suelo.
- En caso de requerirse puede ser instalado el material CM12 Caja cubierta para CT´s, de la ET914.
- La altura de colocación de la percha porta aislador de un puesto (r5) para sujetar las acometidas debe permitir cumplir con las alturas de las acometidas sobre el piso en vías y en las fachadas de las viviendas.
- En caso de existir red abierta en baja tensión “existente” se debe instalar protección en baja tensión, bien sea con fusibles con su correspondiente seccionador porta fusible o con interruptor termo magnético. Ver normas de referencia CTU 516, CTU 516-1, CTR 510, ET-531 y ET-511.
- Deben cumplirse distancias de seguridad artículo 13 del RETIE, en caso contrario revisar las siguientes opciones:
- Uso de transformador acodado ver norma CTU502-3 Montaje en poste transformador aislado en MT Circuito en bandera.
NORMA EN PROCESO DE REVISIÓN
DATOS ADICIONALES
Revisión #
CTU 506-2
Fecha de entrada en vigencia
Actividad de los usuarios
Para hacer comentarios debe iniciar sesión o registrarse aquí