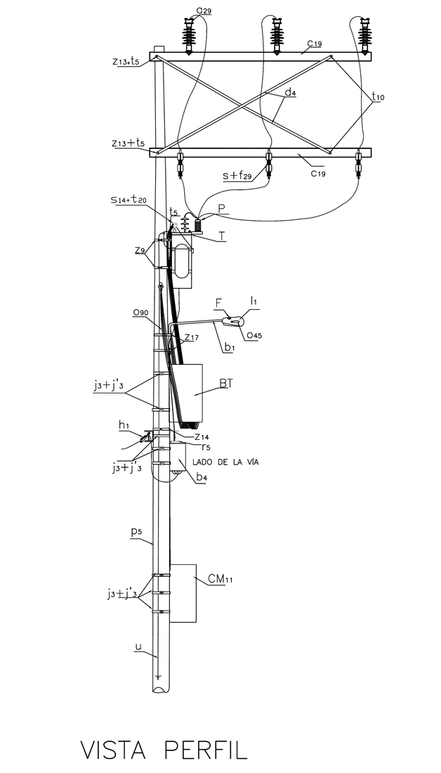
CTU502-4 Montaje en poste de transformador trifásico. Circuito en bandera con bujes de baja tensión superiores.
- Contenido
.jpg)
.jpg)
LISTA DE MATERIALES:
| SÍMB. | CANT. | CÓDIGO SAP | ESP. TÉCNICA | DESCRIPCIÓN |
| a 29 | 3 | 300548 | GSCC010 | Aislador Line Post Compuesto Cruceta Metálica 24kV (1) |
| b 1 | 1 | 6762530 | ET-832 | Soporte para luminaria horizontal Ø 3/4”x 1.5 m en vías secundarias |
| b 4 | 1 | 6762318 | ET-925 | Caja para derivación de acometidas. |
| BT | 1 | ET-531 | Tablero de protección de baja tensión para montaje en poste (2) | |
| c 19 | 2 | 6796010 | ET-419 | Cruceta metálica 2,5 m |
| CM 11 | 1 | 280030 | ET-933 | Caja para medición inteligente (3) |
| d 4 | 2 | 240080 | ET-406 | Diagonal metálica en ángulo tipo 3 (1½ ‘’x 1½’’ x 3/16’’ x 2,20m) |
| F | 1 | 6762325 | ET-810 | Fotocontrol 1000 W / 1800 VA 205 / 305 V, tipo NC |
| f 29 | 3 | 170826 | ET-505 | Fusible dual (4) |
| g 2 | 2 | ET-354 | Grapa retención aislada para red trenzada de B.T. | |
| g 5 | 3 | 251355 | ET-352 | Grapa para operar en caliente |
| h 1 | 4 | 251380 | ET-353 | Tensor de acometidas |
| j´ 3 | 5 | 780351 | ET-450 | Hebilla de acero inoxidable 5/8” |
| j 3 | 3 | 780182 | ET-450 | Metros de cinta de acero inoxidable 5/8”x0,03” |
| l 1 | 1 | 6762554 | ET-801 | Luminaria horizontal de sodio 70 W para vías secundarias (5) |
| m 7 | 1 | 251362 | ET-454 | Tuerca de ojo alargado 5/8” |
| n 2 | 1 | 201029 | ET-461 | Perno de ojo tipo 2 ( 5/8” x 254 mm ) |
| o 45 | 12 | 310418 | ET-121 | Metros de cable desnudo de cobre calibre 4 AWG |
| o 90 | 6 | 6762329 | GSCC009 | Metros de cable GSCC009/012 Neutro Auto soportado Al 3x95+54,6 mm 2 |
| P | 3 | 170892 | GSCC016 | DPS 12 kV 10 kA |
| p 5 | 1 | 230957 | GSS002 | Poste de concreto de 12 m 750 kgf (6) |
| r 5 | 2 | 251365 | ET-417 | Percha porta aislador de un puesto |
| S | 3 | 6762115 | E-MT-001 | Cortacircuito de cañuela 100 A 15 kV |
| s 14 | 8 | 274304 | ET-302 | Conector terminal de compresión tipo pala 2 huecos, 4/0 AWG (7) |
| s 19 | 2 | 274274 | ET-303 | Conector de compresión en ranuras paralelas tipo 3 (8) |
| s 95 | 3 | ET-356 | Conector cuña con estribo 4/0 – 2 AWG (9) | |
| s 141 | 4 | ET-306 | Conector de tornillo con chaqueta aislante, tipo 2 (10) | |
| T | 1 | GST001 | Transformador de distribución hasta 150 kVA y peso menor a 700 kg,11 400 V - 208/120 V | |
| t 5 | 8 | 251363 | ET-456 | Tornillo de carruaje 5/8” x 1 ½” |
| t 10 | 2 | 251364 | ET-457 | Tornillo de acero galvanizado 5/8” x 5” |
| t 20 | 8 | Tornillo de bronce para borna terminal | ||
| u | 1 | 201074 | ET-492 | Sistema de puesta a tierra en acero |
| z 9 | 2 | 274300 | ET-431 | Abrazadera de una salida tipo 4, 200 mm (11) |
| z 13 | 2 | 274312 | ET-432 | Abrazadera de dos salidas tipo 3, 180 mm (12) |
| z 14 | 2 | 274311 | ET-432 | Abrazadera de dos salidas tipo 4, 200 mm (12) |
| z 17 | 2 | Abrazadera de 180 mm para soporte de luminaria en vías secundarias |
ALTERNATIVAS:
(1) El aislador tipo Line Post puede incluir o no el porta aislador . Debe incluirse o no según el caso.
(2) Seleccionar el Tablero según las opciones de la ET-531 .
(3) Su instalación es opcional.
(4) El fusible que aparece en lista es una referencia, consulte la ET-505 para su selección adecuada.
(5) La luminaria que aparece en lista es una referencia, consulte la ET-801 para su selección adecuada.
(6) Poste metálico ( ET-208 ) o Poste de Fibra ( ET-205 ). Poste de 14 m para cumplimiento fotométrico.
(7) El conector que aparece en la lista es una referencia, consulte la ET-302 para su selección adecuada.
(8) El conector que aparece en la lista es una referencia, consulte la ET-303 para su selección adecuada.
(9) El conector que aparece en la lista es una referencia, consulte la ET-356 para su selección adecuada.
(10) El conector que aparece en la lista es una referencia, consulte la ET-306 para su selección adecuada.
(11) La abrazadera que aparece en la lista es una referencia, consulte la ET-431 para su selección adecuada. Para transformadores de 112,5 kVA y 150 kVA, utilizar abrazaderas de 3” z 11 .
(12) La abrazadera que aparece en la lista es una referencia, consulte la ET-432 para su selección adecuada.
NOTAS:
- Esta estructura es válida con transformador hasta 150 kVA y peso menor a 700 kg.
- Consultar la norma CTU 516 .
- En los transformadores con conector tipo ojo que necesite un número mayor de salidas puede utilizar platina de cobre (s 33 ), tornillo de bronce (t 20 ) y conector terminal tipo pala (s 13 ).
- Los cortacircuitos se instalarán del lado contrario del transformador. Se ubicará encima del transformador si hay elementos cercanos que afecten su instalación o dificultad en el cambio de los portafusibles.
- La selección de las abrazaderas depende del diámetro del poste (tipo, altura y carga ) en el punto requerido.
- Para la selección del poste se debe tener en cuenta además del peso del transformador el tipo de estructura en MT que se utilice: de paso, de bandera, cambios de dirección y retenciones.
- En estructuras de MT de retención y cambios de dirección, con transformador, se deben utilizar postes con resistencia de rotura mínima de 1050 kgf.
- En caso de requerirse puede ser instalado el material CM 12 Caja cubierta para CT´s, de la ET-914 .
- La altura de colocación de la percha porta aislador de un puesto (r 5 ) para sujetar las acometidas debe permitir cumplir con las alturas de las acometidas sobre el piso en vías y en las fachadas de las viviendas.
- En caso de existir red abierta en baja tensión “ existente ” se debe instalar protección en baja tensión , bien sea con fusibles con su correspondiente seccionador porta fusible o con interruptor termo magnético. Ver normas de referencia CTU 516 , CTU 516-1 , CTR 510 , ET-531 y ET-511 .
- Deben cumplirse distancias de seguridad artículo 13 del RETIE, en caso contrario revisar las siguientes opciones:
- Uso de otra disposición. Ver familia de normas CTU500 a CTU520.
- Uso de transformador acodado ver norma CTU502-3 Montaje en poste transformador aislado en MT Circuito en bandera.
NORMA EN PROCESO DE REVISIÓN
DATOS ADICIONALES
Revisión #
0
Fecha de entrada en vigencia
Actividad de los usuarios
Para hacer comentarios debe iniciar sesión o registrarse aquí