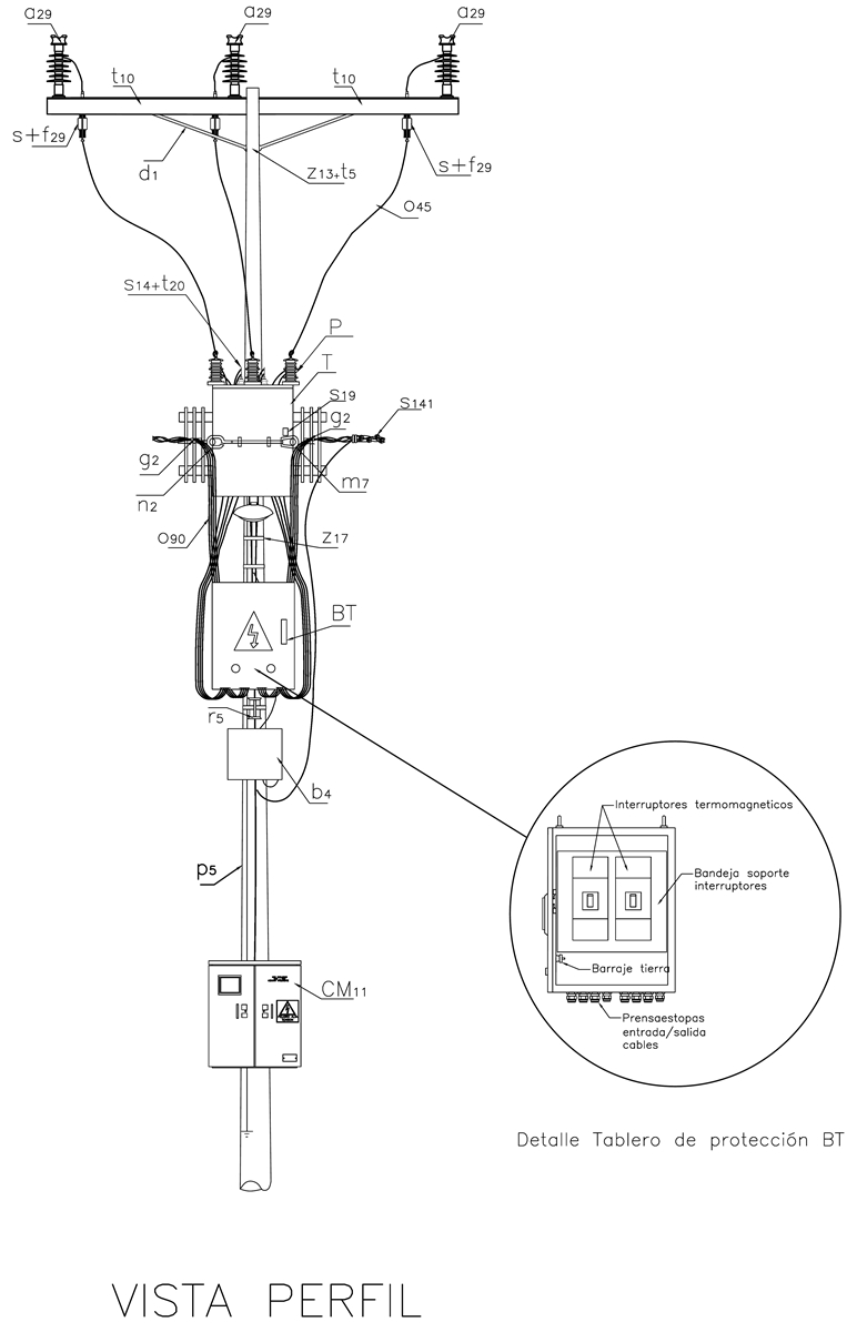
CTU501-1 Montaje en poste de transformador trifásico. Circuito tangencial. Disposición horizontal de paso.
- Contenido
LISTA DE MATERIALES:
| SÍMB. | CANT. | CÓDIGO | ESP. TÉCNICA | DESCRIPCIÓN |
| a29 | 3 | 300548 | GSCC010 | Aislador Line Post Compuesto Cruceta Metálica 24kV (1) |
| b1 | 1 | 6762530 | ET832 | Soporte para luminaria horizontal f3/4”x2m en vías secundarias |
| b4 | 1 | 6762318 | ET925 | Caja para derivación de acometidas. |
| BT | 1 | ET531 | Tablero de protección de baja tensión para montaje en poste (2) | |
| c19 | 1 | 6796010 | ET419 | Cruceta metálica 2,5 m |
| CM11 | 1 | 280030 | ET933 | Caja para medición inteligente (3) |
| d1 | 2 | 240083 | ET405 | Diagonal metálica en varilla tipo 1 |
| F | 1 | 6762325 | ET810 | Fotocontrol 1000 W / 1800 VA 205 / 305 V, tipo NC |
| f29 | 3 | 170826 | ET505 | Fusible dual (4) |
| g2 | 2 | ET354 | Grapa retención aislada para red trenzada de B.T. | |
| g5 | 3 | 251355 | ET352 | Grapa para operar en caliente |
| h1 | 4 | 251380 | ET353 | Tensor de acometidas |
| j´3 | 5 | 780351 | ET450 | Hebilla de acero inoxidable 5/8” |
| j3 | 3 | 780182 | ET450 | Metros de cinta de acero inoxidable 5/8”x0,03” |
| l1 | 1 | 6762554 | ET801 | Luminaria horizontal de sodio 70 W para vías secundarias (5) |
| m7 | 1 | 251362 | ET454 | Tuerca de ojo alargado 5/8” |
| n2 | 1 | 201029 | ET461 | Perno de ojo tipo 2 (5/8” x 254 mm) |
| o45 | 12 | 310418 | ET121 | Metros de cable desnudo de cobre calibre 4 AWG |
| o90 | 6 | 6762329 | GSCC009 | Metros de cable GSCC009/012 Neutro Auto soportado Al 3x95+54,6 mm^2 |
| P | 3 | 170892 | GSCC016 | DPS 12 kV 10 kA |
| p5 | 1 | 230957 | GSS002 | Poste de concreto de 12 m 750 kg (6) |
| r5 | 2 | 251365 | ET417 | Percha porta aislador de un puesto |
| S | 3 | 6762115 | E-MT-001 | Cortacircuito de cañuela 100 A 15 kV |
| s14 | 8 | 274304 | ET302 | Conector terminal de compresión tipo pala 2 huecos, 4/0 AWG (7) |
| s19 | 2 | 274274 | ET303 | Conector de compresión en ranuras paralelas tipo 3 (8) |
| s95 | 3 | ET356 | Conector cuña con estribo 4/0 – 2 AWG (9) | |
| s141 | 4 | ET306 | Conector de tornillo con chaqueta aislante, tipo 2 (10) | |
| T | 1 | GST001 | Transformador de distribución hasta 150 kVA y peso menor a 700 kg, 11400V- 208 / 120 V | |
| t5 | 8 | 251363 | ET456 | Tornillo de carruaje 5/8” x 1 ½” |
| t10 | 4 | 251364 | ET457 | Tornillo de acero galvanizado 5/8” x 5” |
| t20 | 8 | Tornillo de bronce para borna terminal | ||
| u | 1 | 201074 | ET492 | Sistema de puesta a tierra en acero |
| z7 | 1 | 274298 | ET-431 | Abrazadera de una salida tipo 2, 140 mm (11) |
| z9 | 2 | 274300 | ET431 | Abrazadera de una salida tipo 4, 180 mm (11) |
| z13 | 2 | 274312 | ET432 | Abrazadera de dos salidas tipo 3, 180 mm (12) |
| z14 | 2 | 274311 | ET432 | Abrazadera de dos salidas tipo 4, 200 mm (13) |
| z17 | 2 | Abrazadera de 180 mm para soporte de luminaria en vías secundarias |
ALTERNATIVAS:
(1) El aislador tipo Line Post puede incluir o no el porta aislador. Debe incluirse o no según el caso.
(2) Seleccionar el Tablero según las opciones de la ET531.
(3) Su instalación es opcional.
(4) El fusible que aparece en lista es una referencia, consulte la ET505 para su selección adecuada.
(5) La luminaria que aparece en lista es una referencia, consulte la ET801 para su selección adecuada.
(6) Poste metálico (ET208) o Poste de Fibra (ET205). Poste de 14 m para cumplimiento fotométrico.
(7) El conector que aparece en la lista es una referencia, consulte la ET302 para su selección adecuada.
(8) El conector que aparece en la lista es una referencia, consulte la ET303 para su selección adecuada.
(9) El conector que aparece en la lista es una referencia, consulte la ET356 para su selección adecuada.
(10) El conector que aparece en la lista es una referencia, consulte la ET306 para su selección adecuada.
(11) La abrazadera que aparece en la lista es una referencia, consulte la ET431 para su selección adecuada. Para transformadores de 112,5 kVA y 150 kVA, utilizar abrazaderas de 3” z11.
(12) La abrazadera que aparece en la lista es una referencia, consulte la ET432 para su selección adecuada.
(13) La abrazadera que aparece en la lista es una referencia, consulte la ET436 para su selección adecuada.
NOTAS:
- Esta estructura es válida con transformador hasta 150 kVA y peso menor a 700 kg.
- Consultar la norma CTU516.
- En los transformadores con conector tipo ojo que necesite un número mayor de salidas puede utilizar platina de cobre (s33), tornillo de bronce (t20) y conector terminal tipo pala (s13).
- Los cortacircuitos se instalarán del lado contrario del transformador. Se ubicará encima del transformador si hay elementos cercanos que afecten su instalación o dificultad en el cambio de los portafusibles.
- La selección de las abrazaderas depende del diámetro del poste (tipo, altura y carga) en el punto requerido.
- Para la selección del poste se debe tener en cuenta además del peso del transformador el tipo de estructura en MT que se utilice: de paso, de bandera, cambios de dirección y retenciones.
- En estructuras de MT de retención y cambios de dirección, con transformador, se deben utilizar postes con resistencia de rotura mínima de 1050 kgf.
- En caso de requerirse puede ser instalado el material CM12 Caja cubierta para CT´s, de la ET914.
- La altura de colocación de la percha porta aislador de un puesto (r5) para sujetar las acometidas debe permitir cumplir con las alturas de las acometidas sobre el piso en vías y en las fachadas de las viviendas.
- En caso de existir red abierta en baja tensión “existente” se debe instalar protección en baja tensión, bien sea con fusibles con su correspondiente seccionador porta fusible o con interruptor termo magnético. Ver normas de referencia CTU 516, CTU 516-1, CTR 510, ET-531 y ET-511.
- Deben cumplirse distancias de seguridad artículo 13 del RETIE, en caso contrario revisar las siguientes opciones:
- Uso de transformador acodado ver norma CTU502-3 Montaje en poste transformador aislado en MT Circuito en bandera.
NORMA EN PROCESO DE REVISIÓN
DATOS ADICIONALES
Revisión #
4
Fecha de entrada en vigencia
Actividad de los usuarios
Para hacer comentarios debe iniciar sesión o registrarse aquí