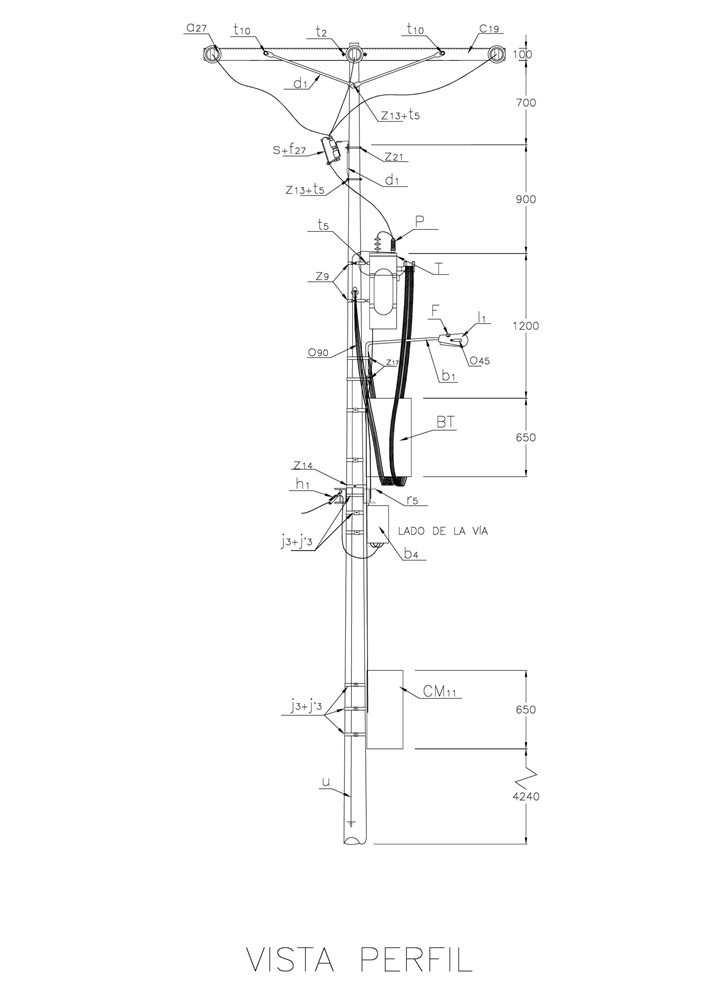
CTU500-1 Montaje en poste de transformador trifásico. Hacia la vía con final de circuito.
- Contenido
LISTA DE MATERIALES
| SÍMB. | CANT. | CÓDIGO | ESP. TÉCNICA | DESCRIPCIÓN |
| a 27 | 3 | 300546 | GSCC010 | Aislador de suspensión polimérico 24 kV |
| b 1 | 1 | 6762530 | ET-832 | Soporte para luminaria horizontal Ø 3/4”x 1.5 m en vías secundarias |
| b 4 | 1 | 6762318 | ET-925 | Caja para derivación de acometidas. |
| BT | 1 | ET-531 | Tablero de protección de baja tensión para montaje en poste (1) | |
| c 19 | 3 | 6796010 | ET-419 | Cruceta metálica 2,5 m |
| CM 11 | 1 | 280030 | ET-933 | Caja para medición inteligente (2) |
| d 1 | 6 | 240083 | ET-405 | Diagonal metálica en varilla tipo 1 |
| F | 1 | 6762325 | ET-810 | Fotocontrol 1000 W / 1800 VA 205 / 305 V, tipo NC |
| f 27 | 3 | ET-505 | Fusible dual (3) | |
| g 0 | 3 | 251378 | ET-350 | Grapa terminal tipo recto para cables entre 6 AWG – 3/0 AWG |
| g 2 | 2 | ET-354 | Grapa retención aislada para red trenzada de B.T. | |
| g 5 | 3 | 251355 | ET-352 | Grapa para operar en caliente |
| h 1 | 4 | 251380 | ET-353 | Tensor de acometidas |
| j´ 3 | 5 | 780351 | ET-450 | Hebilla de acero inoxidable 5/8” |
| j 3 | 3 | 780182 | ET-450 | Metros de cinta de acero inoxidable 5/8”x0,03” |
| j 8 | 1 | Templete (4)(5) | ||
| l 1 | 1 | 6762554 | ET-801 | Luminaria horizontal de sodio 70 W para vías secundarias (6) |
| m 7 | 1 | 251362 | ET-454 | Tuerca de ojo alargado 5/8" |
| n 2 | 1 | 201029 | ET-461 | Perno de ojo tipo 2 (5/8" x 254 mm) |
| n 5 | 3 | 201013 | ET-461 | Perno de ojo tipo 5 (5/8" x 545 mm) |
| o 45 | 12 | 310418 | ET-121 | Cable desnudo de cobre calibre 4 AWG |
| o 90 | 6 | 6762329 | GSCC009 | Metros de cable GSCC009/012 Neutro Auto soportado Al 3x95+54,6 mm 2 |
| P | 3 | 170892 | GSCC016 | DPS 12 kV 10 kA |
| p 6 | 1 | 230966 | GSS002 | Poste de concreto de 12 m 1 050 kg (7) |
| r 5 | 2 | 251365 | ET-417 | Percha porta aislador de un puesto |
| S | 3 | 6762115 | E-MT-001 | Cortacircuito de cañuela 100 A 15 kV |
| s 13 | 8 | 6462177 | ET-302 | Conector terminal de compresión tipo pala 2 huecos, 2/0 AWG (8) |
| s 19 | 2 | 274274 | ET-303 | Conector de compresión en ranuras paralelas tipo 3 (9) |
| s 95 | 3 | ET-356 | Conector cuña con estribo 4/0 – 2 AWG (10) | |
| s 141 | 4 | ET-306 | Conector de tornillo con chaqueta aislante, tipo 2 (11) | |
| T | 1 | GST001 | Transformador de distribución hasta 150 kVA, peso menor a 700 kg, 11 400 V - 208 / 120 V | |
| t 2 | 2 | 251375 | ET-455 | Espárrago de 16 x 508 mm (5/8" x 20") |
| t 5 | 8 | 251363 | ET-456 | Tornillo de carruaje 5/8" x 1 ½” |
| t 10 | 6 | 251364 | ET-457 | Tornillo de acero galvanizado 5/8" x 5" |
| t 20 | 8 | Tornillo de bronce para borna terminal | ||
| u | 1 | 201074 | ET-492 | Sistema de puesta a tierra en acero |
| z 9 | 2 | 274300 | ET-431 | Abrazadera de una salida tipo 4, 200 mm (12) |
| z 13 | 2 | 274312 | ET-432 | Abrazadera de dos salidas tipo 3, 180 mm (13) |
| z 14 | 2 | 274311 | ET-432 | Abrazadera de dos salidas tipo 4, 200 mm (13) |
| z 17 | 2 | Abrazadera de 180 mm para soporte de luminaria en vías secundarias | ||
| z 21 | 1 | 274286 | ET-436 | Abrazadera en U tipo 3, 210 mm (14) |
ALTERNATIVAS:
(1) Seleccionar el Tablero según las opciones de la ET-531 . Ejemplo: Para transformador de 5 VA, Tablero con un interruptor de 3x25 A, 10 kA.
(2) Su instalación es opcional.
(3) El fusible que aparece en lista es una referencia, consulte la ET-505 para su selección adecuada
(4) Templete según se requiera, existen las siguientes opciones: LA 411, LA 412, LA 413, LA 414 y LA 418.
(5) En caso de no poder instalar templete utilizar poste auto soportado.
(6) La luminaria que aparece en lista es una referencia, consulte la ET-801 para su selección adecuada.
(7) Poste metálico ( ET-208 ) o Poste de Fibra ( ET-205 ). Poste de 14 m para cumplimiento fotométrico.
(8) El conector que aparece en la lista es una referencia, consulte la ET-302 para su selección adecuada.
(9) El conector que aparece en la lista es una referencia, consulte la ET-303 para su selección adecuada.
(10) El conector que aparece en la lista es una referencia, consulte la ET-356 para su selección adecuada.
(11) El conector que aparece en la lista es una referencia, consulte la ET-306 para su selección adecuada.
(12) La abrazadera que aparece en la lista es una referencia, consulte la ET-431 para su selección adecuada. Para transformadores de 112,5 kVA y 150 kVA, utilizar abrazaderas de 3” z11.
(13) La abrazadera que aparece en la lista es una referencia, consulte la ET-432 para su selección adecuada.
(14) La abrazadera que aparece en la lista es una referencia, consulte la ET-436 para su selección adecuada.
NOTAS:
- Esta estructura es válida con transformador hasta 150 kVA y peso menor a 700 kg.
- Consultar la norma CTU 516 .
- En los transformadores con conector tipo ojo que necesite un número mayor de salidas puede utilizar platina de cobre (s 33 ) y tornillo de bronce (t 20 ) y conector terminal tipo pala (s 13 ).
- Los cortacircuitos se instalarán del lado contrario del transformador. Se ubicará encima del transformador si hay elementos cercanos que afecten su instalación o dificultad en el cambio de los portafusibles.
- La selección de las abrazaderas depende del diámetro del poste (tipo, altura y carga ) en el punto requerido.
- Para la selección del poste se debe tener en cuenta además del peso del transformador el tipo de estructura en MT que se utilice: de paso, de bandera, cambios de dirección y retenciones.
- En estructuras de MT de retención y cambios de dirección, con transformador, se deben utilizar postes con resistencia de rotura mínima de 1050 kgf.
- En caso de requerirse puede ser instalado el material CM 12 Caja cubierta para CT´s, de la ET-914 .
- La altura de colocación de la percha porta aislador de un puesto (r 5 ) para sujetar las acometidas debe permitir cumplir con las alturas de las acometidas sobre el piso en vías y en las fachadas de las viviendas.
- En caso de existir red abierta en baja tensión “ existente ” se debe instalar protección en baja tensión , bien sea con fusibles con su correspondiente seccionador porta fusible o con interruptor termo magnético. Ver normas de referencia CTU 516 , CTU 516-1 , CTR 510 , ET-531 y ET-511 .
DATOS ADICIONALES
Revisión #
CTU 500-1
Fecha de entrada en vigencia
Actividad de los usuarios
Para hacer comentarios debe iniciar sesión o registrarse aquí