AP304 Montaje de luminarias en red aérea para la iluminación de canchas deportivas de nivel recreativo (Existente)
- Contenido
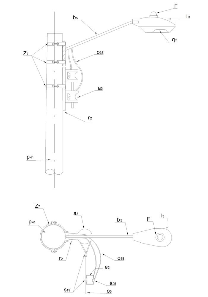
LISTA DE MATERIALES
| SÍMB. | CANT. | CÓDIGO SAP | ESP. TÉCNICA | DESCRIPCIÓN |
| a 3 | 2 | 6762120 | ET-254 | Aislador tipo carrete ANSI 53-3 |
| b 5 | 1 | ET-830 | Soporte sencillo para avenidas con abrazadera 140 mm a poste de concreto | |
| e 2 | 2 | ET-361 | Estribo para baja tensión | |
| F | 1 | 6762137 | ET-810 | Fotocontrol 1000 W / 1800 VA 185 / 305 V, tipo N.C. |
| l 3 | 1 | 6762312 | ET-802 | Luminaria para bombilla de sodio 250 W |
| o 17 | ET-106 | Metros de cable de aluminio IASC calibre 4 AWG | ||
| o 38 | 4 | ET-123 | Metros de cable de cobre aislado 600 V calibre 14 AWG | |
| p 41 | 1 | ET-201 | Poste de concreto 12 m 510 kg para A.P. (2) | |
| q 2 | 1 | 6762134 | ET-822 | Bombilla de sodio HID 250 W , tubular clara 100 V (1) |
| r 2 | 1 | 6762159 | ET-417 | Percha porta aislador 2 puestos 3 huecos |
| s 19 | 4 | 6762145 | ET-303 | Conector de compresión en ranuras paralelas tipo 3 |
| s 25 | 5 | ET-304 | Conector tipo tornillo para acometida | |
| z 7 | 1 | 6762235 | ET-431 | Abrazadera de una salida tipo 2 (3) |
(1) La luminaria y el tipo de fuente dependerá del proyecto de diseño de alumbrado.
(2) La longitud del poste puede ser 12 ó 14 metros dependiendo de las luminarias y el tipo de fuente utilizada.
(3) Cinta de acero inoxidable de 1/2" y hebillas.
DATOS ADICIONALES
Revisión #
1
Fecha de entrada en vigencia
Actividad de los usuarios
Para hacer comentarios debe iniciar sesión o registrarse aquí