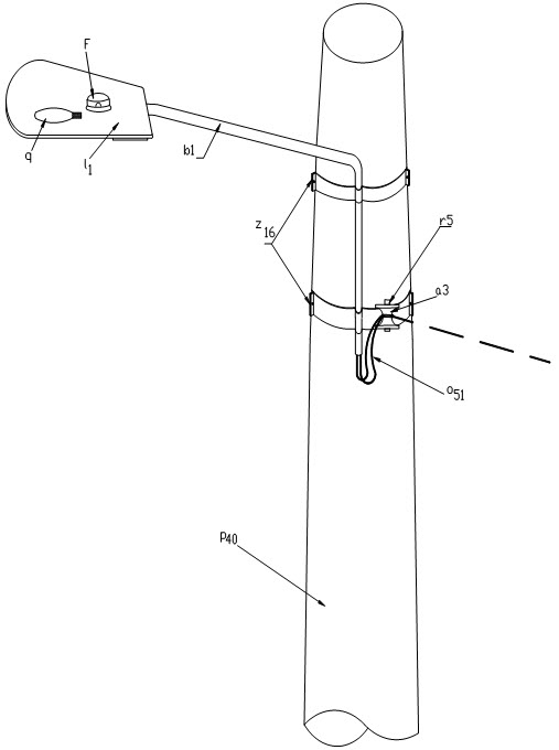
AP303 Prolongación desde una red principal de B.T. a una luminaria
- Contenido
LISTA DE MATERIALES
| SÍMB. | CANT. | CÓDIGO SAP | ESP. TÉCNICA | DESCRIPCIÓN |
| a 3 | 1 | 6762120 | ET-254 | Aislador tipo carrete ANSI 53-3 |
| b 1 | 1 | ET-830 | Soporte para luminaria horizontal vías secundarias | |
| F | 1 | 6762137 | ET-810 | Fotocontrol 1000 W / 1800 VA 185/ 305 V, tipo NC |
| l 1 | 1 | 6762254 | ET-801 | Luminaria para bombilla de sodio 70 W |
| o 51 | 30 | ET-110 | Metros de cable de cobre aislado 12 AWG con neutro concéntrico 600 V | |
| p 40 | 1 | ET-201 | Poste de concreto 10 m 510 kg para A.P. | |
| q | 1 | 6762336 | ET-820 | Bombilla de sodio 70 W tubular clara 90 V |
| r 5 | 1 | 6762220 | ET-417 | Percha porta aislador de un puesto |
| z 16 | 2 | Abrazadera de 140 mm para soporte de luminaria en vías secundarias |
DATOS ADICIONALES
Revisión #
1
Fecha de entrada en vigencia
Actividad de los usuarios
Para hacer comentarios debe iniciar sesión o registrarse aquí