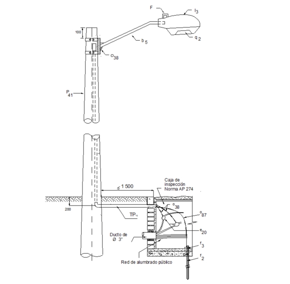
AP301 Montaje de luminaria A.P. con soporte sencillo en poste de concreto – Vías arterias
- Contenido
LISTA DE MATERIALES
| SÍMB. | CANT. | CÓDIGO SAP | ESP. TÉCNICA | DESCRIPCIÓN |
| b 5 | 1 | ET-832 | Soporte sencillo para avenidas poste de concreto abrazadera tipo 1 "140 mm " | |
| e 20 | 2 | 6762545 | ET-708 | Empalme en resina para B.T. |
| F | 1 | 6762137 | ET-810 | Fotocontrol 1000 W / 1800 VA 185 / 305 V, tipo NC |
| l 3 | 1 | 6762312 | ET-802 | Luminaria para bombilla de sodio 250 W (1) |
| o 38 | 30 | ET-123 | Metros de cable de cobre calibre 14 AWG THW a 600V | |
| p 41 | 1 | ET-201 | Poste de concreto 12 m 510 kg para A.P. (2) | |
| q 2 | 1 | 6762134 | ET-822 | Bombilla de sodio HID 250 W , tubular clara 100 V (1) |
| O 87 | 15 | ET-121 | Metros de alambre de cobre desnudo calibre 8 AWG | |
| f 2 | 1 | 6762280 | ET-490 | Varilla de puesta a tierra Phi 5/8” x 2.44 m con conector tipo tornillo |
| f 3 | 1 | ET-490 | Conector para varilla de puesta a tierra 5/8” | |
| TP 10 | 1,5 | ET-607 | Metros de ductería PVC conduit tipo pesado de ½ " (minimo) |
(1) La luminaria , el tipo de fuente y su potencia estará de acuerdo con la vía a iluminar.
(2) Los postes pueden ser de 12, 14 o 16 metros de altura según la vía a iluminar.
NOTAS:
- En las acometidas que utilicen empalmes para derivaciones se instalarán conectores aislados y a prueba de intemperie.
- La caja de inspección debe ubicarse a una distancia máxima de 1,5 metros medidos desde el poste.
- El soporte se debe ubicar a 10 cm desde la cima del poste.
- La carcasa de la luminaria debe ir aterrizada.
DATOS ADICIONALES
Revisión #
1
Fecha de entrada en vigencia
Actividad de los usuarios
Para hacer comentarios debe iniciar sesión o registrarse aquí