AP400 Acometidas subterráneas para circuitos de alumbrado público
- Contenido

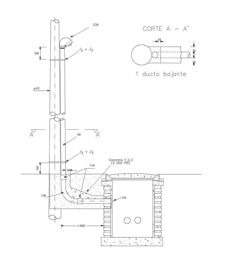
LISTA DE MATERIALES
| SÍMB. | CANT. | CÓDIGO SAP | ESP. TÉCNICA | DESCRIPCIÓN |
| j' 3 | 2 | 6764362 | ET450 | Hebilla de acero inoxidable 5/8” |
| j 3 | 2 | ET450 | Metros de cinta de acero inoxidable 5/8”x 0,03” | |
| p 40 | 1 | 6762450 | ET201 | Poste de concreto 10 m, tipo linea. |
| x 16 | 1 | ET-603 | Boquilla galvanizada 3" | |
| x 26 | 1 | ET605 | Capacete galvanizado 3" | |
| x 36 | 1 | ET604 | Codo galvanizado 3" x 90 | |
| x 46 | 2 | ET602 | Uniones galvanizadas de 3" | |
| x 6 | 8 | 6764379 | ET601 | Metros de tubo galvanizado 3" |
NOTAS:
- La caja de inspección puede ser: para alumbrado público y acometidas de baja tensión (Norma AP274 ), caja de inspección sencilla (Norma CS275 ) o caja de inspección doble (Norma CS276 ) dependiendo de la cantidad de circuitos concurrentes de MT, BT y AP.
- El diámetro del ducto depende de la cantidad y calibre de los conductores utilizados. El ducto de 3” es una referencia para circuitos de A.P.
- Para alimentar luminarias se utilizaran postes de concreto de A.P. con tubo interior y en postes tipo línea desde la red subterránea de A.P, el tubo es de ½” galvanizado con capacete y de altura lo más próxima al soporte de la luminaria .
- Dimensiones en milímetros.
DATOS ADICIONALES
Revisión #
1
Fecha de entrada en vigencia
Actividad de los usuarios
Para hacer comentarios debe iniciar sesión o registrarse aquí