Pasar al contenido principal
Navegación principal
HOME
NORMAS TÉCNICAS
ESPECIFICACIONES TÉCNICAS LOCALES
ESPECIFICACIONES TÉCNICAS CORPORATIVAS
CONTACTO
Menú de cuenta de usuario
Iniciar sesión
Sobrescribir enlaces de ayuda a la navegación
Inicio
Normas Técnicas
ALUMBRADO PÚBLICO
Centros De Transformación
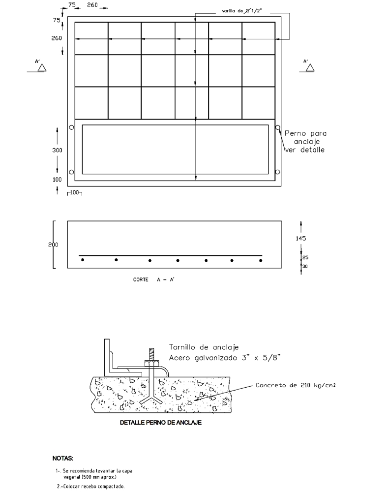
AP525-1 Centro De Transformación De Pedestal Para A.P. - Obra Civil Transformador De Pedestal
AP525-1 Centro de transformación de pedestal para A.P. - Obra civil transformador de pedestal
Contenido
Nota:
La presente norma aplica para instalaciones existentes.
DATOS ADICIONALES
Revisión #
1
Fecha de entrada en vigencia
02 Julio 2013
HERRAMIENTAS
Descargar archivo
RELACIONADAS
Actividad de los usuarios
Para hacer comentarios debe
iniciar sesión
o registrarse
aquí
Estado del comentario
X
×
Actividad de los usuarios
Para hacer comentarios debe iniciar sesión o registrarse aquí