AE294 Instalación equipo de medida en MT compacto / combinado para provisional obra
- Contenido
F
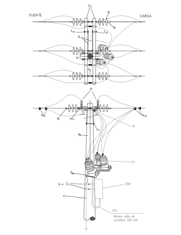
MONTAJE DE EQUIPO DE MEDIDA EN MEDIA TENSIÓN COMPACTO / COMBINADO (CT´s Y PT´s)
Caso cliente (Construcción tangencial)
LISTADO DE MATERIALES
| SÍMB. | CANT. | CÓDIGO | ESP. TÉCNICA | DESCRIPCIÓN |
| a 1 | 12 | 6762327 | E-MT-011 | Aislador de suspensión ANSI 52-1 (1) |
| c 4 | 2 | 251506 | ET419 | Cruceta de madera de 2,5 m |
| d 1 | 4 | 6762466 | ET405 | Diagonal metalica en varilla tipo 1 |
| g 1 | 6 | 6762180 | ET350 | Grapa terminal tipo recto para cable |
| M | 3 | 6762301 | ET513 | Seccionador monopolar de 400 A – 15 kV tipo cuchilla |
| m 7 | 3 | 6762209 | ET454 | Tuerca de ojo alargado 5/8” |
| n 5 | 3 | 6762181 | ET461 | Perno de ojo tipo 5 (5/8” x 545 mm) |
| P | 6 | 6781248 | E-MT-031 | DPS - Descargador de sobretensión óxido metálico 12 kV , 10 kA |
| p 6 | 1 | 6762467 | ET201 | Poste de concreto de 12 m 1050 kg (2) |
| EC | 1 | Equipo compacto / combinado (CT´s + PT´s) | ||
| s 26 | 3 | Conector tipo tornillo para puesta a tierra | ||
| s 75 | 14 | ET356 | Conector tipo tipo cuña | |
| t 2 | 2 | 6762255 | ET455 | Esparrago de 16 x508 mm (5/8" x 20") |
| u | 2 | Accesorios para puesta a tierra (3) | ||
| t 11 | 1 | 6762251 | ET457 | Tornillo de acero galvanizado 5/8” x 8” |
| t 10 | 4 | 6762213 | ET457 | Tornillo de acero galvanizado 5/8” x 5” |
| j 3 | 4 | 6762433 | ET450 | Metros de cinta en acero inoxidable de 5/8"X100 pies |
| j ´3 | 2 | 6764362 | ET450 | Hebilla 5/8" de acero inoxidable |
| CM 7 | 1 | 6778416 | Caja embutida para medidor de macromedición | |
| cm 2 | 4 | 330612 | ET119 | Cable multiconductor 12 x 12 AWG, 600 V |
ALTERNATIVAS:
- Aislador polimérico de suspensión 15 kV horquilla-ojo (Código 6762292).
- Poste de concreto de 12 m 1050 kg con puesta a tierra inmersa en el concreto ET215 (Código 6794547).
- Kit de puesta a tierra MT en acero inoxidable ET492 (Codigo 6790991)
NOTAS:
- Los descargadores de sobretensiones para líneas de 11.4kV y 13.2 kV serán de óxido metálico 12 kV, 10 kA.
- La referencia y capacidad del equipo compacto / combinado depende de los criterios de diseño.
RECOMENDACIONES PARA INSTALACIÓN Y OPERACIÒN:
- Realizar el cierre o apertura de cada juego de seccionadores de forma simultánea al momento de energizar o desenergizar el equipo.
- Instalar una tierra para el equipo compacto / combinado y otra tierra para los descargadores de sobretensiones, las dos puestas a tierra se aterrizan en mismo punto.
- La resistencia de puesta a tierra debe ser menor a 10 Ohm.
DATOS ADICIONALES
Revisión #
1
Fecha de entrada en vigencia
Actividad de los usuarios
Para hacer comentarios debe iniciar sesión o registrarse aquí