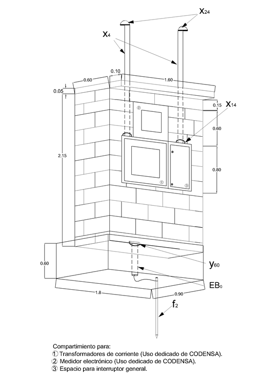
AE292-1 Provisional de Obra - Instalación de armario para equipo de medida y transformadores de corriente sobre muro estructural - Acometida y parcial aerea
- Contenido
LISTADO DE MATERIALES
| SÍMB. | CANT. | CÓDIGO SAP | ESP. TÉCNICA | DESCRIPCIÓN |
| 3 | ET-914 | Cajas para instalación de equipo de medida y transformadores de corriente en B.T. | ||
| EB0 | 1,5 | ET-610 | Metros de ductería PVC tipo liviano de 1/2" | |
| f2 | 1 | 6762280 | ET-490 | Varilla de puesta a tierra 5/8" x 2,44m |
| x4 | 3 | ET-601 | Metros de tubo metálico galvanizado tipo IMC o Rigid diámetro mínimo 2” (1) (4) | |
| x14 | 2 | ET-604 | Boquilla galvanizada (diámetro de acuerdo al tubo) | |
| x24 | 1 | ET-605 | Capacete galvanizado (diámetro de acuerdo al tubo) | |
| y60 | 1 | Boquilla en PVC de 1/2" |
1- La cantidad de tubería y capacetes depende de cómo se realice la alimentación y la salida del medidor. Aquí se está ilustrando cuando ambas se realizan en forma aérea.
2- Las dimensiones indicadas están en metros y corresponden a valores mínimos.
3- Altura mínima de la acometida sobre nivel de piso:
• En puntos de retención o hasta la parte inferior de la curva de goteo: 4800 mm
• En vías residenciales y comerciales sin tráfico de vehículos de carga: 5000 mm
• En vías con tráfico pesado: 5500 mm
Estas alturas son mayores a las indicadas en la sección 230-24 del Código Eléctrico Colombiano (Norma NTC 2050) ya que en la práctica algunos camiones superan estas alturas y producen daños en las redes.
4- El calibre de la acometida depende de la carga y de este calibre depende el diámetro de la tubería.
5- El muro debe realizar con ladrillo estructural y varilla de hierro de ¾”, para garantizar la estabilidad de la instalación.
6- La base del muro debe realizarse en concreto y debe sobresalir del piso 5cm como mínimo.
DATOS ADICIONALES
Revisión #
1
Fecha de entrada en vigencia
Actividad de los usuarios
Para hacer comentarios debe iniciar sesión o registrarse aquí