AE226 Macromedición BT con telemedida
- Contenido
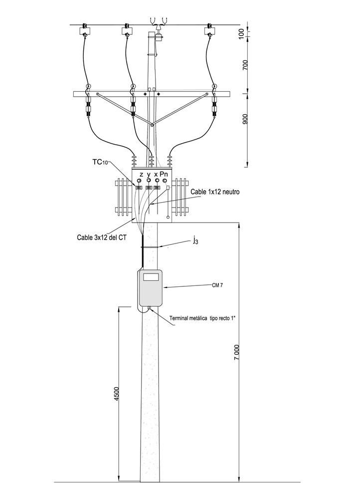
Vista frontal
Vista posterior
Despiece
NOTA : Dimensiones en mm.
LISTA DE MATERIALES
| SIMBOLO | CODIGO | ESP. TÉCNICA | CANTIDAD | DESCRIPCION |
| CM 16 | 163130 | 1 | Sello de seguridad ancla azul | |
| CM 7 | 163116 | 1 | Caja de Macromedición | |
| j´ 3 | 780351 | ET450 | 3 | Hebilla de acero inoxidable 5/8” |
| j 3 | 780182 | ET450 | 3 | Metros de cinta de acero inoxidable 5/8”x 0,03” |
| M 19 | 510254 | 1 | Bornera de prueba | |
| M 26 | 510282 | 1 | Medidor electrónico 3F-4H 5/10A 0.5s | |
| o 18 | 330609 | 5 | Metros de cable Cu 12 AWG monopolar | |
| TC 10 | Ver (1) | 3 | Transformador de corriente de núcleo abierto | |
| 510269 | 1 | Modem | ||
| 1 | Terminal recto para tubería galvanizada 1” |
OBSERVACIONES :
(1) Los transformadores de corriente de núcleo abierto incluyen el cable 3x12 AWG, por el cual se llevan las señales de corriente y tensión de cada una de las fases. El neutro se lleva con cable 12 AWG.
Los transformadores de corriente a utilizar según el transformador de distribución, se indica en la siguiente tabla:
| Ítem | Capacidad transformador de distribución | Corriente nominal (A) | Relación de CT | Código SAP, CT núcleo abierto |
| 1 | Hasta 75 kVA | 208 | 200/5 | 531273 |
| 2 | Mayor 75 kVA hasta 112.5 kVA | 312 | 300/5 | 531274 |
| 3 | Mayor 112.5 kVA hasta 150 kVA | 416 | 400/5 | 531275 |
| 4 | Mayor 150 kVA hasta 225 kVA | 625 | 600/5 | 531276 |
| 5 | Mayor 225 kVA hasta 300 kVA | 833 | 800/5 | 531277 |
| 6 | Mayor 300 kVA hasta 400 kVA | 1111 | 1000/5 | 531278 |
| 7 | Mayor 400 kVA hasta 600 kVA | 1661 | 1500/5 | 531279 |
| 8 | Mayor 600 kVA hasta 800 kVA | 2222 | 2000/5 | 531280 |
NOTAS
- Este montaje se utiliza para la macromedición de transformadores de distribución en poste, a nivel de BT. Como son estructuras utilizadas para proyectos de la compañía, su uso debe ser consultado y autorizado previamente a la instalación.
DATOS ADICIONALES
Revisión #
1
Fecha de entrada en vigencia
Actividad de los usuarios
Para hacer comentarios debe iniciar sesión o registrarse aquí