AE220-2 Acometida aérea trifásica de 31 a 35 kW
- Contenido

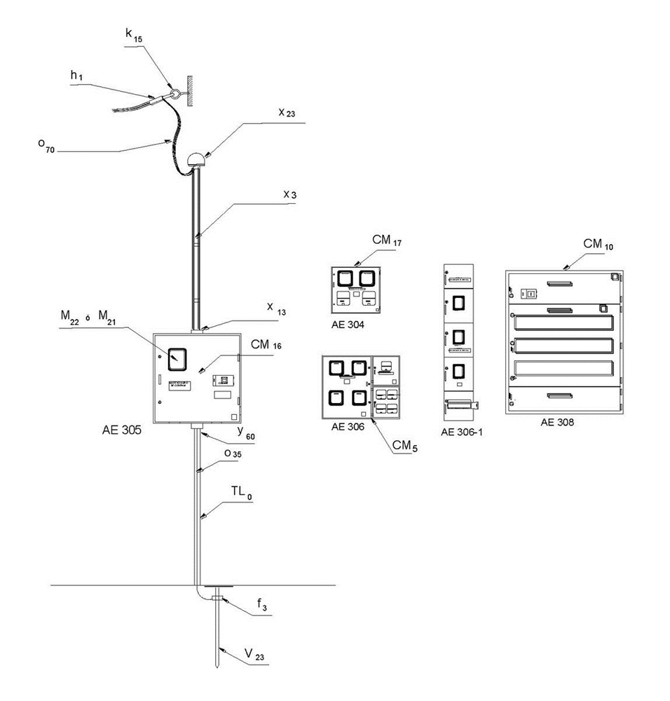
ACOMETIDA AÉREA TRIFÁSICA DE 31 A 35 kW
LISTA DE MATERIALES
| SÍMB. | CANT. | CÓDIGO SIE | ESPECIFICACIÓN TÉCNICA | DESCRIPCIÓN |
| ACOMETIDA | ||||
| h 1 | 1 | ET353 | Tensor de acometidas | |
| k 15 | 1 | Armella para anclaje de 6 mm | ||
| x 23 | 1 | ET605 | Capacete galvanizado 1 ½ ” | |
| x 33 | 2 | ET604 | Codo galvanizado 1 ½ ” x 90 | |
| o 70 | Metros cable de cobre para acometidas trifásicas 3x2+1x4 AWG | |||
| X 3 | 3 | ET601 | Metros de tubo galvanizado tipo IMC o rígido 1 ½ “ | |
| x 13 | 2 | Boquilla galvanizada 1 ½ “ | ||
| PUESTA A TIERRA | ||||
| TL 0 | 1,5 | ET608 | Metros de ductería de PVC conduit tipo liviano ½” | |
| v 23 | 1 | ET490 | Varilla de puesta a tierra 5/8” x 2,44 m | |
| y 60 | 1 | Boquilla en PVC de 1/2" | ||
| f 3 | 1 | ET490 | Conector para varilla a tierra 5/8" | |
| O 35 | 1 | ET116 | Metros de alambre desnudo de cobre calibre 8 AWG | |
| MEDICION | ||||
| M 21 | 510250 | GSSP001 | Medidor electrónico trifásico 3X208/120 V, 10(100) A, clase 1.0 | |
| M 22 | 510310 | GSSP001 | Medidor electrónico trifásico 3X208/120 V, 30(150) A, clase 1.0 | |
| CM 16 | ET918 | Caja para un medidor trifásico 50(150)A | ||
| CM 17 | Caja para dos (2) medidores trifásicos | |||
| CM 5 | ET906 | Caja para tres (3) y cuatro (4) medidores | ||
| CM 10 | ET911 | Armario de medidores | ||
| Interruptores de corte: | ||||
| 1x40A, 1x50A, 1x60A, 1x80A | ||||
| 3x40A, 3x50A, 3x60A, 3x70A, 3x80A, 3x100A, 3x125A | ||||
NOTA:
El listado de materiales es ilustrativo y se debe precisar de acuerdo con las necesidades de los clientes.
Para la ubicación de las cajas de medidores, se tomará como altura de referencia entre 1,5 y 1,7 m para el visor del medidor mas alto.
Si la parte inferior de la caja queda ubicada a una altura menor a 80 cm, se podrá adicionar una reja metálica frontal para protección contra impacto.
DATOS ADICIONALES
Revisión #
1
Fecha de entrada en vigencia
Actividad de los usuarios
Para hacer comentarios debe iniciar sesión o registrarse aquí