ET809 Luminaria LED Ornamental
- Contenido
1. OBJETO
Establecer las condiciones que deben satisfacer las luminarias LED ornamentales, las cuales deben poseer excelentes características técnicas de desempeño fotométrico, durabilidad y calidad para cumplir las condiciones actuales de desempeño en los sistemas de distribución de energía de B.T.2. ALCANCE
La presente especificación se aplicará en todas las luminarias LED ornamental utilizadas en parques, y áreas críticas no vehiculares de Enel Colombia S.A. ESP.3. CONDICIONES DE SERVICIO
Las luminarias serán utilizadas para su instalación en el sistema de alumbrado Público de las áreas de operación de Enel Colombia S.A. E.S.P, bajo las siguientes condiciones:| CARACTERÍSTICAS AMBIENTALES | |
| a. Altura sobre el nivel del mar | 2 640 m |
| b. Ambiente | Tropical |
| c. Humedad | Mayor al 90 % |
| d. Temperatura máxima y mínima | 35 ºC y - 5 ºC respectivamente. |
| e. Instalación | A la intemperie |
| CARACTERÍSTICAS ELÉCTRICAS | |
| a. Tensión Nominal de la red de BT | |
| - Línea - Línea | 208 a 480 V |
| - Línea - Neutro | 220 a 277 V |
| b. Frecuencia del sistema | 60 Hz |
4. SISTEMA DE UNIDADES Y DEFINICIONES
Todos los documentos técnicos, deben expresar las cantidades numéricas en unidades del sistema Internacional (S.I.). Si se usan catálogos, folletos o planos, en sistemas diferentes de unidades, deben hacerse las conversiones respectivas.DEFINICIONES
- LED: Diodo emisor de luz (por su sigla en inglés Light Emitting Diode). Tecnología que produce luz artificial por efecto de electroluminiscencia en la unión de dos semiconductores. Produciendo una luz uniforme, confortable con excelente reproducción del color que mejora la visibilidad.
- LUMINARIA LED: Aparato el cual distribuye, filtra y transforma la luz emitida por los LEDs o módulos LED, que incluye las partes para la fijación y protección de las piezas que emiten la luz artificial (LED o módulo LED), como también los equipos eléctricos necesarios para la producción de luz.
- FUENTE DE ALIMENTACIÓN (DRIVER): Equipo electrónico que toma la energía eléctrica de la red de distribución de BT y la transforma para que proporcione los parámetros eléctricos ideales para el normal funcionamiento de los LED ó módulos LEDs.
- LENTE: Es un dispositivo óptico utilizado en la transmisión, refracción y convergencia o divergencia del haz de luz emitido por el LED y están concebidos para conseguir una distribución óptima de la luz, tener una alta transmitancia luminosa y sirven como protección al LED. Se instalan dentro de un marco portalentes.
- PROTECCIÓN ÓPTICA: Es un dispositivo encargado de proteger el lente contra la intemperie.
- CONJUNTO ÓPTICO: Es la parte de la luminaria que emite la luz artificial y está compuesta por los LED o módulos LED, los lentes y sistemas que los protegen para obtener la hermeticidad y grado de protección.
- CONJUNTO ELÉCTRICO: Es la parte de la luminaria que contiene los equipos eléctricos/electrónicos capaces de conectar, transformar y adaptar la tensión eléctrica de la red de alimentación de B.T. a los LED o módulos LEDs que conforman el conjunto óptico.
- RETILAP: Reglamento Técnico de Iluminación y Alumbrado Público
- RETROFIT: Adecuación de luminarias HID a tecnología LED.
5. NORMAS TÉCNICAS PARA LUMINARIAS DE VÍAS Y ESPACIOS PÚBLICOS
| NORMA | DESCRIPCIÓN | |
| NTC | 900 | Reglas generales y especificaciones para el alumbrado público |
| NTC | 1000 | Sistema Internacional de Unidades. |
| NTC | 1156 | Productos metálicos y recubrimientos. Ensayos cámara salina. |
| NTC | 2230 | Luminarias parte 1. Requisitos generales y ensayos |
| NTC | 2470 | Dispositivos de fotocontrol intercambiables para iluminación pública. |
| NTC | 3279 | Grados de protección dado por encerramiento de equipo eléctrico [Grados IP] |
| NTC | 3547 | Electrotecnia. Controles para sistemas de iluminación exterior. |
| NTC | ISO 2859-1 | Procedimientos de muestreo para inspección por atributos. Parte 1: Planes de muestreo determinados por el nivel aceptable de calidad para inspección lote a lote. |
| NTC | 2050 | Código Eléctrico Nacional (conexiones internas). |
| IEC | 60529 | Degree of protection by enclosures [IP Code] |
| IEC | 60598-1 2014 | Luminaires - Part 1: General requirements and tests |
| IEC | 60598-2-3 2014 | Particular requirements - Luminaires for road and street lighting |
| IEC | 61347-1 | Lamp controlgear - Part 1: General and safety requirements. |
| IEC | 60929 | Annex E Control Interface for controllable ballasts |
| IEC | 1931 | Standard colorimetric system |
| IEC | 31 - 1976 | Glare and uniformity in road lighting instalations – 1976 |
| IEC | 115 - 1995 | Recommendations for the lighting of roads for motor and pedestrian traffic |
| IEC | 136 - 2000 | Guide to the lighting of urban areas |
| ANSI | C 136-10 | For physical and electrical interchangeability of photocontrol devices, plugs, and mating receptacles used in roadway lighting equipment |
| EN | 50102 | Grados de protección proporcionados por las envolventes de materiales eléctricos contra los impactos mecánicos externos (código IK) |
| ANSI | C136.41-2013 | Roadway and Area Lighthing Equipment-Dimming Control Between an External Locking Type Photocontrol and Ballast or Driver |
| EN | 61347-1 | General and Safety Requirements. (Driver) |
| EN | 61347-2-13 | Particular Requirements for DC or AC Supplied Electronic Control Gear for LED Modules. |
| EN | 62348 | DC or AC Supplied Electronic Control Gear for LED Modules. |
| EN | 55015: 2006 and 2007 | Limits and methods of radio disturbance characteristics of electrical lighting. |
| EN | 61547:1995 / +A1:2000 | Equipment for general lighting purpose EMC immunity requirements |
| EN | 61000-3-2:2006 | Limitation of harmonic current emission. |
| EN | 61000-3-3:2008 | Limitation of voltage fluctuation and flicker. |
| IES | LM 80-08 | Aproved Method Measuring Lumen Maintenance of LED light |
| IES | TM 21 | Projecting Long term Lumen Maintenance of LED Ligth Source |
| IES | LM 79-08 | Electrical and Photometric Measurements of Solid-State Lighting Products |
| DIN | 5035 | Características de reproducción cromática y tonos de luz |
| ISO | 17025 :2005 | Requisitos generales para la competencia de los laboratorios de ensayo y calibración. |
Las normas citadas en la presente especificación (o cualquier otra que llegare a ser aceptada por Enel Colombia S.A.) se refieren a su última revisión.
6. REQUERIMIENTOS TÉCNICOS PARTICULARES
6.1 Exigencias
Luminaria
La luminaria LED ornamental se compone de:
- Conjunto Óptico
- Conjunto Eléctrico
- Carcasa tipo ornamental
Otras características de las luminarias son:
- La carcasa de la luminaria tipo ornamental debe ser en aluminio no corrosivo que proporcione rigidez y resistencia adecuada, capaz de asegurar una correcta disipación térmica necesaria para el cumplimiento de la vida útil de la luminaria, declarada en la ficha técnica.
- Se aceptan únicamente fabricaciones de todas las partes que componen la carcasa de la luminaria ornamental en Inyección a alta presión y/o extrusión que garantice alta resistencia mecánica, con pintura electrostática de resina poliéster.
- La carcasa debe proteger de la intemperie la parte óptica y eléctrica, por lo que debe ser resistente a los cambios bruscos y prolongados de la temperatura.
- No se permiten bisagras con desajustes que ocasionen aperturas o caída de la tapa o dificultades en el cierre.
- No deben presentar salientes, puntas o bordes cortantes.
- Cada luminaria debe indicar sus parámetros eléctricos de funcionamiento: corriente, tensión, potencia y debe presentar el esquema de su circuito eléctrico y conexión.
- La entrada de cables debe ser a través de prensaestopa o sistema que asegure la hermeticidad de la luminaria.
- Los disipadores de calor deben ser pasivos. No debe tener refrigeración o ventilación adicional. No se aceptan RETROFIT.
Conjunto Óptico
- Los lentes para cada LED o módulo LED deben ser fabricados en materiales de alta transmitancia luminosa y que no cambien sus características físicas y químicas en el tiempo, como el polimetacrilato de metilo acrílico (PMMA) o vidrio templado de alta pureza con transmitancia superior del 90%.
- El conjunto óptico deberá ser protegido con vidrio templado de seguridad de transmitancia superior del 90% con acabado liso y mínimo de 4 mm de espesor, que asegure un IP=65 y una resistencia IK08. Este vidrio protector, no será necesario si los LED o módulos LED, vienen provistos de fábrica con vidrio liso y templado de alta pureza que asegure el IP y el IK exigidos.
- En ningún caso se aceptaran refractores prismáticos exteriores.
- El conjunto óptico y el eléctrico deben estar en compartimentos separados, compartiendo la misma carcasa de la luminaria.
- Cada lente o reflector que conforma el conjunto óptico debe reproducir la curva fotométrica de la luminaria.
-
La luminaria ornamental debe tener un Índice de Reproducción de Color (IRC) mayor o igual a 70 con los siguientes rangos de temperatura del color:
- Entre 3000 y 3500 Kelvin con máxima eficiencia.
- Mayor de 3500 y menor igual 4500 Kelvin con máxima eficiencia.
- Para luminarias, la vida útil de los LEDs debe ser L70 = de 100.000 horas obtenidas a temperatura ambiente de 35º C con IES LM 80-08 y IES TM 21.
- Eficacia mínima de la luminaria: 130 lm/W
- La luminaria ornamental deberá tener un flujo hemisférico superior (FHS) del 0%.
Conjunto Eléctrico
Tensión de alimentación: (120 V a 277V) - 10% + 5%
- Clase de aislamiento: Clase I/II. El proveedor deberá describir el procedimiento detallado para el cumplimiento de clase y allegar mediante plano la propuesta de dicho cumplimiento para validación previa.
- Corriente máxima de operación del driver: la corriente máxima que circula por el paquete led (LED package) debe ser menor o igual con la que se realizó el test de la vía útil del LED. Se debe anexar certificación del fabricante garantizando este requisito (especificando la corriente).
- Factor de potencia >= 0,9
- THD máximo de corriente: 20%
- Puerto de entrada para operar o funcionar con sistemas de telecontrol y/o telegestión existentes en el mercado, a través de una interfaz de comunicación 0-10 Vdc ó 1 -10 Vdc Análogo o DALI, que permita la integración de sistemas de telegestión.
- Todos los conductores pueden ser tipo cable o alambre.
- Sistema de tele gestión previamente autorizado por Enel Colombia.
- La fuente de alimentación del módulo LED debe tener incorporado un sistema de protección contra temperatura; que cuando la temperatura de los LEDs alcance niveles definidos como críticos, la protección de la fuente de alimentación inicialmente atenúe y posteriormente apague la luminaria.
- Borneras de conexión.
- Las conexiones eléctricas en las borneras y/o tornillería que se encuentre directamente en contacto con un punto vivo, deben ser del tipo no ferroso. Además, las conexiones libres o suspendidas dentro del compartimiento eléctrico deben llevar conectores de resorte o terminales aislados.
- Los extremos de los cables deben ser estañados o incluir terminales y de suficiente capacidad para soportar las corrientes.
- Las conexiones directas a los módulos LEDs, deben ser en conductor de cobre aislado mínimo para 300 V y apto para una temperatura de 105 °C.
- Para la fijación de la fuente de alimentación se deben usar los apoyos internos en la carcasa.
- La fuente de alimentación debe poseer su protección de sobrecarga interna.
- El driver deben venir con protección contra sobretensión con alguno de los siguientes sistemas:
DPS: Dispositivo de Protección Contra Sobretensiones, Características:
- Número de polos : Línea / Neutro / Tierra
- Tensión máxima de operación :120V a 277V -10% +5%
- Tensión de protección (Up) (L-N / L-N-T) : 1.5 kV
- Tensión máxima de descarga (U0c) : 10 KV
- Corriente nominal de descarga (In) : 5 kA
- Corriente máxima de descarga (Imax) : 10 kA
- Tipo : 3
- Grado protección mínimo : IP 65
- El compartimiento del Driver y la bandeja porta equipo debe estar diseñado con acceso sin herramientas para facilitar el mantenimiento.
- La carcasa deberá estar provista de apoyos adicionales para facilitar la instalación del dispositivo de control o tele gestión.
- La luminaria deberá estar provista de un foto control mimetizado en la luminaria de manera que no afecte el diseño de la luminaria tipo ornamental. El sistema de conexión del foto control deberá permitir la opción de deshabilitar su función normal de trabajo para poder ser controlado con control múltiple y/o tele gestión de cabecera.
Acometida de la luminaria
Para la acometida de la luminaria deberá contar con el sistema de prensaestopa, adecuado para recibir un cable encauchedado con 3 conductores calibre 14 AWG 600V con código de colores de acuerdo a lo establecido en el RETIE.
Si se utiliza el sistema de pasacables, se exige la implementación de un prensador para la acometida hacia la luminaria; el pasacables debe tener un ajuste perfecto que evite su pérdida y que conserve el grado de hermeticidad IP de la luminaria.
Para la alimentación de la luminaria, debe ser instalada exclusivamente una bornera para conexión y desconexión de los cables de alimentación con los componentes del conjunto eléctrico cumpliendo las siguientes características:
- Fabricada en material con clase térmica no inferior a 105 °C, con tensión de aislamiento 600 V.
- Capaz de albergar fácilmente los conductores tipo cable calibre No. 14 AWG.
- De fijación libre dentro del conjunto eléctrico de la luminaria.
- Rotulada claramente indicando la(s) fase(s), o si es del caso, cuál de los bornes corresponde al neutro y a tierra.
- Los contactos deben ser fabricados en un material no ferroso, protegido contra la corrosión y de dimensiones que garanticen el contacto eléctrico.
6.2 Características generales de las luminarias
Las luminarias ornamentales requeridas por Enel Colombia S.A. ESP deben cumplir con las siguientes condiciones:- Deben poseer la certificación de producto y RETILAP, expedida por un organismo acreditado. Dicho certificado deberá entregarse, por parte del fabricante o comercializador con todos sus anexos.
- La matriz de intensidades por cada referencia utilizada debe tener certificación expedida por un organismo acreditado. Dicho certificado deberá entregarse, por parte del fabricante o comercializador.
- El Driver debe poseer certificación del producto expedido por un organismo acreditado. Dicho certificado deberá entregarse, por parte del fabricante o comercializador.
- Debe ser tal que aloje y proteja de la intemperie a los conjuntos óptico y eléctrico, teniendo en cuenta los siguientes aspectos:
b) Con acabado exterior en color gris RAL 7004 o el que en su momento se autorice.
c) Garantice la estabilidad del color contra rayos ultravioleta en los acabados de la luminaria.
6.3 Características para la fijación de la luminaria
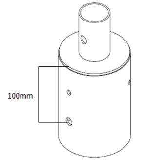
La luminaria ornamental deberá tener el sistema de soporte para poder instalarse por deslizamiento en un poste tubular de 4” metálico, poste tubular de fibra de 5", poste cónico de 135"de fibra de vidrio acorde con la Figura No. 1.
Figura No 1 Sistema de montaje de la base de la luminaria al poste
Nota 1: La base soporte al poste en su parte interior donde descansa la cima del poste debe ser completamente liso. No se permiten salientes o sobre montos.
Nota 2: El perno soporte con cabeza fusible de ½” x 140 mm debe ser incluido como parte del suministro del montaje de la base de la luminaria
Nota 3: Soporte que tengan defectos en su contorno circular será motivo de rechazo
Deberá estar asegurada anti vandálicamente a través de:
- Para seguridad en la base soporte a poste deberá incluirse en el suministro de la luminaria un perno de ½” X 140 mm de cabeza perdible Ver Figura No. 1 para ser fijado a 100 mm de la cima del poste.
- En la base soporte a luminaria ver figura No. 1 y No. 2 que es la unión del soporte con la luminaria ornamental si no viene en un mismo cuerpo con la luminaria, deberá llevar un perno de seguridad de las mismas características de cabeza perdible.
- Deberá llevar también llevar 3 tornillos de apriete a 120° que permitirán mantener una correcta fijación de la luminaria al poste de fibra ET-205. Ver figura No.1
Figura No. 2 Vista isométrica base a poste
6.4 Valores fotométricos requeridos
Los diseños de las luminarias tipo ornamental deberán cumplir con los siguientes valores fotométricos.| TIPO DE ZONA | TIPO ILUMINACIÓN | NIVEL( * ) [lx] | Uo( * ) [%] |
| Ciclorruta | C2 | 20 | 40 |
| Anden/sendero peatonal | C3 | 15 | 33 |
| Parque | C1 | 30 | 33 |
| Plazoleta | C1 | 30 | 33 |
| Ciclopuentes | C2 | 20 | 40 |
7. CRITERIOS DE ACEPTACIÓN O RECHAZO
Para este caso se considerará que existe un lote cuando:- Los materiales de producción pertenecen a un mismo lote de materia prima.
- Las cajas de producción se construyen en diferentes lotes.
7.1 Muestreo
El muestreo se realizará con base en los procedimientos y tablas estipuladas en la norma NTC-ISO 2859-1 “Procedimientos de muestreo para Inspección por Atributos. Parte 1: Planes de muestreo determinados por el nivel aceptable de calidad para inspección lote a lote” (Militar Standard 105 D "Sampling procedures and tables for inspection by atributes") y se acordará por las partes, previamente a la fecha de la realización de las pruebas y recepción de los bienes.Para el desarrollo de las pruebas es indispensable que los instrumentos involucrados estén calibrados.
7.2 Aceptación o Rechazo
Si el número de elementos defectuosos es menor o igual al correspondiente número de defectuosos (dado en la norma NTC-ISO 2859-1 en la tercera columna de las Tablas 1 y 2), se deberá considerar que el lote cumple con los requisitos técnicos exigidos por Enel Colombia S.A., pero en caso contrario, el lote se rechazará.TABLA 1. PLAN DE MUESTREO PARA INSPECCIÓN VISUAL Y DIMENSIONAL
(NIVEL DE INSPECCION II, NAC = 2,5%) (NORMA NTC-ISO 2859-1 TABLA 1 - TABLA 2A)
| TAMAÑO DEL LOTE | TAMAÑO DE LA MUESTRA | NUMERO PERMITIDO DE DEFECTUOSOS | NUMERO DEFECTUOSOS PARA RECHAZO |
| 2 a 8 | A = 2 | 0 | 1 |
| 9 a 15 | B = 3 | 0 | 1 |
| 16 a 25 | C = 5 | 0 | 1 |
| 26 a 50 | D = 8 | 1 | 2 |
| 51 a 90 | E = 13 | 1 | 2 |
| 91 a 150 | F = 20 | 1 | 2 |
| 151 a 280 | G = 32 | 2 | 3 |
| 281 a 500 | H = 50 | 3 | 4 |
| 501 a 1200 | J = 80 | 5 | 6 |
| 1201 a 3200 | K = 125 | 7 | 8 |
| 3201 a 10000 | L = 200 | 10 | 11 |
TABLA 2: PLAN DE MUESTREO PARA LOS ENSAYOS MECÁNICOS
(NIVEL DE INSPECCIÓN ESPECIAL S-3, NAC = 2,5%) (NORMA NTC-ISO 2859-1 TABLA 1 - TABLA 2A)
| TAMAÑO DEL LOTE | TAMAÑO DE LA MUESTRA | NUMERO PERMITIDO DE DEFECTUOSOS | NUMERO DEFECTUOSOS PARA RECHAZO |
| 2 a 8 | A = 2 | 0 | 1 |
| 9 a 15 | A = 2 | 0 | 1 |
| 16 a 25 | B = 3 | 0 | 1 |
| 26 a 50 | B = 3 | 0 | 1 |
| 51 a 90 | C = 5 | 1 | 2 |
| 91 a 150 | C = 5 | 1 | 2 |
| 151 a 280 | D = 8 | 1 | 2 |
| 281 a 500 | D = 8 | 1 | 2 |
| 501 a 1200 | E = 13 | 1 | 2 |
| 1201 a 3200 | E = 13 | 1 | 2 |
| 3201 a 10000 | F = 20 | 1 | 2 |
Enel Colombia S.A. se reserva el derecho de descartar las propuestas que no ofrezcan pruebas o si las ofrecidas son consideradas insuficientes para garantizar la calidad de las luminarias.
Para efectuar cualquier despacho, es requisito indispensable una autorización escrita de Enel Colombia S.A., la cual será expedida con base en los resultados de las pruebas realizadas en fabrica y/o la aprobación del protocolo de pruebas realizadas por el fabricante a las luminarias solicitadas.
8. PROTOCOLOS DE PRUEBA A SUMINISTRAR POR EL FABRICANTE
El fabricante deberá remitir los protocolos de los ensayos realizados por un laboratorio acreditado ante la ONAC - Organismo de Certificación de Colombia, o un organismo internacional reconocido para la elaboración de pruebas eléctricas y fotométricas:| Ensayos a Luminaria | Ensayos al conjunto electrónico | Ensayos al Módulo LED |
| Fotometría | Perdidas del Driver (máximas en condiciones normales) | Ensayos de vida útil –LM80- TM21, para aplicación Industrial |
| Temperatura de color y/o coordenada cromática | Parámetros eléctricos (Tensión nominal, corriente en línea, potencia nominal, factor de potencia) | |
| Hermeticidad | Prueba de aislamiento | |
| Resistencia mecánica | Ensayos de vida útil para productos industriales. | |
| Ensayo de endurancia | Pruebas THDv, THDi | |
| Resistencia Aislamiento y Rigidez Dieléctrica | ||
| Resistencia al calor y penetración con bolilla | ||
| Resistencia a la llama | ||
| Protección contra choque eléctrico | ||
| Resistencia a la corrosión | ||
| Angulo de apertura | ||
| Eficacia y prueba LM79 |
9. MARCACIÓN Y EMPAQUE
9.1 Marcación
La marcación de la luminaria tipo ornamental debe ir en una placa exterior metálica remachada (que no afecte el IP) o inyectada en el cuerpo de la luminaria, y deberá incluir la siguiente información:- Marca de fábrica
- Potencia
- Flujo luminoso
- Modelo y referencia
- Tensiones de conexión
- Mes y año de fabricación
- IP garantizado (conjuntos óptico y eléctrico)
- IK de la Luminaria
- Clase de aislamiento
- Garantía
- Palabra ENEL
- Número de serie
- Código de barras
Cada uno de los elementos que conforman el conjunto eléctrico de la luminaria tipo ornamental, deben tener grabados el nombre de ENEL y el número de orden de compra o contrato. La información técnica debe ir grabada en cada uno de los elementos que conforman el conjunto eléctrico.
En la carcasa se grabará en alto o bajo relieve, con letra imprenta de por lo menos 11 mm, la palabra ENEL, de igual manera se debe grabar en la luminaria, con un color de alto contraste, la potencia del equipo, buscando que sea visible desde el piso cuando la luminaria se encuentre instalada. En cada luminaria, se debe incluir en una parte visible, el diagrama de conexiones de los componentes internos. Dicho diagrama debe conservarse en el tiempo, ser indeleble y con una dimensión que permita su fácil observación y revisión.
9.2 Empaque
Los bienes, objeto de la presente especificación técnica, deben ser empacados en forma individual, adecuadamente para resistir las condiciones de humedad e impacto que pueden presentarse durante el transporte desde fábrica hasta las bodegas de Enel Colombia S.A. y durante su almacenamiento. En dicho empaque, deberá aparecer relacionado el código SAP.10. REQUISITOS DE LAS OFERTAS
El Oferente obligatoriamente deberá incluir con su propuesta, la siguiente información:- Planilla de características técnicas garantizadas, la cual deberá ser diligenciada completamente, firmada y sellada por el oferente. Se debe incluir copia en formato Excel que permita la lectura y extracción de la información tanto para la planilla de características como para cualquier otra que se indique en la los requisitos de la oferta.
- Memorias de cálculo del diseño solicitado las cuales deberán incluir:
- Metodología dispuesta por RETILAP vigente.
- Resultados del diseño: Incluyendo parámetros de cálculo, y resultados (valores garantizados) del diseño dispuestos por RETILAP vigente.
- Catálogos originales completos y actualizados del fabricante, que correspondan a los bienes cotizados, en la planilla de características técnicas garantizadas.
- Protocolos de pruebas de acuerdo con las normas indicadas en la presente especificación. En tales protocolos se deberán anotar las fechas de fabricación y pruebas del equipo, para permitir la verificación de las características técnicas garantizadas.
- Para los componentes de las luminarias, el oferente debe presentar también, los protocolos de pruebas correspondientes, que permitan verificar las características técnicas garantizadas.
- Muestras de cada una de las referencias ofertadas sin cargo a devolución, con cada una de las características técnicas, solicitadas y mencionadas en la presente especificación. Para los oferentes que cumplan técnicamente.
- Registro fotográfico de alta calidad de la luminaria en sus cuatro vistas exteriores e interiores superior, inferior y laterales.
- Información adicional que considere aporta explicación a su diseño (dibujos, detalles, características de operación, dimensiones y pesos de los materiales ofertados).
- Enel Colombia S.A. podrá descartar ofertas que no cumplan con las anteriores disposiciones, sin expresión de causa ni obligación de compensación.
- Todos los planos y/o dibujos indicativos de la luminaria entregados en la oferta deben incluir una copia en formato PDF.
11. GARANTÍA DE FÁBRICA
Enel Colombia S.A E.S.P requiere como mínimo, un período de garantía de fábrica de sesenta (60) meses, a partir de la entrega de las luminarias. Los Driver deben tener una vida útil de por lo menos 7 años.El fabricante de las luminarias garantizará el suministro de luminarias completas, para efectos de reposición y/o mantenimiento, durante un período igual al de la vida útil manifestada por el fabricante, contado a partir del momento del suministro de las luminarias.
12. INSPECCIÓN DE LAS MUESTRAS
El proveedor enviará con las muestras que se soliciten para evaluación el formato de protocolos de pruebas y copia de las normas en inglés y/o español utilizadas para tal fin. Enel Colombia informará por escrito su conformidad con las pruebas requeridas.Igualmente, el proveedor acompañará cada una de las entregas de luminarias con los protocolos de pruebas y copia de las normas en inglés y/o español utilizadas para tal fin. Enel Colombia informará por escrito su conformidad con las pruebas requeridas.
El ingeniero responsable de Enel Colombia podrá inspeccionar en las instalaciones del proveedor o fabricante y solicitar la información y ensayos que a su juicio resulten necesarias para verificar el cumplimiento de los requisitos estipulados en este documento. El proveedor debe brindar plena colaboración al responsable en el cumplimiento de sus funciones. El costo de las pruebas que solicite estarán a cargo del proveedor.
13. SISTEMA DE CALIDAD
El oferente adjuntará con su propuesta su certificado del sistema de calidad ISO 9001. Adicionalmente el certificado de conformidad de producto con norma técnica y RETILAP expedido por una entidad autorizada por la ONAC- Organismo Nacional de Acreditación de Colombia.14. PLANILLAS DE CARACTERÍSTICAS TÉCNICAS
El oferente deberá presentarlas en su oferta técnica diligenciadas en formato Excel por cada referencia.ANEXO 1. LUMINARIAS LED PLANILLA DE CARACTERÍSTICAS TÉCNICAS GARANTIZADAS
| CARACTERÍSTICAS GENERALES DE LA LUMINARIA | |||||
| ITEM | DESCRIPCIÓN | EXIGIDO | OFRECIDO | ||
| 1 | Fabricante | (*) | |||
| 2 | País de origen | (*) | |||
| 3 | Referencia | (*) | |||
| 4 | Voltaje nominal de alimentación de la luminaria (V) | 120 V a 277 V -10% +5% | |||
| 5 | Potencia total de la luminaria (W) (incluyendo las pérdidas) | (*) | |||
| 6 | Factor de Potencia | >=0.9 | |||
| 7 | Frecuencia (Hz) | 60 Hz | |||
| 8 | THD máximo de Corriente a voltaje nominal (%) | <= 20% | |||
| 9 | Clase Aislamiento. Adjunta descripción detallada y plano explicativo. | CLASE I/II | |||
| 10 | Cuerpo de la luminaria | Material | Aluminio | ||
| Las diferentes partes que conforman el cuerpo de la luminaria son inyectadas y/o extruidas | SI | ||||
| Color | GRIS RAL 7004 | ||||
| Espesor mínimo de la carcasa [mm] | (*) | ||||
| 11 | Grado de protección | Compartimento eléctrico (IP) | >=65 | ||
| Compartimento óptico (IP) | >=65 | ||||
| Carcasa (IK) | 08 | ||||
| Vidrio Protector o lente de vidrio (IK) | 08 | ||||
| 12 | Accesorios Incorporados (marca y tipo) | Fuente de alimentación | SI | ||
| Bornera de alimentación | SI | ||||
| Accesorio de fijación al soporte (si/no) | SI | ||||
| Posee espacio libre para el módulo de telegestión de acuerdo a lo exigido (si/no) | SI | ||||
| Dimensiones espacio libre telegestión (mmxmmxmm)(110x55x50 mm – valores mínimos) | (*) | ||||
| 13 | Vidrio Protector o Lentes en vidrio templado liso Si / No | SI | |||
| 14 | Referencia del LED o Modulo LED | (*) | |||
| 15 | Referencia de la fuente de alimentación | (*) | |||
| 16 | Peso de la luminaria [kg] | (*) | |||
| 17 | Dimensiones de la luminaria | (*) | |||
| 18 | Características Ópticas de la Luminaria | Temperatura de color [K] | >=3000 y <=3500 ; >3500 y <=4500 | ||
| Coordenada cromática (CIE 1931) | X | (*) | |||
| Y | (*) | ||||
| Eficacia mínima [lm/W] | 130 lm/W | ||||
| Binning (factor de agrupamiento) los módulos LED deben tener una consistencia de color, de acuerdo a las elipses McAdam y SDCM. Las variaciones en la temperatura de color de los LED estará restringida por la norma ANSI C78.377A. | 5 | ||||
| IRC [%] | >=70% | ||||
| 19 | Fotometría | Nombre Archivo (,ies ) | (*) | ||
| 20 | Temperatura máxima externa de funcionamiento [°C] | Fuente de alimentación | (*) | ||
| Carcasa de la luminaria | (*) | ||||
| 21 | Cada lente o reflector que conforman el conjunto óptico reproduce la curva fotométrica de la luminaria | SI | |||
| 22 | Referencia del kit de cableado (si aplica) | (*) | |||
| 23 | Dimensiones de la caja para transporte mm x mm x mm | (*) | |||
| 24 | Conexiones Internas | Bornera de alimentación debidamente rotulada (si/no) | SI | ||
| 25 | Certificación de producto(RETILAP) | Entidad acreditadora | (*) | ||
| Número de acreditación | (*) | ||||
| Fecha de aprobación (Día/Mes/Año) | (*) | ||||
| Vigencia | (*) | ||||
| Adjunta el certificado (Si/No) | SI | ||||
| 26 | Flujo luminoso total emitido por la luminaria [lúmenes]. | (*) | |||
| 27 | Sistema de calidad ISO 9001 o ISO 9002 del Fabricante | Entidad acreditadora | (*) | ||
| Número de acreditación | (*) | ||||
| Fecha de aprobación (Día/Mes/Año) | (*) | ||||
| Vigencia | (*) | ||||
| Adjunta el certificado (Si/No) | SI | ||||
| 28 | Sistema de calidad ISO 9001 del Proveedor | Entidad acreditadora | (*) | ||
| Número de acreditación | (*) | ||||
| Fecha de aprobación (Día/Mes/Año) | (*) | ||||
| Vigencia | (*) | ||||
| Adjunta el certificado (Si/No) | (*) | ||||
| 29 | Marcación(Contestar Si/No según corresponda) | Nombre de Fabricante | SI | ||
| Potencia | SI | ||||
| Modelo y referencia | SI | ||||
| Tensión de conexión | SI | ||||
| Mes y año de fabricación | SI | ||||
| IP | SI | ||||
| IK | SI | ||||
| Clase de aislamiento | SI | ||||
| Garantía | SI | ||||
| Palabra ENEL | SI | ||||
| Número de serie | SI | ||||
| Código de barras | SI | ||||
| 30 | Vida útil (horas) L70 | Horas | >= 100000 horas (Ta=35°C) LM 80-08 y IES TM 21 | ||
| 31 | Entrega registro fotográfico en las 4 vistas interior y exterior | SI | |||
| 32 | Entrega copia de todos los planos y dibujos en formato PDF | SI | |||
| 33 | Posee Disipadores de calor pasivos | SI | |||
| 34 | La acometida de la luminaria cuenta con prensaestopa | SI | |||
| 35 | Se garantiza la estabilidad del color contra rayos ultravioleta | SI | |||
| 36 | Incluye las medidas anti vandálicas indicadas en el numeral 6.3 | SI | |||
(*) Información que se requiere sea diligenciada por el fabricante
| CARACTERÍSTICAS DE LA FUENTE DE ALIMENTACIÓN Ó DRIVER | ||||
| ITEM | DESCRIPCIÓN | EXIGIDO | OFRECIDO | |
| 1 | Fabricante | (*) | ||
| 2 | País de origen | (*) | ||
| 3 | Clase de aislamiento | (*) | ||
| 4 | Adjunta certificado del fabricante de la corriente del chip (requerido) | SI | ||
| 5 | Rango de tensión de salida [V] | (*) | ||
| 6 | Rango de corriente de salida (m A) | (*) | ||
| 7 | Máxima potencia de Salida [W] | (*) | ||
| 8 | Protección contra corto circuito (Si / No) | Si | ||
| 9 | Protección contra sobre corriente (SI/NO). Describir. | Si | ||
| 10 | Supresor de picos a la salida (Si / No) | Si | ||
| 11 | Protección contra altas temperatura en el LED o modulo LED (Si / No) | Si | ||
| 12 | Corriente de entrada [mA]. | (*) | ||
| 13 | Rango de tensión de entrada [V] | (*) | ||
| 14 | Potencia de entrada [W] | (*) | ||
| 15 | Supresor de picos a la entrada (Si / No) | Si | ||
| 16 | THD de corriente a voltaje nominal. [%] | <20% | ||
| 17 | Eficiencia en operación nominal [%] | (*) | ||
| 18 | Temperatura de operación ºC | (*) | ||
| 19 | Puerto para telegestión | SI | ||
| 20 | Vida útil [horas] | 100000 | ||
| 21 | Peso [kg] | (*) | ||
| 22 | Dimensiones (Largo/alto/ancho) | (*) | ||
| 23 | Protección contra sobre tensiones transitorias (DPS) .[Si / No] | SI | ||
| 24 | Protección contra sobretensiones permanentes PSP (Diligencia y cumple ET 860) | SI/NO | ||
| 25 | Acreditación RETILAP por el ente competente en Colombia | Entidad acreditadora | (*) | |
| Número de acreditación | (*) | |||
| Fecha de aprobación (Día/Mes/Año) | (*) | |||
| Vigencia | (*) | |||
| Adjunta el certificado (Si/No) | SI | |||
| 26 | Sistema de calidad (Normas ISO 9001 del Fabricante) | Entidad acreditadora | (*) | |
| Número de acreditación | (*) | |||
| Fecha de aprobación (Día/Mes/Año) | (*) | |||
| Vigencia | (*) | |||
| Adjunta el certificado (Si/No) | SI | |||
| 27 | Garantía (Años) | 5 | ||
DATOS ADICIONALES
Revisión #
4
Fecha de entrada en vigencia
Actividad de los usuarios
Para hacer comentarios debe iniciar sesión o registrarse aquí