ET493 Conector para puesta a tierra
- Contenido
1. OBJETIVO
Esta especificación técnica tiene por objeto establecer las características y requisitos técnicos que deben cumplir y los ensayos a los cuales debe ser sometido el conector para puesta a tierra que solicitará Enel Colombia S.A. ESP, para el sistema eléctrico de distribución.2. ALCANCE
Esta especificación técnica se aplicará a todos los conectores de puesta a tierra que adquiera Enel Colombia S.A. ESP.3. SERVICIO
Estos elementos se usan para conectar el conductor al electrodo de puesta a tierra.4. SISTEMA DE UNIDADES
En todos los documentos técnicos se deben expresar las cantidades numéricas en unidades del sistema Internacional (S.I.). Si se usan catálogos, folletos o planos, en sistemas diferentes de unidades, deben hacerse las conversiones respectivas.5. NORMAS DE FABRICACIÓN Y PRUEBAS
| NORMA | DESCRIPCIÓN | |
| NTC | 2206 | Equipos de conexión y puesta a tierra |
| UL | 467 | Grounding and Bounding Equipment |
| IEEE | 837 | Qualifying Permanent Connections Used in Substation Grounding |
Pueden emplearse otras normas internacionalmente reconocidas equivalentes o superiores a las aquí señaladas, siempre y cuando se ajusten a lo solicitado en la presente especificación técnica.
Las normas citadas en la presente especificación (o cualquier otra que llegare a ser aceptada por Enel Colombia S.A.) se refieren a su última revisión.
6. REQUISITOS
Los conectores deberán soportar las condiciones térmicas y eléctricas derivadas de cortocircuitos y sobretensiones, y conducir eficazmente a tierra las corrientes provocadas por los mencionados efectos.6.1 GEOMÉTRICOS
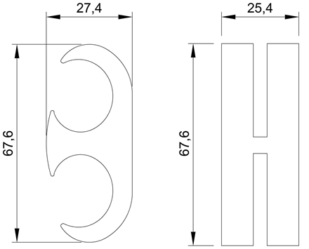
Los conectores deberán permitir contener varillas definidas en la ET 490 y cables o flejes de acero ( ET 492 ). En la figura 1 se definen la forma y dimensiones previstas.
Figura 1. Forma y dimensiones en mm del conector.
6.2 QUÍMICOS
El material debe ser compatible con cobre y acero, también debe ser resistente a la corrosión.6.3 MECÁNICOS
El conector debe ser compuesto por una (1) sola parte.6.4 REQUISITOS DEL ACABADO
El conector debe ser libre de: soldaduras, deformaciones, fisuras, aristas cortantes, y defectos de laminación. No se permiten dobleces ni rebabas en las zonas de corte, perforadas o punzadas.7. CRITERIOS DE ACEPTACIÓN O RECHAZO
Para este caso se considerará que existe un lote cuando, los materiales del porta aislador y los demás elementos pertenecen a un mismo lote de materia prima y un mismo lote de producción, de no ser así deberá tomarse como lotes diferentes, por los diferentes aspectos de materia prima y de producción.7.1 MUESTREO
A menos que se especifique otra condición, el muestreo se llevará a cabo tomando muestras para cada prueba de acuerdo a lo indicado en las tablas 1 y 2, según la norma NTC –ISO 2859-1.| TAMAÑO DEL LOTE | TAMAÑO DE LA MUESTRA | NÚMERO PERMITIDO DE DEFECTUOSOS | NÚMERO DEFECTUOSOS PARA RECHAZO |
| 2 a 8 | A = 2 | 0 | 1 |
| 9 a 15 | B = 3 | 0 | 1 |
| 16 a 25 | C = 5 | 0 | 1 |
| 26 a 50 | D = 8 | 1 | 2 |
| 51 a 90 | E = 13 | 1 | 2 |
| 91 a 150 | F = 20 | 1 | 2 |
| 151 a 280 | G = 32 | 2 | 3 |
| 281 a 500 | H = 50 | 3 | 4 |
| 501 a 1200 | J = 80 | 5 | 6 |
| 1201 a 3200 | K = 125 | 7 | 8 |
| 3201 a 10000 | L = 200 | 10 | 11 |
(NORMA NTC-ISO 2859-1 TABLA1 - TABLA 2A)
| TAMAÑO DEL LOTE | TAMAÑO DE LA MUESTRA | NÚMERO PERMITIDO DE DEFECTUOSOS | NÚMERO DEFECTUOSOS PARA RECHAZO |
| 2 a 8 | A = 2 | 0 | 1 |
| 9 a 15 | A = 2 | 0 | 1 |
| 16 a 25 | B = 3 | 0 | 1 |
| 26 a 50 | B = 3 | 0 | 1 |
| 51 a 90 | C = 5 | 1 | 2 |
| 91 a 150 | C = 5 | 1 | 2 |
| 151 a 280 | D = 8 | 1 | 2 |
| 281 a 500 | D = 8 | 1 | 2 |
| 501 a 1200 | E = 13 | 1 | 2 |
| 1201 a 3200 | E = 13 | 1 | 2 |
| 3201 a 10000 | F = 20 | 1 | 2 |
TABLA 2. PLAN DE MUESTREO PARA LOS ENSAYOS MECANICOS (NIVEL DE INSPECCION ESPECIAL S-3, NAC = 2,5%)
(NORMA NTC-ISO 2859-1 TABLA1 - TABLA 2A)
7.2 ACEPTACIÓN O RECHAZO
Si el número de elementos defectuosos es menor o igual al correspondiente número de defectuosos dado en la tercera columna de las Tablas 1 y 2, se deberá considerar que el lote cumple con los requisitos relacionados en el numeral 6 de esta especificación; en caso contrario el lote se rechazará.8. PRUEBAS E INFORME
8.1 PRUEBA DIMENSIONAL
La verificación de las dimensiones se hará con los instrumentos de medida que den la aproximación requerida (cinta metálica con divisiones de 1 mm para longitudes y calibrador para los diámetros y espesores).8.2 PRUEBA DE ESTABILIDAD TÉRMICA.
La muestra debe ser sometida a un valor de corriente especificado según el calibre del cable, hasta tanto se logre la estabilidad térmica, el incremento de temperatura no debe superar 50 °C. (tabla 11,1 norma UL 486 A).8.3 ENSAYO DE CORRIENTE
La prueba de corriente en su totalidad debe ser realizada de acuerdo a lo especificados en la norma UL 467 numeral 13.Una vez realizada la prueba el conector no debe presentar agrietamiento, rotura o fundición.
8.4 ENSAYO DE TRACCIÓN
El conector de puesta a tierra debe ser sometido durante 5 minutos a una tracción de 150 libras (667 N) aplicada entre el conector, la varilla y el conductor de puesta a tierra, sin presentar deslizamiento entre las partes.8.5 ENSAYO DE RESISTENCIA ELÉCTRICA
Nueve muestras deben ser preparadas cada una con dos conductores de una longitud mínima de 15,3 cm de largo por fuera del conector por cada uno de sus lados.La resistencia debe ser medida a través de la muestra por el final de cada uno de los extremos de los cables. La medida consecutiva de una muestra en particular debe ser realizada en el mismo lugar y bajo las mismas condiciones.
Antes de realizar las mediciones, los puntos de la prueba deben ser cuidadosamente limpiados asegurando un buen contacto entre los instrumentos de prueba y la muestra.
La resistencia eléctrica de las muestras no deben exceder los 100 m ohm.
8.6 PRUEBA DE CÁMARA SALINA
Las muestras deben ser sujetas a la prueba de cámara salina durante 30 días de acuerdo con lo especificado en la norma ASTM B 117. Una vez concluidas las pruebas los conectores no deben presentar muestras significativas de ataque corrosivo comparado con un conector no expuesto y no debe haber una variación en la resistencia de la conexión.8.7 PRUEBA CON CORRIENTE DE FALLA
Uno de los extremos de la muestra ya ensamblada debe ser conectada a un terminal de una fuente a 60 Hz usando para ello un cable o cables equivalentes a un conductor calibre 4 AWG de cobre.En el otro extremo de la conexión, lo cables debe ser conectados a un segundo terminal de fuente alterna con una barra sólida de cobre numero 6 AWG. Una corriente de 1000 A rms debe ser aplicada a la muestra por un mínimo de veinte segundos o hasta que el fusible del hilo de No. 6 AWG opere.
Durante la prueba no debe existir arqueo entre el conector y el elemento conductivo.
8.8 PRUEBA DE HALADO
Una vez realizada la prueba de corriente de falla el conector se somete a una prueba de halado de 34,84 libras (155 N) por un minuto. No debe haber deslizamiento de ninguno de los conductores en el conector. Una vez realizada la prueba, la resistencia de la conexión no debe variar en más de 5 m ohm, por sobre la medida previa a la prueba.8.9 PRUEBA DE IMPULSO
Los cables de la muestra deben ser conectados a un generador de impulsos y una corriente de 20 kA, con una onda 8/20 µs debe ser aplicada.No debe existir arqueo entre el conector y los elementos conductivos. Después de la aplicación de la prueba de corriente, la resistencia de la conexión no debe variar en más de 5 m ohm, por sobre la medida previa a la prueba, adicionalmente los requerimientos de la prueba de halado deben ser cumplidas ver numeral 8.8.
8.5 INFORME DE PRUEBAS
El proveedor presentará a Enel Colombia S.A. ESP el resultado de las pruebas realizadas en laboratorios acreditados bajo ISO IEC 17025.9. EMPAQUE Y ROTULADO
9.1 EMPAQUE
Cada conector se entregará en una bolsa sellada de polietileno, con un espesor mínimo de 50 micrones. Las bolsas llevarán impresos los datos mencionados a continuación:• Marca, Logotipo o sigla del Fabricante.
• País de origen.
• Referencia.
• El tamaño de la varilla y el calibre del conductor para puesta a tierra con el cual se puede usar el conector.
• Año de fabricación.
• Enel Colombia S.A.
Los conectores así embalados, se ubicarán dentro de cajas de cartón corrugado, resistente a manipuleo, conteniendo de 50 unidades c/u.
9.2 ROTULADO
Las cajas deben ir marcadas con la siguiente información:• Número de contrato o pedido.
• Nombre y razón social del proveedor.
• Marca, Logotipo o sigla del Fabricante.
• País de origen.
• El tamaño de la varilla y el calibre del conductor para puesta a tierra con el cual se puede usar el conector.
• Año de fabricación.
• Enel Colombia S.A.
• Especificación del contenido con su referencia.
• Peso unitario, peso total bruto y neto.
• Cantidad de elementos.
• Fecha de entrega.
• Especificación del contenido con su referencia.
• Peso unitario, peso total bruto y neto.
• Cantidad de elementos.
• Fecha de entrega.
9.3 MARCACIÓN
Se deben marcar cada pieza en forma indeleble con la siguiente información:- Marca, Logotipo o sigla del Fabricante.
- Referencia.
- El tamaño de la varilla y el calibre del conductor para puesta a tierra con el cual se puede usar el conector.
10. REQUISITOS DE LAS OFERTAS
El Oferente obligatoriamente deberá incluir con su propuesta, la siguiente información:• Relación de los bienes cotizados.
• Información del oferente.
• Planilla de características técnicas garantizadas, la cual deberá ser diligenciada completamente, firmada y sellada por el oferente. Debe ser diligenciado en formato Excel y en medio digital.
• Catálogos originales, completos y actualizados del fabricante, que correspondan a las abrazaderas cotizados en la planilla de características técnicas garantizadas.
• Relación de los ensayos realizados a la abrazadera de acuerdo con lo indicado en el numeral 8 de la presente especificación.
• El oferente adjuntará con su propuesta el certificado de conformidad de producto con noma técnica y con RETIE, expedido por una entidad acreditada por ONAC. Además deberá presentar el certificado del sistema de gestión de la calidad bajo ISO 9001.
• Relación de clientes, evidencia de su capacidad técnica y experiencias relacionadas con los materiales y/o equipos cotizados.
• Carta de garantía de los bienes cotizados.
• En caso que se requiera se podrán exigir muestras de cada uno de los tipos ofertados sin cargo a devolución, con cada una de las características técnicas, solicitadas y mencionadas en la presente especificación.
• Se deben relacionar las excepciones de carácter exclusivamente técnico de la oferta, respecto a los bienes solicitados. Si la oferta no presenta excepción, se indicaría expresamente en el mismo “NO HAY EXCEPCIONES”
• Información adicional que considere aporta explicación a su diseño (dibujos, detalles, características de operación, dimensiones y pesos de los materiales ofertados).
Enel Colombia S.A. podrá descartar ofertas que no cumplan con las anteriores disposiciones, sin expresión de causa ni obligación de compensación.
11. GARANTÍA DE FÁBRICA
Enel Colombia S.A. E.S.P requiere como mínimo, un período de garantía de fábrica de cuarenta y ocho (48) meses, a partir de la entrega de los bienes.12. VIDA ÚTIL
Enel Colombia S.A. E.S.P requiere como mínimo una vida útil de 25 años, a partir de la entrega de los bienes.ANEXO. CARACTERÍSTICAS TÉCNICAS GARANTIZADAS
| N° | DESCRIPCIÓN | OFERTADO | |
| 1 | Proponente | Fabricante | |
| País de fabricación | |||
| Representante del fabricante | |||
| 2 | Normas | Fabricación y pruebas | |
| 3 | Material del conector | ||
| 4 | Diámetro de la varilla para la que se puede utilizar el conector | ||
| 5 | Calibre del cable para el que se puede utilizar el conector | ||
| 6 | Dimensiones del fleje de acero para el que se puede utilizar el conector | ||
| 7 | Entrega todos los protocolos de pruebas requeridas (Si/No, describir) | ||
| 8 | Cumple con la marcación solicitada (Si/No, describir) | ||
| 9 | Desviaciones presentadas (Si/No, describir en caso afirmativo) | ||
| 10 | Garantía (meses) | ||
| 11 | Vida útil (años) | ||
| 12 | Informar cuál es la herramienta requerida para la instalación del conector | ||
| RESULTADO DE EVALUACIÓN TÉCNICA | |||
| A | Certificado Sistema de calidad (ISO 9001) | Entidad certificadora | |
| Número de certificado | |||
| Fecha de aprobación (Día/Mes/Año) | |||
| Vigencia | |||
| Adjunta el certificado (Si/No) | |||
| B | Certificación de producto con norma técnica | Entidad certificadora | |
| Número de certificado | |||
| Fecha de aprobación (Día/Mes/Año) | |||
| Vigencia | |||
| Norma técnica con la cual se certifica | |||
| Adjunta el certificado (Si/No) | |||
| C | Certificación de producto con RETIE | Entidad certificadora | |
| Número de certificado | |||
| Fecha de aprobación (Día/Mes/Año) | |||
| Vigencia | |||
| Adjunta el certificado (Si/No) | |||
| RESULTADO DE EVALUACIÓN REGULATORIA | |||
| D | Observaciones | ||
DATOS ADICIONALES
Revisión #
1
Fecha de entrada en vigencia
Actividad de los usuarios
Para hacer comentarios debe iniciar sesión o registrarse aquí