ET455 Espárrago de acero
- Contenido
1. OBJETO
Esta especificación técnica tiene por objeto establecer las características y requisitos técnicos que deben cumplir y los ensayos a los cuales deben ser sometidos los espárragos de acero que solicitará Enel Colombia, para el sistema eléctrico de distribución.2. ALCANCE
Esta especificación técnica se aplicará en todos los espárragos de acero que adquiera Enel Colombia.3. SERVICIO
Estos herrajes se usan para montar y/o fijar otros elementos; son de servicio continuo. Están formados por un cuerpo cilíndrico roscado.4. SISTEMA DE UNIDADES
En todos los documentos técnicos se deben expresar las cantidades numéricas en unidades del sistema Internacional (S.I.). Si se usan catálogos, folletos o planos, en sistemas diferentes de unidades, deben hacerse las conversiones respectivas.5. NORMAS DE FABRICACIÓN Y PRUEBAS
| NORMA | DESCRIPCIÓN |
| NTC 858-1 | Descarburizacion en elementos de fijacion roscados templados y revenidos. |
| NTC 858-2 | Elementos de fijación. Requisitos mecánicos y de materiales para disposición de retención roscados exteriormente. |
| NTC 2076 | Recubrimiento de zinc por inmersión en caliente para elementos en hierro y acero. |
| NTC 2618 | Electrotecnia. Herrajes y accesorios para redes y líneas aéreas de distribución de energía eléctrica. Tornillos y tuercas de acero galvanizado. Serie inglesa |
Pueden emplearse otras normas internacionalmente reconocidas equivalentes o superiores a las aquí señaladas, siempre y cuando se ajusten a lo solicitado en la presente especificación técnica .
Las normas citadas en la presente especificación (o cualquier otra que llegare a ser aceptada por Enel Colombia) se refieren a su última revisión.
6. REQUISITOS
Son elementos de características geométricas y mecánicas tales que les permiten adaptarse a las limitaciones impuestas por otros elementos.Los espárragos de acero deberán ser fabricados según las especificaciones de las normas NTC 858-1, deberán tener un recubrimiento para evitar la corrosión .
6.1 GEOMÉTRICOS
Los espárragos de acero serán de la forma y dimensiones que se muestran en la figura 1.Las dimensiones y clases de roscas para las tuercas roscadas internamente tendrán una rosca que esté de acuerdo con la tabla 2 y la norma NTC 858-1.
Las roscas serán roscas unificas según normas NTC 858-2. El perfil de rosca será según la misma norma, con ángulo de 60 grados.
Las tuercas tendrán un recubrimiento para evitar la corrosión . Las tuercas darán un ajuste clase 2B y entrarán libremente (manualmente) en la parte roscada.
TABLA 1.
DIMENSIONES DE LA ROSCA DEL ESPARRAGO
| ROSCA DEL ESPARRAGO | |||||||||
| DIAMETRO NOMINAL | SERIE | CLASE DE AJUSTE | ERROR ADMISIBLE | DIAMETRO MAYOR | DIAMETRO MEDIO -PITCH | DIAMETRO MENOR | |||
| MAX | MIN | MAX | MIN | TOLERANCIA | MAX | ||||
| 5/8" - 11 | UNC | 2A | 0,0016 | 0,6234 | 0,6113 | 0,5644 | 0,5589 | 0,0055 | 0,525 |
TABLA 2.
DIMENSIONES DE LA ROSCA DE LA TUERCA
| ROSCA DE LA TUERCA | |||||||||
| DIAMETRO NOMINAL | SERIE | CLASE DE AJUSTE | ERROR ADMISIBLE | DIAMETRO MENOR | DIAMETRO MEDIO -PITCH | DIAMETRO MENOR | |||
| MIN | MAX | MIN | MIN | TOLERANCIA | MIN | ||||
| 5/8" - 11 | UNC | 2B | 0,527 | 0,546 | 0,566 | 0,5732 | 0,0072 | 0,625 | |
6.2 QUÍMICOS
Los espárragos, arandelas y las tuercas deben cumplir con los siguientes requisitos, de la tabla 3:TABLA 3.
| REQUISITOS QUIMICOS | |||
| ELEMENTO | ARANDELAS DE PRESIÓN | PERNOS | TUERCAS Y ARANDELAS |
| % Carbono, máx. | 0,55 | 0,28 | 0,28 |
| % Fósforo, máx. | 0,048 | 0,048 | 0,048 |
| % Azufre, máx. | 0,058 | 0,058 | 0,058 |
| % Manganeso mín. | - | - | |
6.3 MECÁNICOS
Los materiales de los espárragos, arandelas y las tuercas deberán cumplir los siguientes requisitos de acuerdo al proceso de fabricación:- Los espárragos de 5/8”deberán soportar de carga de prueba de un minuto de 55000 lbs/pulg 2 (38,6 kg/mm 2 ) sin sufrir ningún deterioro y resistencia mínima a la tracción de 74000 lbs/pulg 2 (52 kg/mm 2 ) y una dureza Rockwell B mínima de 80 y máxima de 100.
- Las tuercas de 5/8”deberán soportar la carga de prueba por un minuto de 90000 lbs/pulg 2 (63,27 kg/mm 2 ) y una dureza Rockwell C máxima de 32.
- Las arandelas de presión tendrán una dureza Rockwell C máxima de 51 y mínima de 45.
- Las arandelas planas tendrán una dureza Rockwell C máxima de 32.
6.4 REQUISITOS DEL RECUBRIMIENTO
Para el recubrimiento se acepta el galvanizado por inmersión en caliente y como alternativa el recubrimiento órgano metálico por micro capas. La determinación del tipo de recubrimiento lo realizara Enel Colombia en el proceso de licitación,6.4.1 Galvanizado por inmersión en caliente
Los espárragos de acero, arandelas y las tuercas serán totalmente galvanizadas por inmersión en caliente y deberán cumplir con las especificaciones técnicas de la norma NTC 2076, además deben estar libres de burbujas, áreas sin revestimiento, depósitos de escoria, manchas negras y cualquier otro tipo de inclusiones o imperfecciones.Las roscas pueden ser repasadas en dimensiones estándar. La rosca interna no queda necesariamente galvanizada.
La capa de material de cinc utilizado será de calidad especial según norma NTC 2076 (Tabla 4)
TABLA 4.
| COMPOSICIÓN QUIMICA DEL CINC ( % ) | ||||
| GRADO | Plomo Max | Hierro máx. | Cadmio máx. | Cinc, mín. |
| Especial | 0,03 | 0,02 | 0,02 | 99,9 |
TABLA 5.
| REQUISITOS DE GALVANIZADO | ||||
| ELEMENTO | PROMEDIO | MINIMO | ||
| g/m 2 | µ m | g/m 2 | µ m | |
| Elementos Roscados | 397 | 56,6 | 336 | 48 |
6.4.2 Recubrimiento Órgano Metálico
El recubrimiento órgano metálico se realiza a base de zinc y aluminio, por micro capas de acuerdo con la especificación ET470 .6.5 REQUISITOS DEL ACABADO
Los espárragos y las tuercas deben ser de una sola pieza, libres de soldaduras, libres de deformaciones, fisura, aristas cortantes, y defectos de laminación. El recubrimiento debe estar libre de burbujas, depósitos de escorias, manchas negras, excoriaciones y/u otro tipo de inclusiones.7. CRITERIOS DE ACEPTACION O RECHAZO
Si el número de elementos defectuosos es menor o igual al correspondiente número de defectuosos definidos a continuación, se deberá considerar que el lote cumple con los requisitos técnicos exigidos por Enel Colombia, en caso contrario, el lote se rechazará.Inspección Visual y Dimensional
De acuerdo a la tabla a continuación.
| Tabla inspección visual y dimensional | |||
| Tamaño del lote | Muestra | Aceptado | Rechazado |
| 2 a 8 | 2 | 0 | 1 |
| 9 a 15 | 2 | 0 | 1 |
| 16 a 25 | 2 | 0 | 1 |
| 26 a 50 | 3 | 0 | 1 |
| 51 a 90 | 5 | 1 | 2 |
| 91 a 150 | 8 | 1 | 2 |
| 151 a 280 | 13 | 1 | 2 |
| 281 a 500 | 20 | 2 | 3 |
| 501 a 1200 | 32 | 3 | 4 |
| 1201 a 3200 | 50 | 5 | 6 |
| 3201 a 10000 | 80 | 6 | 7 |
| 10001 a 35000 | 125 | 8 | 9 |
| 35001 a 150000 | 200 | 10 | 11 |
| 150001 a 500000 | 315 | 10 | 11 |
Ensayos mecánicos
De acuerdo a la tabla a continuación.
| Tabla inspección visual y dimensional | |||
| Tamaño del lote | Muestra | Aceptado | Rechazado |
| 2 a 8 | 2 | 0 | 1 |
| 9 a 15 | 2 | 0 | 1 |
| 16 a 25 | 2 | 0 | 1 |
| 26 a 50 | 2 | 0 | 1 |
| 51 a 90 | 2 | 0 | 1 |
| 91 a 150 | 2 | 0 | 1 |
| 151 a 280 | 3 | 0 | 1 |
| 281 a 500 | 3 | 0 | 1 |
| 501 a 1200 | 5 | 1 | 2 |
| 1201 a 3200 | 6 | 1 | 2 |
| 3201 a 10000 | 8 | 1 | 2 |
| 10001 a 35000 | 8 | 1 | 2 |
| 35001 a 150000 | 13 | 1 | 2 |
| 150001 a 500000 | 13 | 1 | 2 |
8. PRUEBAS
8.1 PRUEBAS TIPO
8.1.1 Prueba dimensional
La verificación de las dimensiones se hará con los instrumentos de medida que den la aproximación requerida, entre otros calibrador pie de rey, micrómetro de interiores, calibrador de peines de roscas, etc. El plan de muestreo deberá estar de acuerdo con la tabla 6.8.1.2 Análisis químico
Se efectuará el análisis químico de acuerdo a lo requerido en el numeral 4.2 y las normas NTC 23 y 180 (carbono), NTC 27 (azufre), NTC 181 (fósforo), NTC 24 o 25 (manganeso), NTC 26 o 28 (silicio) o en su defecto se aceptará un certificado de calidad de los materiales empleados, emitido por un laboratorio reconocido y aprobado por Enel Colombia. El análisis químico puede ser realizado en un espectrómetro calibrado con los patrones correspondientes.8.1.3 Prueba mecánica
- 8.1.3.1 Ensayo de tracción*
- Los espárragos una carga de prueba durante un minuto de 55000 lbs/pulg 2 (38,6 kg/mm 2 ) sin sufrir ningún deterioro y resistencia mínima a la tracción de 74000 lbs/pulg 2 (52 kg/mm 2 ) y una dureza Rockwell B mínima de 80 y máxima de 100.
- Las tuercas deberán soportar la carga de prueba por un minuto de 90000 lbs/pulg 2 (63,27 kg/mm 2 ) y una dureza Rockwell C máxima de 32.
- Las arandelas de presión tendrán una dureza Rockwell C máxima de 51 y mínima de 45.
- Las arandelas planas tendrán una dureza Rockwell C máxima de 32.
8.1.3.2 Prueba de recubrimiento
Para elementos galvanizados, esta prueba se hará de acuerdo a la norma NTC 2076. Para los elementos de fijación - tornillos, tuercas, arandelas se harán las pruebas de acuerdo a la NTC 3241 con los siguientes requisitos establecidos en la tabla Nº 8.
TABLA 8.
PRUEBA DE GALVANIZADO
| ELEMENTO | NÚMERO DE INMERSIONES |
| ESPARRAGO | 4 |
La prueba de espesor de recubrimiento puede ser con ecómetro debidamente calibrado.
8.2 PRUEBAS DE RECEPCIÓN
Las pruebas de recepción son:- Inspección visual
- Verificación dimensional
- Verificación certificados de calidad
- Verificación espesor de galvanizado
- Ensayo de tracción
9. EMPAQUE Y ROTULADO
9.1 EMPAQUE
Los espárragos irán engrasados, con sus tuercas y arandelas instaladas, se empacarán en cajas de madera de tal manera que no sufran durante el transporte, manipuleo y almacenamiento.9.2 ROTULADO
En cada caja se colocará un rótulo con la siguiente información.- Especificación del contenido con su referencia.
- Nombre y razón social del proveedor.
- País de origen.
- Cantidad de elementos.
- Peso unitario, peso total bruto y neto.
- Palabra Enel Colombia.
- Número de contrato o pedido.
- Fecha de entrega.
- Código de Almacén.
10. REQUISITOS DE LAS OFERTAS
El Oferente obligatoriamente deberá incluir con su propuesta, la siguiente información:- Relación de los bienes cotizados.
- Información del oferente.
- Planilla de características técnicas garantizadas, la cual deberá ser diligenciada completamente en formato Excel.
- Catálogos originales, completos y actualizados del fabricante, que correspondan a las abrazaderas cotizados en la planilla de características técnicas garantizadas.
- Relación de los ensayos realizados a la abrazadera de acuerdo con lo indicado en el apartado 8 de la presente especificación.
- El oferente adjuntará con su propuesta el certificado de conformidad de producto con noma técnica y con RETIE , expedido por una entidad autorizada por la ONAC. Además deberá presentar el certificado de calidad ISO 9001.
- Relación de clientes, evidencia de su capacidad técnica y experiencias relacionadas con los materiales y/o equipos cotizados.
- Carta de garantía de los bienes cotizados.
- En caso que se requiera se podrán exigir muestras de cada uno de los tipos ofertados sin cargo a devolución, con cada una de las características técnicas, solicitadas y mencionadas en la presente especificación.
- Se deben relacionar las excepciones de carácter exclusivamente técnico de la oferta, respecto a los bienes solicitados. Si la oferta no presenta excepción, se indicaría expresamente en el mismo “NO HAY EXCEPCIONES”
- Información adicional que considere aporta explicación a su diseño (dibujos, detalles, características de operación, dimensiones y pesos de los materiales ofertados).
Enel Colombia podrá descartar ofertas que no cumplan con las anteriores disposiciones, sin expresión de causa ni obligación de compensación.
11. GARANTÍA DE FÁBRICA
Enel Colombia requiere como mínimo, un período de garantía de fábrica de cuarenta y ocho (48) meses, a partir de la entrega de los bienes.
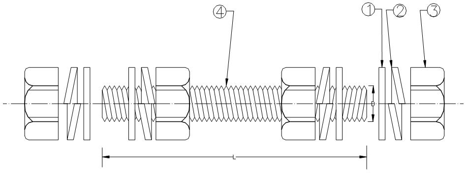
FIGURA 1
| ELEMENTOS INCLUIDOS | ||
| No. | Cantidad | Descripción |
| 4 | 1 | Espárrago |
| 3 | 4 | Tuerca Hexagonal |
| 2 | 4 | Arandela de presión |
| 1 | 4 | Arandela redonda |
| DIMENSIONES | |||||
| Símbolo | SAP | D | L | ||
| mm | pulgadas | mm | pulgadas | ||
| t 0 | 16 | 5/8 | 200 | 8 | |
| t' 0 | 6762475 | 16 | 5/8 | 254 | 10 |
| t' 1 | 6762476 | 16 | 5/8 | 304 | 12 |
| t 1 | 6762183 | 16 | 5/8 | 457 | 18 |
| t 2 | 6762255 | 16 | 5/8 | 508 | 20 |
| t 3 | 6762256 | 16 | 5/8 | 610 | 24 |
1. Recubrimiento con galvanizado por inmersión en caliente o recubrimiento órgano metálico.
2. Dimensiones en milímetros y pulgadas.
3. Material acero NTC 858-1.
ANEXO 1. CARACTERÍSTICAS TÉCNICAS GARANTIZADAS
| N° | DESCRIPCIÓN | OFERTADO | ||
| 1 | Proponente | Fabricante | ||
| País de fabricación | ||||
| 2 | Normas | Fabricación y pruebas | ||
| 3 | Material de fabricación (tipo de acero) | |||
| 4 | Dimensiones | Diámetro del espárrago (mm/pulgadas) | ||
| Longitud “L” (mm/pulgadas) | ||||
| Diámetro de la rosca | ||||
| Perfil de la rosca | ||||
| 5 | Elementos incluidos | Tuerca (Si/No, cantidad) | ||
| Arandela redonda (Si/No, cantidad) | ||||
| Arandela de presión (Si/No, cantidad) | ||||
| 6 | Carga mínima lbs/pulg 2 (kg/mm 2 ) | |||
| 7 | Resistencia mínima a la tracción lbs/pulg 2 (kg/mm 2 ) | |||
| 8 | Dureza Rockwell (mínima - máxima) | |||
| 9 | Recubrimiento | Galvanizado | Tipo (Describir) | |
| Espesor (min/prom, µm) | ||||
| Órgano Metálico | Grado de corrosión (indicar alto / medio acorde con ET470 ) | |||
| Espesor capa ( µm) | ||||
| Horas mínimas de SST- Salt Spray Test | ||||
| Cumple con los ensayos indicados en la ET470 | ||||
| 10 | Ensayos | Anexan pruebas (Si/No, describir cuales) | ||
| Están incluidas dentro del precio del material (Si/No) | ||||
| A realizar en fabrica (Describir) | ||||
| 11 | Garantía (meses) | |||
| 12 | Desviaciones presentadas | |||
| RESULTADO DE EVALUACIÓN TÉCNICA | ||||
| 13 | Certificado Sistema de calidad(Norma ISO 9001) | Entidad certificadora | ||
| Número de certificado | ||||
| Fecha de aprobación (Día/Mes/Año) | ||||
| Vigencia | ||||
| Adjunta el certificado (Si/No) | ||||
| 14 | Certificación de producto con norma técnica | Entidad certificadora | ||
| Número de certificado | ||||
| Fecha de aprobación (Día/Mes/Año) | ||||
| Vigencia | ||||
| Norma técnica con la cual se certifica | ||||
| Adjunta el certificado (Si/No) | ||||
| 15 | Certificación de producto con RETIE | Entidad certificadora | ||
| Número de certificado | ||||
| Fecha de aprobación (Día/Mes/Año) | ||||
| Vigencia | ||||
| Adjunta el certificado (Si/No) | ||||
| RESULTADO DE EVALUACIÓN REGULATORIA | ||||
| 16 | Observaciones | |||
DATOS ADICIONALES
Revisión #
6
Fecha de entrada en vigencia
Actividad de los usuarios
Para hacer comentarios debe iniciar sesión o registrarse aquí