ET448 Herrajes para suspensión y retención de red aislada aérea de media tensión
- Contenido
1. OBJETO
Esta especificación técnica tiene por objeto establecer las características y requisito s técnicos que deben cumplir y los ensayos a los cuales deben ser sometidos los herrajes para la red aislada aérea de media tensión, familia de normas ( LA650 ).2. ALCANCE
Esta especificación técnica se aplicará a todos los elementos del objeto que sean utilizados en el sistema de distribución de energía eléctrica de Enel Colombia.3. CONDICIONES DE SERVICIO
Los elementos serán instalados a la intemperie en las siguientes condiciones:| CARACTERÍSTICAS AMBIENTALES | |
| Altura sobre el nivel del mar | Desde 600 a los 2 900 m.s.n.m. |
| Ambiente | Tropical |
| Humedad relativa | Desde 20 % al 100 % |
| Temperatura | -5 °C a 45 °C |
| Polución | Medio. IEC 60815:2008 clase c |
| CARACTERÍSTICAS ELÉCTRICAS | |
| Tensión Nominal | 11,4 kV – 13,2 kV - 34,5 kV |
| Tensión Máxima | 15 kV– 36 kV |
| Frecuencia del sistema | 60 Hz |
4. SISTEMA DE UNIDADES
Todos los documentos tanto de la propuesta como del contrato de suministro, deben expresar las cantidades numéricas en unidades del Sistema Internacional (SI). Si el oferente utiliza en sus libros de instrucción, folletos o dibujos, unidades en sistema s diferentes, debe hacer las conversiones respectivas.5. NORMAS DE FABRICACIÓN Y PRUEBAS
| NORMA | DESCRIPCIÓN |
| NTC 2076 | Galvanizado por inmersión en caliente para herrajes y perfiles estructurales de hierro y acero. |
6. REQUISITOS TÉCNICOS PARTICULARES
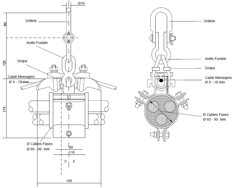
Conjunto de suspensión, compuesto por:| Cantidad | Descripción | Figura |
| 1 | Soporte de suspensión | 1 |
| 1 | Grapa de suspensión | 2 |
| 1 | Abrazadera | 7 |
Conjunto de retención sencillo, compuesto por:
| Cantidad | Descripción | Figura |
| 1 | Soporte de suspensión | 3 |
| 1 | Grapa de retención | 4 |
| 1 | Grillete de retención | 6 |
| 1 | Varilla de retención | 5 |
| 1 | Abrazadera | 7 |
Conjunto de retención doble, compuesto por:
| Cantidad | Descripción | Figura |
| 1 | Soporte de suspensión | 3 |
| 2 | Grapa de retención | 4 |
| 2 | Grillete de retención | 6 |
| 2 | Varilla de retención | 5 |
| 1 | Abrazadera | 7 |
6.1. REQUISITOS CONSTRUCTIVOS
Los materiales de los herrajes no deben alterarse durante su vida útil por la humedad, radiación solar, rayo s ultravioleta y otras condiciones ambientales desfavorables.El material de las partes del herraje que tengan contacto con la cubierta de los cable s deberá garantizar que no causará daño de estos.
La vida útil de los elementos objeto de esta Especificación Técnica no debe ser menor de 25 años.
Los componentes de las grapas deberán ser imperdibles entre sí, deberán permitir su montaje y apriete sin el empleo de herramientas especiales.
El cable mensajero puede ser desnudo o cubierto.
6.2. REQUISITOS GEOMÉTRICOS
En caso de existir variaciones al diseño establecido esta especificación el mismo deberá ser validado previamente por Enel Colombia antes de su adjudicación.Las partes de las grapas que alojen los cable s mensajeros de la red aislada deben garantizar que puedan utilizarse para un diámetro total del cable mínimo en el rango de 9 a 18 mm. Ver figuras 2 y 4.
Las partes de las grapas que alojen los tres (3) cable s de fases de la red aislada deben garantizar que puedan utilizarse para un diámetro total mínimo en el rango de 60 a 90 mm. Ver figuras 2 y 4.
6.2.1. Conjunto suspensión
FOTOGRAFÍA 1 Conjunto suspensión
6.2.1.1. Soporte de suspensión
Con base en la aplicación de las estructuras de suspensión, definida en la norma LA01-1 con ángulos de 0 ° a 5 °, entonces este herraje aplica para postes con carga de rotura hasta 2250 kgf. Por lo tanto, el diámetro instalación en poste es de máximo de 300 mm.
FIGURA 2 Grapa de suspensión
6.2.2. Conjunto Retención
FOTOGRAFÍA 2 Conjunto de retención
6.2.2.1. Soporte de retención
FIGURA 3.1 Soporte de retención
6.2.2.2. Grapa de retención
FIGURA 4 Grapa de retención
6.2.2.3. Varilla para grapa de retención
FIGURA 5 Varilla para grapa de retención
6.2.2.4. Grillete de retención
FIGURA 6 Grillete de retención
6.3 ABRAZADERA DE LOS SOPORTES A POSTE
• Las medidas de las figuras se dan en milímetros (mm).
6.4 REQUISITOS QUÍMICOS
Los elementos de los conjuntos de suspensión y retención deben fabricarse en fundición de acero o fundición nodular, cumpliendo con las especificaciones de la norma NEMA PH5 o ASTM A339-55 Fundiciones Nodulares, última revisión y deberán ser galvanizadas según norma NTC 2076.Los materiales componentes del soporte deben cumplir con los siguientes requisitos químicos:
TABLA 1
| REQUISITOS QUIMICOS | ||
| ELEMENTO | FUNDICIÓN NODULAR | SAE 1020 |
| % Carbono | 3,2 a 4,1 | 0,18 a 0,22 |
| % Fósforo, máx. | 0,1 | 0,05 |
| % Azufre, máx | 0,03 | 0,05 |
| % Manganeso mín | 0,8 | 0,3 a 0,6 |
| % Silicio, | 1,8 a 2,8 | 0,05 |
Las tuercas se fabricarán siguiendo la especificación técnica ( ET463 ).
6.5 REQUISITOS MECÁNICOS
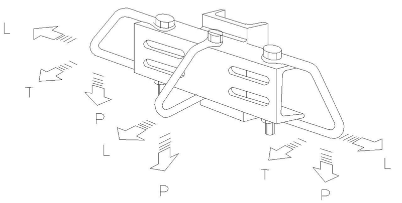
En la figura 8 se representan los tipos de desplazamientos y esfuerzos que se mencionan en la presente ET.
FIGURA 8 Desplazamientos y esfuerzos
Los conjuntos deben ser diseñados y construidos de tal forma que permitan el desplazamiento lateral y longitudinal del cable mensajero en un ángulo de 15º como máximo, a uno y otro lado.
Los conjuntos de suspensión deben soportar los esfuerzos mecánicos dados en la tabla 2
TABLA 2
| Esfuerzo | Nominal (kgf) | Rotura (kgf) |
| Vertical (P) | 700 | 1000 |
| Horizontal (L) | 1120 | 1600 |
| Transversal (T) | 500 | 1000 |
| Fusible que libera el cable mensajero | 700 | 850 |
TABLA 3
| Esfuerzo | Nominal (kgf) | Rotura (kgf) |
| Vertical (P) | 700 | 1000 |
| Horizontal (L) | 2000 | 1600 |
| Transversal (T) | 1000 | 4000 |
| Fusible que libera el cable mensajero | 700 | 850 |
6.6 REQUISITOS DEL RECUBRIMIENTO
Los elementos de los conjuntos de suspensión y retención deben ser galvanizados por inmersión en caliente o el recubrimiento órgano metálico por micro capas.6.6.1 Galvanizado
Todos los elementos serán totalmente galvanizadas por inmersión en caliente y deberán cumplir con lo especificado en la Norma NTC 2076 y deben estar libres de burbujas, áreas sin revestimiento, depósitos de escoria, escoriaciones o cualquier otra imperfección. La capa de material de cinc utilizado será de calidad especial según norma NTC 2076 (tabla 4). La capa debe ser mínimo debe ser de 60 µ m.TABLA 4
| COMPOSICIÓN QUIMICA DEL CINC ( % ) | ||||
| GRADO | Plomo máx | Hierro máx | Cadmio máx | Cinc, mín |
| Especial | 0,03 | 0,02 | 0,02 | 99,9 |
6.6.2 Órgano metálico
El recubrimiento órgano metálico se realiza a base de cinc y aluminio, por micro capas de acuerdo con la especificación ( ET470 ).6.7 REQUISITOS DEL ACABADO
Las partes de los soportes deben ser de una sola pieza, libres de soldaduras, deformaciones, fisuras, aristas cortantes, y defectos de laminación. No se permiten dobleces ni rebabas en las zonas de corte, perforadas o punzadas. El recubrimiento debe estar libre de burbujas, depósitos de escorias, manchas negras, escoriaciones y/u otro tipo de inclusiones.7. CRITERIOS DE ACEPTACIÓN O RECHAZO
Si el número de elementos defectuosos es menor o igual al correspondiente número de defectuosos definidos a continuación, se deberá considerar que el lote cumple con los requisitos técnicos exigidos por Enel Colombia, en caso contrario, el lote se rechazará.Inspección Visual y Dimensional
De acuerdo a la tabla a continuación.
| Tabla inspección visual y dimensional | |||
| Tamaño del lote | Muestra | Aceptado | Rechazado |
| 2 a 8 | 2 | 0 | 1 |
| 9 a 15 | 2 | 0 | 1 |
| 16 a 25 | 2 | 0 | 1 |
| 26 a 50 | 3 | 0 | 1 |
| 51 a 90 | 5 | 1 | 2 |
| 91 a 150 | 8 | 1 | 2 |
| 151 a 280 | 13 | 1 | 2 |
| 281 a 500 | 20 | 2 | 3 |
| 501 a 1200 | 32 | 3 | 4 |
| 1201 a 3200 | 50 | 5 | 6 |
| 3201 a 10000 | 80 | 6 | 7 |
| 10001 a 35000 | 125 | 8 | 9 |
| 35001 a 150000 | 200 | 10 | 11 |
| 150001 a 500000 | 315 | 10 | 11 |
Ensayos mecánicos
De acuerdo a la tabla a continuación.
| Tabla inspección visual y dimensional | |||
| Tamaño del lote | Muestra | Aceptado | Rechazado |
| 2 a 8 | 2 | 0 | 1 |
| 9 a 15 | 2 | 0 | 1 |
| 16 a 25 | 2 | 0 | 1 |
| 26 a 50 | 2 | 0 | 1 |
| 51 a 90 | 2 | 0 | 1 |
| 91 a 150 | 2 | 0 | 1 |
| 151 a 280 | 3 | 0 | 1 |
| 281 a 500 | 3 | 0 | 1 |
| 501 a 1200 | 5 | 1 | 2 |
| 1201 a 3200 | 6 | 1 | 2 |
| 3201 a 10000 | 8 | 1 | 2 |
| 10001 a 35000 | 8 | 1 | 2 |
| 35001 a 150000 | 13 | 1 | 2 |
| 150001 a 500000 | 13 | 1 | 2 |
8. PRUEBAS Y RECEPCIÓN
La recepción del material será efectuada por representantes de Enel Colombia, a tal fin, ésta o sus representantes serán avisados por lo menos con 15 días de anticipación a fin de asistir a las pruebas.La ausencia de los representantes de Enel Colombia en el momento de ejecutar los ensayo s y pruebas según lo programado, aún cuando hayan sido debidamente avisados, no eximirá al proveedor de efectuarlos, previa conformidad de Enel Colombia y deberá comunicar inmediatamente a ésta el resultado de los mismos.
Los ensayo s tipo serán efectuados en laboratorios acreditados por ONAC.
Los ensayo s y todas las piezas destruidas en los mismos serán por cuenta y cargo del proveedor.
Los gastos de los representantes de Enel Colombia no estarán incluidos en el precio si los ensayo s tipo se realizan en la ciudad de Bogotá.
La recepción del material quedará subordinada a:
• Resultado satisfactorio de los ensayo s tipo.
• Resultado satisfactorio de los ensayo s de entrega
8.1 ENSAYOS TIPO
Los ensayo s se enumeran a continuación:• Verificación visual y dimensional.
• Mecánico.
• Corrosión.
El fabricante deberá presentar protocolos de los ensayo s tipo, efectuados
8.1.1. Verificación visual y dimensional
Se verificará la correcta terminación, características constructivas e identificación del material, y que las dimensiones correspondan al plano aprobado por Enel Colombia.8.1.2. Mecánico
El conjunto de suspensión o de retención se instalará en condiciones similares a las de servicio. Siguiendo las instrucciones del fabricante (presión de cierre, apriete u otras), se colocará un trozo de conductor mensajero, de longitud adecuada para la realización del ensayo .En estas condiciones se aplicará al conductor una carga verificando los valores de rotura dados en la tabla 2 y 3.
8.1.3 Corrosión
Deberán efectuarse los siguientes ensayo s:- Ensayo de envejecimiento climático, según Norma ASTM G 26-92, método N° 1, o norma equivalente.
- Ensayo de corrosión, para grapas construidas parcialmente con componentes metálicos.
Finalizado este ensayo los conjuntos no deberán presentar corrosión.
8.2.ENSAYO DE RECEPCIÓN
Las pruebas de recepción son:- Inspección visual
- Verificación dimensional
- Verificación certificados de calidad
- Verificación espesor de galvanizado
- Ensayo de esfuerzo horizontal
- Ensayo de esfuerzo vertical
- Ensayo de esfuerzo transversal
9. EMPAQUE, ROTULADO Y MARCACIÓN
Cada herraje será entregado en una bolsa sellada de polietileno. Las bolsas llevarán impresa en forma indeleble la identificación. Los herrajes así empacados, serán colocados en cajas de cartón corrugado resistente al manipuleo y almacenamiento.En cada caja se colocará un rótulo con la siguiente información:
• Razón social del proveedor.
• Marca del fabricante
• Modelo de herraje contenido.
• Cantidad de elementos
• Peso total
• Enel Colombia
• N° de Orden de compra
• Fecha de entrega.
• Código de Almacén.
9.1. MARCACIÓN
El material debe cumplir la siguiente marcación en bajo o en alto relieve. No se acepta pintura ni calcomanía.Logo del fabricante
Lote
Enel Colombia
Mes y año de fabricación
Rango de uso
10. PRESENTACIÓN DE LAS OFERTAS
Para su análisis, será imprescindible que la oferta incluya la siguiente documentación:• Protocolos de los ensayos requeridos en esta especificación técnica. Deberá constar la metodología aplicada, los valores y resultados del ensayo.
• Descripción completa, planos, folletos y catálogos.
• Instrucciones de montaje.
• El proponente debe llenar la tabla de características técnicas solicitadas en el anexo 1 completamente diligenciado en formato Excel.
• El oferente adjuntará con su propuesta el certificado de conformidad de producto con noma técnica y con RETIE , expedido por una entidad autorizada por la ONAC. Además deberá presentar el certificado del sistema de gestión de la calidad ISO 9001.
ANEXO 1. CARACTERÍSTICAS TÉCNICAS GARANTIZADAS
| N° | DESCRIPCIÓN | GARANTIZADO | |
| 1 | Oferente | ||
| 2 | Fabricante | ||
| 3 | País | ||
| 4 | Referencia | ||
| 5 | Normas de fabricación y pruebas | ||
| 6 | Material soporte | ||
| 7 | Material Grapa | ||
| 8 | Material Fusible Mecánico | ||
| 9 | Material sello que rodea los cables de fase | ||
| 10 | Rango de diámetro de cable mensajero (mm) | ||
| 11 | Carga de rotura vertical (kgf) | ||
| 12 | Carga de rotura horizontal (kgf) | ||
| 13 | Carga de rotura deslizamiento (kgf) | ||
| 14 | Carga a la cuál se libera el cable mensajero (kgf) | ||
| 15 | Tipo de galvanizado | ||
| 16 | Espesor del galvanizado ( µ m) | ||
| 17 | Peso del conjunto (kg) | ||
| 18 | Vida útil garantizada (Años) | ||
| RESULTADO DE EVALUACIÓN TÉCNICA | |||
| a. | Certificado del Sistema de Gestión de la Calidad (ISO 9001) | Entidad certificadora | |
| Número de certificado | |||
| Fecha de aprobación (Día/Mes/Año) | |||
| Vigencia | |||
| Adjunta el certificado (Si/No) | |||
| b. | Certificado de producto con Norma Técnica | Entidad certificadora | |
| Número de certificado | |||
| Fecha de aprobación (Día/Mes/Año) | |||
| Vigencia | |||
| Norma técnica con la cual se certifica | |||
| Adjunta el certificado (Si/No) | |||
| c. | Certificado de producto con RETIE de los Herrajes | Entidad certificadora | |
| Número de certificado | |||
| Fecha de aprobación (Día/Mes/Año) | |||
| Vigencia | |||
| Adjunta el certificado (Si/No) | |||
| RESULTADO DE EVALUACIÓN REGULATORIA | |||
| d. | Observaciones | ||
DATOS ADICIONALES
Revisión #
2
Fecha de entrada en vigencia
Actividad de los usuarios
Para hacer comentarios debe iniciar sesión o registrarse aquí