ET443 Soporte tangencial para red compacta de 15 kV y 34,5 kV
- Contenido
1. OBJETO
Esta especificación técnica tiene por objeto establecer las características, los requisitos técnicos y los ensayos que deben cumplir los soportes tangenciales y sus accesorios para red compacta.2. ALCANCE
Esta especificación técnica se aplicará para todos los soportes tangenciales utilizados en red compacta que adquiera Enel Colombia.3. CONDICIONES GENERALES
3.1 CONDICIONES AMBIENTALES
Estos dispositivos serán utilizados en el sistema de distribución de energía del área de concesión de Enel Colombia, bajo las siguientes condiciones:| CARACTERÍSTICAS AMBIENTALES | |
| Altura sobre el nivel del mar | 2 700 m.s.n.m. |
| Ambiente | Tropical |
| Humedad | Mayor al 90 % |
| Temperatura máxima y mínima | 45 ºC y - 5 ºC respectivamente. |
3.2 CONDICIONES ELÉCTRICAS
| CARACTERÍSTICAS ELÉCTRICAS | |
| Tensión Nominal del sistema | 34.5 kV – 13.2 – 11.4 kV |
| Frecuencia del sistema | 60 Hz |
| Disposición del sistema | Trifásico trifilar (3 Fases) |
4. SERVICIO
Los soportes tangenciales son elementos mecánicos que trabajan a tracción y cuya función es suspender el espaciador angular, quien a su vez soporta los cables semiaislados o aislados en redes de media tensión aéreas.5. SISTEMAS DE UNIDADES
En todos los documentos técnicos se deben expresar las cantidades numéricas en unidades del sistema Internacional (S.I.). Si se usan catálogos, folletos o planos, en sistemas diferentes de unidades, deben hacerse las conversiones respectivas.6. NORMAS RELACIONADAS
| NORMA | DESCRIPCIÓN | |
| NTC | 2076 | Electricidad . Galvanizado por inmersión en caliente para herrajes y perfiles estructurales de hierro y acero. |
Pueden emplearse otras normas internacionalmente reconocidas equivalentes o superiores a las aquí señaladas, siempre y cuando se ajusten a lo solicitado en la presente especificación técnica.
Las normas citadas en la presente especificación (o cualquier otra que llegare a ser aceptada por Enel Colombia) se refieren a su última revisión.
7. REQUISITOS
Las soportes tangenciales para líneas semiaisladas o aisladas aéreas de media tensión estarán construidos con materiales de la mejor calidad para ese fin, debiéndose descartar el empleo de materiales alterables por la humedad, radiación solar y otras condiciones ambientales desfavorables.7.1 GEOMÉTRICOS
En caso de existir variaciones al diseño establecido esta especificación el mismo deberá ser validado previamente por Enel Colombia. antes de su adjudicación.Los soportes tangenciales para redes compactas, serán de la forma y dimensiones que se muestran en la figura 1 y 2.
7.2 QUÍMICOS
Los soportes tangenciales para media tensión deben fabricarse en fundición de acero o fundición nodular, cumpliendo con las especificaciones de la norma NEMA PH5 o ASTM A339-55 Fundiciones Nodulares, última revisión y deberán ser galvanizadas según norma NTC 2076.Los materiales componentes del soporte deben cumplir con los siguientes requisitos químicos:
TABLA No. 1
| REQUISITOS QUÍMICOS | ||
| ELEMENTO | FUNDICIÓN NODULAR | SAE 1020 |
| % Carbono | 3,2 a 4,1 | 0,18 a 0,22 |
| % Fósforo, máx. | 0,1 | 0,05 |
| % Azufre, máx | 0,03 | 0,05 |
| % Manganeso mín | 0,8 | 0,3 a 0,6 |
| % Silicio, | 1,8 a 2,8 | 0,05 |
El proceso de obtención del herraje será únicamente por fundición en molde permanente.
7.3 ACCESORIOS
Los accesorios de los soportes tangenciales son la abrazadera para el cable mensajero, el estribo, los tornillos y las tuercas.La abrazadera para cable mensajero es utilizada en todos los soportes tangenciales en sistemas compactos. La abrazadera (figura 4) es moldeada en hierro dúctil, galvanizada en caliente después de la fabricación.
El Estribo de los soportes tangenciales es un accesorio que es usado para apoyar un espaciador directamente bajo soporte tangencial en un sistema compacto. El estribo (figura 3) es moldeado en hierro dúctil, galvanizada en caliente después de la fabricación.
El oferente debe presentar a Enel Colombia previamente a la adjudicación y/o durante la evaluación técnica el diseño propuesto del estribo.
Las tuercas se fabricarán siguiendo la especificación técnica ET463 .
7.4 REQUISITOS MECÁNICOS
Los soportes tangenciales deben cumplir satisfactoriamente con los requisitos de resistencia, en este caso estipulados en la tabla 6.7.5 REQUISITOS DE RECUBRIMIENTO
Todos los elementos serán totalmente galvanizadas por inmersión en caliente y deberán cumplir con lo especificado en la NTC 2076 y deben estar libres de burbujas, áreas sin revestimiento, depósitos de escoria, escoriaciones o cualquier otra imperfección.La capa de material de cinc utilizado será de calidad especial según norma NTC 2076 (tabla 2).
TABLA 2
| COMPOSICIÓN QUÍMICA DEL CINC ( % ) | ||||
| GRADO | Plomo máx | Hierro máx | Cadmio máx | Cinc, mín |
| Especial | 0,03 | 0,02 | 0,02 | 99,9 |
Para zonas contaminadas se especificarán galvanizados superiores a la Norma como se indica en la tabla 3:
TABLA No. 3
REQUISITOS DE GALVANIZADO PARA ZONAS CONTAMINADAS
| APLICACIÓN | PROMEDIO g/m² | MÍNIMO g/m² |
| Elementos ferrosos | 825 | 750 |
Requisitos de acabado
Los soportes tangenciales deberán estar libres de deformaciones, aristas cortantes y rellenos. La superficie de contacto entre el cable mensajero y abrazadera deberá ser completamente lisa y exenta de bordes cortantes que puedan tallar el cable.
8. CRITERIOS DE ACEPTACIÓN O RECHAZO
Si el número de elementos defectuosos es menor o igual al correspondiente número de defectuosos definidos a continuación, se deberá considerar que el lote cumple con los requisitos técnicos exigidos por Enel Colombia, en caso contrario, el lote se rechazará.Inspección Visual y Dimensional
De acuerdo a la tabla a continuación.
| Tabla inspección visual y dimensional | |||
| Tamaño del lote | Muestra | Aceptado | Rechazado |
| 2 a 8 | 2 | 0 | 1 |
| 9 a 15 | 2 | 0 | 1 |
| 16 a 25 | 2 | 0 | 1 |
| 26 a 50 | 3 | 0 | 1 |
| 51 a 90 | 5 | 1 | 2 |
| 91 a 150 | 8 | 1 | 2 |
| 151 a 280 | 13 | 1 | 2 |
| 281 a 500 | 20 | 2 | 3 |
| 501 a 1200 | 32 | 3 | 4 |
| 1201 a 3200 | 50 | 5 | 6 |
| 3201 a 10000 | 80 | 6 | 7 |
| 10001 a 35000 | 125 | 8 | 9 |
| 35001 a 150000 | 200 | 10 | 11 |
| 150001 a 500000 | 315 | 10 | 11 |
Ensayos mecánicos
De acuerdo a la tabla a continuación.
| Tabla inspección visual y dimensional | |||
| Tamaño del lote | Muestra | Aceptado | Rechazado |
| 2 a 8 | 2 | 0 | 1 |
| 9 a 15 | 2 | 0 | 1 |
| 16 a 25 | 2 | 0 | 1 |
| 26 a 50 | 2 | 0 | 1 |
| 51 a 90 | 2 | 0 | 1 |
| 91 a 150 | 2 | 0 | 1 |
| 151 a 280 | 3 | 0 | 1 |
| 281 a 500 | 3 | 0 | 1 |
| 501 a 1200 | 5 | 1 | 2 |
| 1201 a 3200 | 6 | 1 | 2 |
| 3201 a 10000 | 8 | 1 | 2 |
| 10001 a 35000 | 8 | 1 | 2 |
| 35001 a 150000 | 13 | 1 | 2 |
| 150001 a 500000 | 13 | 1 | 2 |
9. PRUEBAS
9.1 PRUEBAS TIPO
9.1.1 Prueba Dimensional
La verificación de las dimensiones se hará con los instrumentos de medida que den la aproximación requerida (cinta metálica con divisiones de 1 mm para longitudes y calibrador para los diámetros y espesores). El tamaño de la muestra deberá estar de acuerdo con la Tabla de dimensiones.9.1.2 Análisis Químico
Se efectuará el análisis químico de acuerdo a lo requerido en el numeral 7.2 y las normas NTC 23 y 180 (carbono), NTC 27 (azufre), NTC 181 (fósforo), NTC 24 o 25 (manganeso), NTC 26 o 28 (silicio) o en su defecto se aceptará un certificado de calidad de los materiales empleados, emitido por un laboratorio reconocido y aprobado por Enel Colombia. El análisis químico puede ser realizado en un espectrómetro calibrado con los patrones correspondientes.9.1.3 Prueba Mecánica
Como se menciona anteriormente, los soportes tangenciales deberán cumplir con los requisitos de resistencia a la rotura.Adicionalmente, a la prueba mecánica y como parte de está, el proveedor entregará un soporte tangencial que se extraerá del lote después de la fundición; estas muestras serán sometidas en un laboratorio autorizado por Enel Colombia a las siguientes pruebas.
1 - Prueba de dureza
2 - Examen metalografico.
3 - Análisis químico.
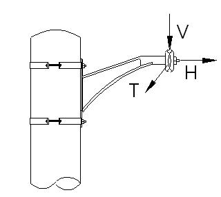
El soporte tangencial deberá soportar los siguientes esfuerzos mecánicos:
Tabla 6. Esfuerzos mecánicos
| Esfuerzos | Resistencia Nominal (Kgf) | Sin deformación permanente (Kgf) | Con deformación permanente (Kgf) |
| Vertical - V | 500 | 700 | 1000 |
| Horizontal - H | 800 | 1120 | 1600 |
| Transversal - T | 100 | 140 | 200 |
9.1.4 Prueba del Galvanizado
Esta prueba se hará de acuerdo a la norma NTC 2076 y se efectuará mediante la utilización de un ecómetro debidamente calibrado.9.2 PRUEBAS DE RECEPCIÓN
Las pruebas de recepción son:- Inspección visual
- Verificación dimensional
- Verificación certificados de calidad
- Verificación espesor de galvanizado
- Ensayo de tracción
- Ensayo de esfuerzo horizontal
- Ensayo de esfuerzo vertical
10. EMPAQUE, ROTULADO Y MARCACIÓN
10.1 Empaque
Los soportes tangenciales para sistemas compactos se empacarán en estibas de tal manera que no sufran durante el transporte, manipuleo y almacenamiento.10.2 Rotulado
En cada caja se colocará un rótulo con la siguiente información:- Especificación del contenido con su referencia.
- Nombre y razón social del proveedor.
- País de origen.
- Cantidad de elementos.
- Peso unitario, peso total bruto y neto.
- Nombre de Enel Colombia.
- Número de contrato o pedido.
- Fecha de entrega.
- Código de Almacén.
10.3 MARCACIÓN.
El material debe cumplir la siguiente marcación en bajo o en alto relieve. No se acepta pintura ni calcomanía.- Logo del fabricante
- Lote
- Enel Colombia
- Mes y año de fabricación
- Rango de uso o diámetro
11. REQUISITOS DE LAS OFERTAS
El oferente obligatoriamente deberá incluir con su propuesta, la siguiente información:- Relación de los bienes cotizados.
- Información del oferente.
- Planilla de características técnicas garantizadas, la cual deberá ser diligenciada completamente, firmada y sellada por el oferente. Debe ser diligenciado en formato Excel.
- Catálogos completos y actualizados del fabricante, que correspondan a los elementos cotizados en la planilla de características técnicas garantizadas.
- Relación de los ensayos realizados de acuerdo con lo indicado en el apartado 9 de la presente especificación.
- El oferente adjuntará con su propuesta el certificado de conformidad de producto con noma técnica y con RETIE, expedido por una entidad autorizada por la ONAC. Además deberá presentar el certificado de calidad ISO 9001.
- Relación de clientes, evidencia de su capacidad técnica y experiencias relacionadas con los materiales y/o equipos cotizados.
- Carta de garantía de los bienes cotizados.
- En caso que se requiera se podrán exigir muestras de cada uno de los tipos ofertados sin cargo a devolución, con cada una de las características técnicas, solicitadas y mencionadas en la presente especificación.
- Se deben relacionar las excepciones de carácter exclusivamente técnico de la oferta, respecto a los bienes solicitados. Si la oferta no presenta excepción, se indicaría expresamente en el mismo “NO HAY EXCEPCIONES”
- Información adicional que considere aporta explicación a su diseño (dibujos, detalles, características de operación, dimensiones y pesos de los materiales ofertados).
Enel Colombia podrá descartar ofertas que no cumplan con las anteriores disposiciones, sin expresión de causa ni obligación de compensación.
12. GARANTÍA DE FÁBRICA
Enel Colombia requiere como mínimo, un período de garantía de fábrica de cuarenta y ocho (48) meses, a partir de la entrega de los bienes.13. GRÁFICOS Y DIMENSIONES
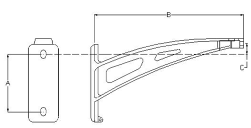
Figura 1. Soporte tangencial tipo 1
Figura 2. Soporte tangencial tipo 2 y 3.
Tabla 7. Dimensiones
| Símbolo | Tipo | Dimensiones [mm] | USOS | ||
| A | B | C | |||
| S t1 | 1 | 200 | 356 | -- | 11,4 kV |
| 2 | 200 | 356 | 38.1 | 11,4 kV | |
| S t3 | 3 | 200 | 609.6 | 50.8 | 34,5 kV |
Figura 3. Estribo para soporte tangencial
Tabla 8. Dimensiones
| Dimensiones [mm] | |||
| A | B | C | D |
| 14,29 | 39,69 | 88,9 | 114,3 |
Tabla 9. Resistencia mecánica
| Resistencia mecánica | |||
| Estribo para soporte tangencial | Carga Nominal [kg] | Carga mínima sin deformación [Kg] | Carga de ruptura [Kg] |
| 200 | 280 | 400 | |
Figura 4. Abrazadera para cable mensajero
Tabla 10. Dimensiones
| Dimensiones [mm] | ||||
| A | B | C | D | E |
| 12,7-19,05 | 7.94-11.11 | 88.9 | 90.49 | 20.64 |
| CODIGO | DESCRIPCIÓN |
| Soporte tangencial para red compacta 15 kV y 34.5 kV |
ANEXO 1. CARACTERÍSTICAS TÉCNICAS GARANTIZADAS
| N° | DESCRIPCIÓN | OFERTADO | |
| 1 | Proponente | Fabricante | |
| País de fabricación | |||
| Representante del fabricante | |||
| 2 | Normas | Fabricación y pruebas | |
| 3 | Cuerpo del soporte | Material de fabricación | |
| Método de fabricación | |||
| Dimensión A (mm) | |||
| Dimensión B (mm) | |||
| Dimensión C (mm) | |||
| Perforaciones (XX x XX pulg) | |||
| Espesor de galvanizado (min/prom, µm) | |||
| 4 | Estribo | Material | |
| Dimensión A (mm) | |||
| Dimensión B (mm) | |||
| Dimensión C (mm) | |||
| Dimensión D (mm) | |||
| Espesor de galvanizado (min/prom, µm) | |||
| Resistencia mecánica | |||
| 5 | Abrazadera | Material | |
| Dimensión A (mm) | |||
| Dimensión B (mm) | |||
| Dimensión C (mm) | |||
| Dimensión D (mm) | |||
| Dimensión E (mm) | |||
| Espesor de galvanizado (min/prom, µm) | |||
| 6 | Esfuerzo mecánico mínimo soportado | V | |
| H | |||
| T | |||
| 7 | Ensayos | Prueba dimensional | |
| Prueba química | |||
| Prueba de recubrimiento (espesor y adherencia) | |||
| Ensayo mecánico | |||
| Están incluidas dentro del precio del material (Si/No) | |||
| A realizar en fabrica (Describir) | |||
| 8 | Cumple con la marcación solicitada (Si/No, describir) | ||
| 9 | Desviaciones presentadas | ||
| 10 | Garantía | ||
| RESULTADO DE EVALUACIÓN TÉCNICA | |||
| Certificado Sistema de calidad (Norma ISO9001) | Entidad certificadora | ||
| Número de certificado | |||
| Fecha de aprobación (Día/Mes/Año) | |||
| Vigencia | |||
| Adjunta el certificado (Si/No) | |||
| Certificación de producto con norma técnica | Entidad certificadora | ||
| Número de certificado | |||
| Fecha de aprobación (Día/Mes/Año) | |||
| Vigencia | |||
| Norma técnica con la cual se certifica | |||
| Adjunta el certificado (Si/No) | |||
| Certificación de producto con RETIE | Entidad certificadora | ||
| Número de certificado | |||
| Fecha de aprobación (Día/Mes/Año) | |||
| Vigencia | |||
| Adjunta el certificado (Si/No) | |||
| RESULTADO DE EVALUACIÓN REGULATORIA | |||
| Observaciones | |||
DATOS ADICIONALES
Revisión #
3
Fecha de entrada en vigencia
Actividad de los usuarios
Para hacer comentarios debe iniciar sesión o registrarse aquí