ET414 Porta aislador pasante para soporte metálico
- Contenido
1. OBJETIVO
Esta especificación técnica tiene por objeto establecer las características y requisitos técnicos que deben cumplir y los ensayos a los cuales debe ser sometido el porta aislador pasante (espigo) para soporte metálico que solicitará Enel Colombia, para el sistema eléctrico de distribución.2. ALCANCE
Esta especificación técnica se aplicará en todos los porta aisladores pasante para soporte metálico que adquiera Enel Colombia.3. SERVICIO
Estos herrajes se usan para montar o fijar aisladores tipo pin a soporte metálico de red compacta. Son de servicio continuo.4. SISTEMA DE UNIDADES
En todos los documentos técnicos se deben expresar las cantidades numéricas en unidades del sistema internacional (S.I.). Si se usan catálogos, folletos o planos, en sistemas diferentes de unidades, deben hacerse las conversiones respectivas.5. NORMAS DE FABRICACIÓN Y PRUEBAS
| NORMA | DESCRIPCIÓN |
| NTC 422 | Barras de acero aleadas y al carbono, laminadas en caliente y terminadas en frio. Requisitos generales. |
| NTC 2076 | Recubrimiento de zinc por inmersión en caliente para elementos en hierro y acero. |
| NTC 2608 | Espigos ferrosos galvanizados para aisladores tipo pin con rosca de plomo, nailon, PVC, polietileno o cualquier otro compuesto, para construcción de líneas aéreas. |
Pueden emplearse otras normas internacionalmente reconocidas equivalentes o superiores a las aquí señaladas, siempre y cuando se ajusten a lo solicitado en la presente especificación técnica.
Las normas citadas en la presente especificación (o cualquier otra que llegare a ser aceptada por Enel Colombia) se refieren a su última revisión.
6. REQUISITOS
Son elementos de características geométricas y mecánicas tales que les permiten soportar el aislador tipo pin y adaptarse a las limitaciones impuestas por los soportes metálicos para red compacta.El porta aislador deberá estar formado por un solo elemento forjado, el material base debe ser de alta calidad y cumplir la norma NTC 422; el acero debe ser de bajo silicio o sea menor de 0,05% (A34 - SAE1010 ó SAE1020).
Las tuercas ( ET463 ) y arandelas ( ET462 ) deben estar de acuerdo con las normas que disponga Enel Colombia para tal fin o en su defecto con las normas NTC 1645; deben tener un recubrimiento para evitar la corrosión.
El adaptador o aditamento debe ser fabricado en un material polimérico que cumpla con el desempeño y las propiedades mecánica y eléctricas requeridas en esta especificación. El polimérico permitido debe cumplir lo que se indica a continuación:
- Nailon: Cumpliendo la NTC 2608.
- PVC: Debe ser duro y diseñado para ser extruido o inyectado sobre el porta aislador y debe cumplir con la norma NTC 2608.
- Polietileno: Tipo III o IV, clase C o D de acuerdo a la NTC 2608.
6.1 GEOMÉTRICOS
El porta aislador debe ser de la forma y dimensiones que se muestran en la figura 1.6.2 QUÍMICOS
El material base debe cumplir con los siguientes requisitos, de la tabla 1:TABLA 1
| REQUISITOS QUIMICOS | ||
| ELEMENTO | SAE 1010 | SAE 1020 |
| % Carbono | 0,08 a 0,13 | 0,18 a 0,22 |
| % Fósforo, máx. | 0,05 | 0,05 |
| % Azufre, máx. | 0,05 | 0,05 |
| % Manganeso | 0,3 a 0,6 | 0,3 a 0,6 |
| % Silicio, máx. | 0,05 | 0,05 |
6.3 MECÁNICOS
El material del porta aislador debe tener los siguientes requisitos mínimos:- Resistencia a la tracción: 34,7 Kg/mm 2 (340 MN/m 2 ).
- Límite mínimo de fluencia: 18,4 Kg/mm 2 (180 MN/m 2 ).
- Elongación: 30% en 50 mm (2 pulg.).
6.4 REQUISITOS DEL RECUBRIMIENTO
El porta aislador, tuerca y arandelas deben tener un recubrimiento aplicado después de la fabricación y antes de fundir o inyectar el aditamento.Para el recubrimiento se acepta el galvanizado por inmersión en caliente y como alternativa el recubrimiento órgano metálico por micro capas. La determinación del tipo de recubrimiento lo realizara Enel Colombia en el proceso de licitación.
6.4.1 Galvanizado por inmersión en caliente
El porta aislador será totalmente galvanizado por inmersión en caliente y deberá cumplir con las especificaciones técnicas de la norma NTC 2076 y deberá estar libres de burbujas, áreas sin revestimiento, depósitos de escoria, manchas negras y cualquier otro tipo de inclusiones o imperfecciones.La capa de material de cinc utilizado será de calidad especial según norma NTC 2076 (tabla 2).
TABLA 2
| COMPOSICIÓN QUIMICA DEL CINC ( % ) | ||||
| GRADO | Plomo máx. | Hierro máx. | Cadmio máx. | Cinc, mín. |
| Especial | 0,03 | 0,02 | 0,02 | 99,9 |
TABLA 3
| REQUISITOS DE GALVANIZADO | ||||
| ELEMENTO | PROMEDIO | MÍNIMO | ||
| g/m 2 | µ m | g/m 2 | µ m | |
| Porta aislador | 458 | 65,4 | 381 | 54,4 |
| Elementos Roscados | 397 | 56,6 | 336 | 48 |
6.4.2 Recubrimiento Órgano Metálico
El recubrimiento órgano metálico se realiza a base de zinc y aluminio, por micro capas de acuerdo con la especificación ET470 .6.5 REQUISITOS DEL ACABADO
El porta aislador debe ser de una sola pieza, libres de soldaduras, libres de deformaciones, fisura, aristas cortantes, y defectos de laminación. No se permiten dobleces ni rebabas en las zonas de corte, perforadas o punzadas. El recubrimiento debe estar libre de burbujas, depósitos de escorias, manchas negras, excoriaciones y/u otro tipo de inclusiones.7. CRITERIOS DE ACEPTACIÓN O RECHAZO
Si el número de elementos defectuosos es menor o igual al correspondiente número de defectuosos definidos a continuación, se deberá considerar que el lote cumple con los requisitos técnicos exigidos por Enel Colombia, en caso contrario, el lote se rechazará.Inspección Visual y Dimensional
De acuerdo a la tabla a continuación.
| Tabla inspección visual y dimensional | |||
| Tamaño del lote | Muestra | Aceptado | Rechazado |
| 2 a 8 | 2 | 0 | 1 |
| 9 a 15 | 2 | 0 | 1 |
| 16 a 25 | 2 | 0 | 1 |
| 26 a 50 | 3 | 0 | 1 |
| 51 a 90 | 5 | 1 | 2 |
| 91 a 150 | 8 | 1 | 2 |
| 151 a 280 | 13 | 1 | 2 |
| 281 a 500 | 20 | 2 | 3 |
| 501 a 1200 | 32 | 3 | 4 |
| 1201 a 3200 | 50 | 5 | 6 |
| 3201 a 10000 | 80 | 6 | 7 |
| 10001 a 35000 | 125 | 8 | 9 |
| 35001 a 150000 | 200 | 10 | 11 |
| 150001 a 500000 | 315 | 10 | 11 |
Ensayos mecánicos
De acuerdo a la tabla a continuación.
| Tabla inspección visual y dimensional | |||
| Tamaño del lote | Muestra | Aceptado | Rechazado |
| 2 a 8 | 2 | 0 | 1 |
| 9 a 15 | 2 | 0 | 1 |
| 16 a 25 | 2 | 0 | 1 |
| 26 a 50 | 2 | 0 | 1 |
| 51 a 90 | 2 | 0 | 1 |
| 91 a 150 | 2 | 0 | 1 |
| 151 a 280 | 3 | 0 | 1 |
| 281 a 500 | 3 | 0 | 1 |
| 501 a 1200 | 5 | 1 | 2 |
| 1201 a 3200 | 6 | 1 | 2 |
| 3201 a 10000 | 8 | 1 | 2 |
| 10001 a 35000 | 8 | 1 | 2 |
| 35001 a 150000 | 13 | 1 | 2 |
| 150001 a 500000 | 13 | 1 | 2 |
8. PRUEBAS
8.1 PRUEBAS TIPO
Las pruebas tipo son:Al material del portaislador:
- Resistencia a la tracción
- Límite mínimo de fluencia
- Elongación
- Análisis químico
Al portaislador terminado:
- Prueba dimensional
- Ensayo de flexión (Cantilever)
- Ensayo de torsión
- Ensayo de tracción
- Prueba de recubrimiento
8.1.1 Prueba dimensional
La verificación de las dimensiones se hará con los instrumentos de medida que den la aproximación requerida (cinta metálica con divisiones de 1 mm para longitudes y calibrador para los diámetros y espesores). El tamaño de la muestra deberá estar de acuerdo con la tabla 4.8.1.2 Análisis químico
Se efectuará el análisis químico de acuerdo a lo requerido en el numeral 6.2 y las normas NTC 23 y 180 (carbono), NTC 27 (azufre), NTC 181 (fósforo), NTC 24 o 25 (manganeso), NTC 26 o 28 (silicio) o en su defecto se aceptará un certificado de calidad de los materiales empleados, emitido por un laboratorio reconocido y aprobado por Enel Colombia. El análisis químico puede ser realizado en un espectrómetro calibrado con los patrones correspondientes.8.1.3 Prueba mecánica
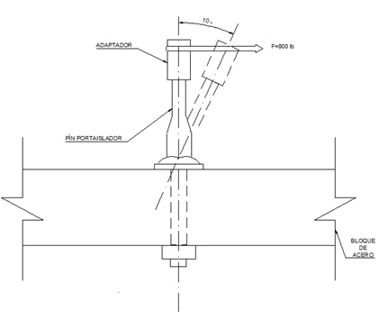
8.3.1 Ensayo flexiónEl porta aislador será sometido a prueba de flexión mediante cantiliver como se muestra en la figura 4.
8.3.2 Ensayo de torsión
Usando un manguito de acero que se rosca al adaptador o aditamento con un torque inicial de 17 Nm (150 libras-pulgada), se girará 180 grados y no debe presentar daños en la rosca o aditamento, ni deslizamiento entre el aditamento y el espigo.
8.3.3 Ensayo de tracción
Con el mismo montaje de la figura 4 y aplicando una carga de tracción de 13349 N (1360 kg o 3000 libras), no debe presentar deformación alguna en los hilos de la rosca del aditamento, ni desprendimiento de éste con el espigo.
8.1.4 Prueba del galvanizado
Para elementos galvanizados, esta prueba se hará de acuerdo a la norma NTC 2076. Para los elementos de fijación - tornillos, tuercas, arandelas se harán las pruebas de acuerdo a la NTC 3241 con los siguientes requisitos establecidos en la tabla 6.TABLA 6. PRUEBA DE GALVANIZADO
| ELEMENTO | NUMERO DE INMERSIONES |
| Pin porta aislador, Parte no roscada | 6 |
| Parte roscada | 4 |
| Arandelas | 4 |
La prueba de espesor de recubrimiento puede ser con ecómetro debidamente calibrado.
8.2 PRUEBAS DE RECEPCIÓN
Las pruebas de recepción son:- Inspección visual
- Verificación dimensional
- Verificación certificados de calidad
- Verificación espesor de galvanizado
- Ensayo de tracción
- Ensayo de torque
- Ensayo de flexión
9. EMPAQUE Y ROTULADO
9.1 EMPAQUE
Los porta aisladores se empacarán de tal manera que no sufran durante el transporte, manipulación y almacenamiento. Las tuercas irán engrasadas, con sus arandelas instaladas y a su vez instalados en los porta aisladores.9.2 ROTULADO
En cada caja se colocará un rótulo con la siguiente información.- Especificación del contenido con su referencia.
- Nombre y razón social del proveedor.
- País de origen.
- Cantidad de elementos.
- Peso unitario, peso total bruto y neto.
- Número de contrato o pedido.
- Fecha de entrega.
- Código de Almacén.
9.3 MARCACIÓN
El material debe cumplir la siguiente marcación en bajo o en alto relieve. No se acepta pintura ni calcomanía.- Logo del fabricante
- Lote
- Enel Colombia
- Mes y año de fabricación
10. REQUISITOS DE LAS OFERTAS
El oferente obligatoriamente deberá incluir con su propuesta, la siguiente información:- Relación de los bienes cotizados.
- Información del oferente.
- Planilla de características técnicas garantizadas, la cual deberá ser diligenciada completamente en formato Excel.
- Catálogos originales, completos y actualizados del fabricante, que correspondan a los materiales cotizados en la planilla de características técnicas garantizadas.
- Relación de los ensayos realizados de acuerdo con lo indicado en el apartado 8 de la presente especificación.
- El oferente adjuntará con su propuesta el certificado de conformidad de producto con noma técnica y con RETIE, expedido por una entidad autorizada por la ONAC. Además deberá presentar la certificación del sistema de calidad del fabricante.
- Relación de clientes, evidencia de su capacidad técnica y experiencias relacionadas con los materiales y/o equipos cotizados.
- Carta de garantía de los bienes cotizados.
- En caso que se requiera se podrán exigir muestras de cada uno de los elementos ofertados sin cargo a devolución, con cada una de las características técnicas, solicitadas y mencionadas en la presente especificación.
- Se deben relacionar las excepciones de carácter exclusivamente técnico de la oferta, respecto a los bienes solicitados. Si la oferta no presenta excepción, se indicaría expresamente.
- Información adicional que considere aporta explicación a su diseño (dibujos, detalles, características de operación, dimensiones y pesos de los materiales ofertados).
Enel Colombia podrá descartar ofertas que no cumplan con las anteriores disposiciones, sin expresión de causa ni obligación de compensación.
11. GARANTÍA DE FÁBRICA
Enel Colombia requiere como mínimo, un período de garantía de fábrica de cuarenta y ocho (48) meses, a partir de la entrega de los bienes.Figura 1. Espigo porta aislador de 11,4 o 13,2 kV para cruceta metálica.
| A | B | C | D | E | Carga mínima de flexión a 10° | ||||||
| Altura | Longitud | Diámetro nominal de la rosca | Diámetro de la base | Sección cuadrada A-A | |||||||
| mm | pul | mm | pul | mm | pul | mm | pul | mm | pul | N | lb |
| 152,4 | 6 | 38.1 | 1 1/2 (1.5) | 19,1 | 3/4 (0.75) | 50.1 | 2 | 21 | 53/64 | 6 230 | 1 400 |
TABLA 7. DIMENSIONES ESPIGO PORTA AISLADOR DE 11,4 O 13,2 KV PARA CRUCETA METÁLICA.
Figura 2. Espigo porta aislador de 34,5 kV para cruceta metálica.
| A | B | C | D | E | Carga mínima de flexión a 10° | ||||||
| Altura | Longitud | Diámetro nominal de la rosca | Diámetro de la base | Diámetro superior | |||||||
| mm | pul | mm | pul | mm | pul | mm | pul | mm | Pul | N | lb |
| 254 | 10 | 44,5 | 1 3/4 | 19,1 | 3/4 | 88,9 | 3 1/2 | 28,6 | 1 1/8 | 9344 | 2100 |
| a | b | c | d | X | |
| mm | 0,4 | 0,79 | 1,59 | 3,18 | 0 |
| pulgadas | 1/64 | 1/32 | 1/16 | 1/8 | 0 |
Figura 3. Dimensiones para la rosca.
| Rosca | A | B | C | D | E | F | G | ||||||||
| mm | pul | mm | pul | mm | pul | mm | pul | mm | pul | mm | pul | mm | pul | mm | Pul |
| 25,4 | 1 | 25,65 | 1,01 | 28,42 | 1,119 | 44,45 | 1,75 | 1,98 | 5/64 | 20,64 | 13/16 | 15,88 | 5/8 | 1,19 | 3/64 |
| 34,9 | 1 3/8 | 35,18 | 1,385 | 38,56 | 1,518 | 54,1 | 2,13 | 3,57 | 9/64 | 28,58 | 1 1/8 | 19,1 | 3/4 | 2,78 | 7/64 |
Figura 4: Ensayo de tracción y flexión.
ANEXO 1. CARACTERÍSTICAS TÉCNICAS GARANTIZADAS
| N° | DESCRIPCIÓN | OFERTADO | ||
| 1 | Fabricante | |||
| 2 | Referencia | |||
| 3 | Normas de fabricación y pruebas | |||
| 4 | Material de fabricación | Espigo | ||
| Rosca o aditamento | ||||
| 5 | Dimensiones | Espigo | A | |
| B | ||||
| C | ||||
| D | ||||
| E | ||||
| F | ||||
| Rosca o aditamento | G | |||
| H | ||||
| I | ||||
| J | ||||
| K | ||||
| L | ||||
| M | ||||
| N | ||||
| 6 | Tuerca (Si/No, describir) | |||
| 7 | Arandela (Si/No, describir) | |||
| 8 | Recubrimiento | Galvanizado | Tipo (Describir) | |
| Espesor (min/prom, µ m) | ||||
| Órgano Metálico | Grado de corrosión (indicar alto / medio acorde con ET470) | |||
| Espesor capa ( µ m) | ||||
| Horas mínimas de SST- Salt Spray Test | ||||
| Cumple con los ensayos indicados en la ET470 | ||||
| 9 | Ensayos(Si/No, indicar cuales presentan) | |||
| 10 | Cumple con la marcación solicitada (Si/No, describir) | |||
| 11 | Desviaciones presentadas | |||
| 12 | Garantía (meses) | |||
| RESULTADO DE EVALUACIÓN TÉCNICA | ||||
| 13 | Certificación del sistema de calidad del fabricante | Entidad certificadora | ||
| Número de certificado | ||||
| Fecha de aprobación (Día/Mes/Año) | ||||
| Vigencia | ||||
| Adjunta el certificado (Si/No) | ||||
| 14 | Certificación de producto con norma técnica | Entidad certificadora | ||
| Número de certificado | ||||
| Fecha de aprobación (Día/Mes/Año) | ||||
| Vigencia | ||||
| Norma técnica con la cual se certifica | ||||
| Adjunta el certificado (Si/No) | ||||
| 15 | Certificación de producto con RETIE | Entidad certificadora | ||
| Número de certificado | ||||
| Fecha de aprobación (Día/Mes/Año) | ||||
| Vigencia | ||||
| Adjunta el certificado (Si/No) | ||||
| RESULTADO DE EVALUACIÓN REGULATORIA | ||||
| 16 | Observaciones | |||
DATOS ADICIONALES
Revisión #
4
Fecha de entrada en vigencia
Actividad de los usuarios
Para hacer comentarios debe iniciar sesión o registrarse aquí