ET350 Grapa terminal tipo recto metálica para MT
- Contenido
1. OBJETO
Esta especificación técnica tiene por objeto establecer las características y requisitos técnicos que deben cumplir y los ensayos a los cuales deben ser sometidos las grapas terminal metálica tipo recto para líneas aéreas de media tensión en sistemas de distribución con Red Aérea de Media Tensión Desnuda y Compacta.
2. ALCANCE
Esta especificación técnica se aplicará en toda la grapa terminal metálica tipo recto para líneas aéreas de media tensión que adquiera ENEL.
3. CONDICIONES DE SERVICIO
Las grapas se utilizarán a la intemperie en las siguientes condiciones:
| CARACTERÍSTICAS AMBIENTALES | |
| a. Altura sobre el nivel del mar | Hasta 2 700 m.s.n.m. |
| b. Ambiente | Tropical |
| c. Humedad relativa | Desde 20 % al 100 % |
| d. Temperatura mínima y máxima | -5 °C a 45 °C |
La grapa tipo recto código 200635, para Red Aérea de Media Tensión Desnuda debe sujetar cualquiera de los siguientes conductores ACSR (GSC003):
# | Código | Descripción |
| 1 | 310412 | Raven 1/0 AWG |
| 2 | 310417 | Quail. 2/0 AWG |
| 3 | 310414 | Penguin. 4/0 AWG |
| 4 | 310413 | Partridge. 266,8 kcmil |
La grapa tipo recto código 200636, para Red Aérea de Media Tensión Compacta debe sujetar el conductor mensajero (E-MT-028):
# | Código | Descripción |
| 1 | 310410 | Cable 3/8" Acero extra alta resistencia. |
4. SISTEMA DE UNIDADES
Todos los documentos tanto de la propuesta como del contrato de suministro, deben expresar las cantidades numéricas en unidades del sistema internacional (SI). Si el oferente utiliza en sus libros de instrucción, folletos o dibujos, unidades en sistemas diferentes, debe hacer las conversiones respectivas.
5. NORMAS DE FABRICACIÓN Y PRUEBAS
NORMA | DESCRIPCIÓN |
NTC 2076 | Recubrimiento de zinc por inmersión en caliente para elementos en hierro y acero. |
NTC 2973 | Herrajes y accesorios para redes y líneas aéreas de distribución de energía eléctrica. Grapas de retención. |
ASME B1.1 | Unified Inch Screw Threads, (UN and UNR Thread Form) |
Pueden emplearse otras normas internacionalmente reconocidas equivalentes o superiores a las aquí señaladas, siempre y cuando se ajusten a lo solicitado en la presente especificación técnica.
Las normas citadas en la presente especificación (o cualquier otra que llegare a ser aceptada por ENEL se refieren a su última revisión.
6. REQUISITOS
Son elementos de características geométricas y mecánicas tales que les permiten adaptarse a las limitaciones impuestas por otros elementos.
Las grapas terminales metálicas tipo recto para líneas aéreas de media tensión estarán construidos con materiales de la mejor calidad para ese fin, debiéndose descartar el empleo de materiales alterables por la humedad, radiación solar y otras condiciones ambientales desfavorables.
6.1. REQUISITOS GEOMÉTRICOS.
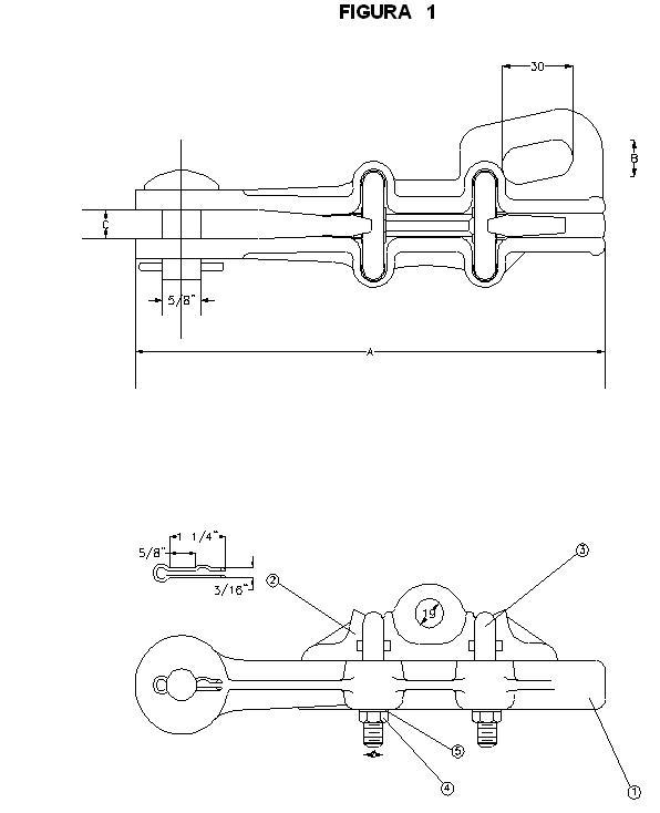
La forma y dimensiones de las grapas terminal metálica tipo recto serán como se muestran en la figura 1.
Las grapas terminales metálicas tipo recto para líneas aéreas de media tensión se componen del cuerpo y la mordaza. Será diseñada de tal forma que, aplicando un esfuerzo longitudinal sobre el conductor, el conjunto describa una traslación paralela.
El material estará libre de grietas, cavidades, sopladuras, defectos superficiales o internos y de toda otra falla que pudiera afectar su correcto funcionamiento.
La grapa tendrá los elementos necesarios para que los componentes del conjunto sean imperdibles entre sí.
Tendrá un diseño racional tal que no origine sobre el conductor esfuerzos concentrados que produzcan su deterioro. La garganta de la grapa donde se aloje el conductor debe tener un perfil adecuado, sin aristas vivas ni radios de curvatura pequeños, en todos los puntos que puedan tomar contacto con el cable.
6.2. REQUISITOS QUÍMICOS.
Las grapas terminales metálicas rectas para media tensión se deben fabricar con el material de la tabla No.1, teniendo en cuenta el material del cable que está en contacto con la grapa, para minimizar el par galvánico y la pérdida de potencia debida el calentamiento por efecto magnético.
Se aceptan que se fabriquen en cualquiera de los siguientes procesos: fundición en arena, fundición en moldes permanentes o semipermanentes y por forja.
Tabla no. 1
MATERIAL DEL CABLE | MATERIAL DE LA GRAPA |
| De aleación de aluminio o aleación de aluminio con alma de acero | De aleación de aluminio 356 con tratamiento térmicoT6 |
| De aleación de aluminio o aleación de aluminio con alma de acero | De aleación de aluminio 355 con tratamiento térmico T5 |
Puede usarse para el cuerpo de la grapa cualquier material de los indicados en la tabla No.2, que cumpla con las exigencias mecánicas establecidas en la tabla No. 3
Tabla no.2
TIPO DE MATERIAL | ALEACIÓN DE ALUMINIO 355 | ALEACIÓN DE ALUMINIO A 356 |
% Silicio | 4,5 a 5,5 | 6,50 a 7,50 |
% Magnesio | 0,40 a 0,6 | 0,25 a 0,45 |
% Cobre | 1,0 a 1,5 | 0,20 más |
% Hierro | 0,60 más | 0,20 más |
% Zinc | 0,35 más | 0,10 más |
% Titanio | 0,25 más | 0,20 más |
% Manganeso | 0,5 más | 0,10 más |
% Cromo | 0,25 más | ----- |
% otros cada uno más | 0,05 más | 0,05 más |
% otros más total | 0,15 más | 0,15 más |
6.3. TRATAMIENTO TÉRMICO.
Los tratamientos térmicos que deben tener las grapas de suspensión son los siguientes:
• Para aleación de composición 355 el tratamiento es T5.
• Para aleación de composición 356 el tratamiento es T6
La letra “T” del tratamiento térmico, significa que es tratado térmicamente con anterioridad al último tratamiento térmico.
El tratamiento T5 significa que es solubilizado y envejecido artificialmente. El tratamiento T6 significa que es solubilizado, enfriado rápidamente en sales y envejecido artificialmente.
6.4 REQUISITOS MECÁNICOS.
Las grapas deben cumplir satisfactoriamente con los requisitos de resistencia que se dan en la siguiente tabla:
Tabla no. 3. Resistencia en porcentaje de la resistencia del máximo conductor
TIPO DE GRAPA | DESLIZAMIENTO | ROTURA | |
OJO | CUERPO DE LA GRAPA | ||
| Grapa de retención | 75 | 75 | 100 |
6.5. REQUISITOS DE RECUBRIMIENTO DE LOS ELEMENTOS DE ACERO.
Los elementos de acero serán totalmente galvanizados por inmersión en caliente y deberán cumplir con lo especificado en la NTC 2076 y deben estar libres de burbujas, áreas sin revestimiento, depósitos de escoria, escoriaciones o cualquier otra imperfección.
Para zonas contaminadas se especificarán galvanizados superiores a la Norma como se indica en la tabla 4:
TABLA No. 4
| APLICACIÓN | PROMEDIO g/m 2 | MÍNIMO g/m 2 |
| Elementos ferrosos | 825 | 750 |
6.6. REQUISITOS DE ACABADO.
Las grapas deberán estar libres de deformaciones, aristas cortantes y rellenos. La superficie de contacto entre el conductor y la grapa debe ser completamente lisa y exenta de bordes cortantes que puedan tallar el conductor.
7. ACCESORIOS
Los accesorios de la grapa terminal son el pisa cable, los pernos en “U”, las arandelas y las tuercas.
Los pisa cables y cualquier otro elemento que este en contacto con el conductor se construirán con la misma aleación de la grapa y recibirá el mismo tratamiento térmico.
Se fabricarán las arandelas siguiendo la especificación técnica ET462 y las tuercas la ET463.
Los pernos en “U” se fabricarán siguiendo las especificaciones técnicas ET465 en lo que se refiere al perno en “U” y las dimensiones de la rosca serán standard según norma ASME B1.1.
8. CRITERIOS DE ACEPTACIÓN O RECHAZO
Si el número de elementos defectuosos es menor o igual al correspondiente número de defectuosos definidos a continuación, se deberá considerar que el lote cumple con los requisitos técnicos exigidos por ENEL en caso contrario, el lote se rechazará.
Inspección Visual y Dimensional
De acuerdo a la tabla a continuación.
Tabla 5. Plan de muestreo para inspección visual y dimensional.
Ensayos Mecánicos
De acuerdo a la tabla a continuación. 
Tabla 6. Plan de muestreo para pruebas mecánicas.
9. PRUEBAS E INFORME
9.1 PRUEBAS TIPO
Prueba dimensional
Ensayo de deslizamiento
Ensayo de rotura del ojo y del cuerpo de la grapa
Ensayo de dureza
1. Grapa sin tratamiento térmico
2. Grapa con tratamiento térmico de solubilización
3. Grapa con todos los tratamientos térmicos
Ensayo metalográfico
1. Grapa sin tratamiento térmico
2. Grapa con tratamiento térmico de solubilización
3. Grapa con todos los tratamientos térmicos
Análisis químico
1. Grapa sin tratamiento térmico
2. Grapa con tratamiento térmico de solubilización
3. Grapa con todos los tratamientos térmicos
Ensayo de torque (tuercas)
Prueba de recubrimiento o galvanizado para los accesorios de acero
9.1.1. Prueba Dimensional
La verificación de las dimensiones se hará con los instrumentos de medida que den la aproximación requerida (cinta metálica con divisiones de 1 mm para longitudes y calibrador para los diámetros y espesores). El tamaño de la muestra deberá estar de acuerdo con la tabla 5.
9.1.2. Análisis Químico
Se efectuará el análisis químico de acuerdo a lo requerido en el numeral 6.2 y las normas NTC 23 y 180 (carbono), NTC 27 (azufre), NTC 181 (fósforo), NTC 24 o 25 (manganeso), NTC 26 o 28 (silicio) o en su defecto se aceptará un certificado de calidad de los materiales empleados, emitido por un laboratorio reconocido y aprobado por ENEL. El análisis químico puede ser realizado en un espectrómetro calibrado con los patrones correspondientes.
9.1.3. Prueba Mecánica
Como se menciona anteriormente, las grapas terminales tipo recto deberán cumplir con los requisitos de resistencia a la rotura, definida en la tabla 3, cuyo porcentaje de la carga de rotura del cable de mayor calibre sujetado por la grapa (Ver tabla 7), será el valor de carga nominal de rotura de la grapa, cuando se sometan al ensayo descrito a continuación.
La grapa tipo recto, se monta de acuerdo con la figura 2A, minimizando el efecto del par. Se carga hasta el 75% de la carga de rotura del conductor de mayor diámetro y no debe presentar ninguna falla en el ojo.
De la misma manera, la grapa tipo recto, se monta de acuerdo con la figura 2B, minimizando el efecto del par. Se carga hasta el 75% de la carga de rotura del conductor de mayor diámetro y no debe presentar ningún deslizamiento. Para la prueba de rotura del cuerpo de la grapa se usa también la instalación de la figura 2B, pero la carga usada es el 100% de la carga de rotura del conductor mayor (Ver tabla 7) y no debe presentar falla.
Adicionalmente a la prueba mecánica y como parte de esta, el proveedor entregará una grapa que se extraerá del lote después de la fundición y antes de los tratamientos térmicos; se extraerá otra grapa después del tratamiento térmico de solubilización y antes del tratamiento final de envejecimiento; y finalmente se extraerá una grapa del lote con todos sus tratamientos térmicos; estas muestras serán sometidas en un laboratorio autorizado por ENEL a las siguientes pruebas:
- Prueba de dureza
- Examen metalográfico.
- Análisis químico.
El laboratorio deberá certificar que los diferentes tratamientos térmicos fueron adecuados.
Adicionalmente debe hacerse un ensayo de torque, con tuercas lubricadas apretando las tuercas hasta la falla de la grapa, el valor del torque de rotura debe ser mayor al 130% del torque recomendado, si no se conoce el torque recomendado se tomará el valor de torque recomendado de 66,6 kgf (480 lb pie).
9.1.4. Prueba del Galvanizado
Esta prueba se hará de acuerdo a la norma NTC 2076 y se efectuará mediante la utilización de un medidor de espesor calibrado. Solo aplica para los elementos de acero.
9.2. PRUEBAS DE RECEPCIÓN.
Las pruebas de recepción son:
- Inspección Visual
- Verificación Dimensional
- Verificación Certificados de Calidad
- Verificación Espesor de Galvanizado
- Ensayo de Dureza
- Ensayo de Tracción (Rotura del ojo)
- Ensayo de Tracción (deslizamiento)
10. ENSAYO DE TORQUEEMPAQUE Y ROTULADO
10.1. EMPAQUE
Las grapas terminales metálica tipo recto para líneas aéreas de media tensión se empacarán de tal manera que no sufran durante el transporte, manipulación y almacenamiento.
10.2. ROTULADO
En cada caja se colocará un rótulo con la siguiente información:
- Especificación del contenido con su referencia.
- Nombre y razón social del proveedor.
- País de origen.
- Cantidad de elementos.
- Peso unitario, peso total bruto y neto.
- Número de contrato o pedido.
- Fecha de entrega.
- Código de Almacén.
10.3. MARCACIÓN
El material debe cumplir la siguiente marcación en bajo o en alto relieve. No se acepta pintura ni calcomanía.
• Logo del fabricante
• Lote
• Enel
• Mes y año de fabricación
• Rango de Uso
11. PRESENTACIÓN DE LAS OFERTAS
Para su análisis, será imprescindible que la oferta incluya la siguiente documentación:
- Relación de los bienes cotizados.
- Protocolos de los ensayos requeridos en esta especificación técnica. Deberá constar la metodología aplicada, los valores y resultados del ensayo.
- Catálogos originales, completos y actualizados del fabricante, que correspondan a los elementos cotizados en la planilla de características técnicas garantizadas.
- El proponente debe llenar la tabla de características técnicas solicitadas en el anexo 1 completamente diligenciado en formato Excel.
- El oferente adjuntará con su propuesta el certificado de conformidad de producto con noma técnica y con RETIE, expedido por una entidad acreditada por ONAC. Además, deberá presentar el certificado del sistema de gestión de calidad del fabricante.
- Relación de clientes, como evidencia de su capacidad técnica y experiencias relacionadas con los materiales cotizados.
- En caso que se requiera se podrán exigir muestras de cada uno de los elementos ofertados sin cargo a devolución, con las características técnicas, solicitadas y mencionadas en la presente especificación.
- Se deben relacionar las excepciones de carácter exclusivamente técnico de la oferta, respecto a los bienes solicitados. Si la oferta no presenta excepción, se indicaría expresamente.
- Información adicional que considere aporta explicación a su diseño (dibujos, detalles, características de operación, dimensiones y pesos de los materiales ofertados).
ENEL podrá descartar ofertas que no cumplan con las anteriores disposiciones, sin expresión de causa ni obligación de compensación.
FIGURA 1. FORMA, ACCESORIOS Y DIMENSIONES
ANEXO 1. CARACTERÍSTICAS TÉCNICAS
| N° | DESCRIPCIÓN | OFERTADO | |
| 1 | Oferente | ||
| 2 | Fabricante | ||
| 3 | País de origen | ||
| 4 | Referencia | ||
| 5 | Normas de fabricación y ensayos | ||
| 6 | Calibres o diámetro de conductor | Mínimo | |
| Máximo | |||
| 7 | Dimensiones de referencia | Longitud “A” | |
| Longitud “B” | |||
| Longitud “C” | |||
| Longitud "D" de 30mm (ojal ovalado) | |||
| Diámetro del perno pasador | |||
| Diámetro "E" de 19mm (ojal circular) | |||
| 8 | Material de fabricación | Cuerpo y pisa cable | |
| Accesorios(perno pasador, arandelas, tuercas y pernos en "U") | |||
| 9 | Resistencia minima de deslizamiento | ||
| 10 | Resistencia minima de rotura | ||
| 11 | Presentan protocolos de pruebas (Si/No) y de que pruebas | ||
| 12 | Cumple con las condiciones de empaque, rotulado y marcación según la ET-350 | ||
| RESULTADO DE LA EVALUACIÓN TÉCNICA | |||
| 13 | Certificado de conformidad del sistema de gestión de calidad del fabricante bajo ISO 9001 | Entidad Certificadora | |
| Número del Certificado | |||
| Fecha de aprobación (día/mes/año) | |||
| Fecha de vencimiento (día/mes/año) | |||
| Adjunta el certificado (si/no) | |||
| 14 | Certificado de conformidad de producto bajo norma | Entidad certificadora[align=center] | |
| Número del certificado | |||
| Fecha de aprobación (día/mes/año) | |||
| Fecha de vencimiento (día/mes/año) | |||
| Norma certificada | |||
| Adjunta el certificado (si/no) | |||
| 15 | Certificado de conformidad del producto bajo RETIE | Entidad certificadora | |
| Número del certificado | |||
| Fecha de aprobación (Día/Mes/Año) | |||
| Fecha de vencimiento (Día/Mes/Año) | |||
| Adjunta el certificado (Si/No) | |||
| RESULTADO DE LA EVALUACIÓN REGULATORIA | |||
| 16 | Observaciones | ||
DATOS ADICIONALES
Revisión #
5
Fecha de entrada en vigencia
Actividad de los usuarios
Para hacer comentarios debe iniciar sesión o registrarse aquí