ET240 Tapas y marcos para cajas de inspección en redes subterraneas

  • Contenido
 

1. OBJETO

Establecer las características, requisitos y ensayos técnicos que deben cumplir las tapas y marcos para cajas de inspección en andenes en el sistema subterráneo de distribución y alumbrado público. 
 

2. ALCANCE

Esta especificación técnica se aplicará en todas las tapas y marcos para cajas de inspección en andenes en el sistema subterráneo de distribución y alumbrado público que adquiera Enel Colombia. 
 

3. CONDICIONES DE SERVICIO 

3.1 CONDICIONES AMBIENTALES.

Las tapas y marcos para cajas de inspección en el sistema de distribución y alumbrado público serán empleados a la intemperie bajo las siguientes condiciones: 
 

CARACTERÍSTICAS AMBIENTALES 
a. Altura sobre el nivel del mar600 a 2 900 m
b. AmbienteTropical
c. HumedadMayor al 90 %
d. Temperatura máxima y mínima45 ºC y - 5 ºC respectivamente.
e. Temperatura promedio14 ºC.
f. PoluciónAlta con productos de la combustión y altamente contaminada por otros agentes.


 

3.2 CONDICIONES ELÉCTRICAS

Tensión Nominal del sistema 34500 V – 11400 V – 480/277V - 380/220 V – 208/120 V
Frecuencia del sistema 60 Hz


 

3.3 CONDICIONES DE SERVICIO Y LUGAR DE INSTALACIÓN

Las tapas y marcos para cajas de inspección en redes subterráneas serán instalados, en cualquier zona del área de cobertura de Enel Colombia. 

Los suelos donde son instalados podrán ser terrenos de relleno, arenosos, rocosos, arcillosos semiduros, con una capa de profundidad variable de humus, abarcando químicamente suelos desde ácidos a alcalinos y desde oxidantes a reductores con gran variedad en la cantidad y tipo de sales solubles. 

Las tapas y marcos se utilizan así: 
 

4. SISTEMAS DE UNIDADES

En todos los documentos técnicos se deben expresar las cantidades numéricas en unidades del sistema Internacional. Si se usan catálogos, folletos o planos, en sistemas diferentes de unidades, deben hacerse las conversiones respectivas. 

 

5. NORMAS Y ESPECIFICACIONES TÉCNICAS.

Las tapas y marcos deberán cumplir con las siguientes normas: 

 

NORMA DESCRIPCIÓN 
NTC 1Métodos de ensayo de doblado de material para ductilidad.
NTC 2Métodos de ensayo de tracción de materiales metálicos.
NTC 121Especificación de desempeño para cemento hidráulico.
NTC 174Concretos. Especificaciones de los agregados para concreto.
NTC 402Siderurgia. Perfiles de acero laminados en caliente para uso general. Ángulos de alas iguales y desiguales. Tolerancias en dimensiones y en masa.
NTC 422Barras de acero aleadas y al carbono, laminadas en caliente y terminadas en frío. Requisitos generales.
NTC 673Concretos. Método de ensayo de resistencia a la compresión de especímenes cilíndricos de concreto.
NTC 1299Aditivos químicos para concreto.
NTC ISO 2859-1Procedimientos de muestreo para inspección por atributos. Parte 1: Planes de muestreo determinados por el nivel aceptable de calidad (nac) para inspección lote a lote.
NTC 2289Barras corrugadas y lisas de acero de baja aleación, para refuerzo de concreto.


 


Pueden emplearse otras normas internacionalmente reconocidas equivalentes o superiores a las aquí señaladas, siempre y cuando se ajusten a lo solicitado en la presente Especificación Técnica. 

Las normas citadas en la presente especificación (o cualquier otra que llegare a ser aceptada por Enel Colombia) se refieren a su última revisión. 

 

6. DEFINICIONES

Se establecen las siguientes definiciones para efectos de esta especificación técnica

- ADITIVO 
Material diferente del cemento, agregados o agua que se añade al concreto, antes o durante la mezcla, para modificar una o varias de sus propiedades sin perjudicar su durabilidad, ni su capacidad para resistir esfuerzos. (NSR-10) 

- AGREGADOS 
Conjunto de partículas inertes, naturales o artificiales, tales como areana, grava, triturado, etc., que al mezclarse con el material cementante hidráulico y el agua, producen el concreto. (NRS-10) 

- CONCRETO 
Mezcla homogénea de material cementante, agregados inertes y agua, con o sin aditivos. (NSR-10) 

- CONCRETO REFORZADO 
Material constituido por concreto que tiene un refuerzo consistente en barras de acero corrugado, estribos transversales o mallas electro soldadas, colocadas principalmente en las zonas de tracción, en cuantías superiores a las mínimas especificadas en los Capítulos C.1 a C.21, (NSR-10) bajo la hipótesis de compatibilidad de deformaciones entre los materiales. (NSR-10) 

- CURADO DEL CONCRETO 
Tratamiento que se le da al concreto, una vez vaciado, para impedir la rápida evaporación del agua de amasado, suavizando la retracción y evitando el agrietamiento de la superficie. 

- REFUERZO 
Acero en una de las tres formas siguientes, colocado para absorber esfuerzos de tracción, compresión, de corte o de torsión en conjunto con el concreto: 
(a) Grupo de barras corrugado que cumple la norma NTC 2289 (ASTM A706). 
(b) Mallas electro soldadas. 
(c) Alambres o cables de alta resistencia destinados principalmente al concreto pre esforzado. (NSR-10) 

- VARILLA CORRUGADA 
Varilla de acero con el núcleo de sección circular, en cuya superficie lleva unos resaltes, que tienen por objeto aumentar la adherencia entre el concreto y el acero. 

- VARILLA TORSIONADA 
Varilla corrugada que el fabricante de tapas somete a un proceso de torsión y alargamiento, con el fin de mejorar sus condiciones físicas y mecánicas. 

- VIBRADO 
Sistema de compactación del concreto mediante aparatos vibratorios de alta frecuencia que tiene por objeto disminuir la porosidad del concreto, distribuir uniformemente los áridos y obligar a que la mezcla cubra toda la superficie interior de la formaleta. 
 

7. REQUERIMIENTOS TÉCNICOS PARTICULARES

Las tapas y marcos para cajas de inspección en el sistema de distribución y alumbrado público estará construido con materiales con la mejor calidad para ese fin, debiéndose descartar el empleo de materiales alterables por la humedad, radiación solar y otras condiciones ambientales desfavorables. 

Las tapas y marcos para el sistema de distribución y alumbrado público se construirán en forma soldada, en ángulo y varilla de acero SAE 1010, SAE 1020, A36, A37 ó similar debidamente autorizada por Enel Colombia S.A. 

Las tapas y marcos deben ser autosoportables, rígidos y no debe presentar desajustes durante su transporte e instalación. 
 

7.1. PARÁMETROS GEOMÉTRICOS

Las tapas y marcos para el sistema de distribución y alumbrado público será de la forma y dimensiones que se muestran en las figuras 1, 2, 3, 4, 5 y 6. 

7.1.1 Tapas y Marcos para acometidas BT y AP 

Marco 

Dimensiones del marco, según figura 1:

  • Ancho interior 720 mm
  • Largo interior 720 mm
  • Altura 2 ½” (sin patas de anclaje)


El ángulo utilizado en el marco será de tipo A 37 ó similar debidamente autorizado por Enel Colombia y las dimensiones de 2 ½” X 2 ½” X 3/16” como mínimo, los cortes del ángulo en las esquinas debe ser a 45° grados. 

Todas las soldaduras del marco deben efectuarse con soldaduras AWS 6010 y/o AWS 7018 hasta lograr una penetración total. 

Tapa 

Dimensiones de la tapa, según figuras 2 y 6: 
 

  • Ancho exterior 715 mm
  • Largo exterior 715 mm
  • Altura total 60 mm


La platina utilizada será tipo A – 37 ó similar debidamente autorizado por Enel Colombia y las dimensiones de 2 ½" X 3/16”; la varilla de refuerzo será tipo PDR 60 corrugada o similar debidamente autorizada por Enel Colombia y dimensión 3/8” de diámetro. 

En las cuatro esquinas se colocará una platina triangular de 200 mm de lado y 3/16" de espesor que debe ir soldada internamente al marco de la tapa. 

Todas las soldaduras de la tapa deben efectuarse con soldaduras AWS 6010 y/o AWS 7018 hasta lograr una penetración total; todas las uniones de la varilla con la platina deben estar soldadas con un área de por lo menos el diámetro de la varilla; todos los cruces de varillas deben ir soldados; todas las soldaduras deben estar libres de defectos tales como escoria atrapada, poros etc.; toda la escoria de soldadura debe ser retirada antes de fundir el concreto. 

El concreto utilizado en la tapa debe ser de 4000 PSI (280 kg/cm 2 ). 

Todas las tapas deben tener una placa de identificación según figura 6. 

7.1.2 Tapas y Marcos para cajas de inspección sencilla MT y BT 

Marco 

Dimensiones del marco, según figura 3: 
 

  • Ancho interior 805 mm
  • Largo interior 1305 mm
  • Altura 2 ½” (sin patas de anclaje)


El ángulo utilizado en el marco será de tipo A 37 ó similar debidamente autorizado por Enel Colombia y las dimensiones de 2 ½” X 2 ½” X 3/16”. 

Todas las soldaduras del marco deben efectuarse con soldaduras AWS 6010 y/o AWS 7018 hasta lograr una penetración total 

Tapa 

Dimensiones de la tapa, según figuras 4 y 6: 
 

  • Ancho exterior 800 mm
  • Largo exterior 1300 mm
  • Altura total (110) mm


La platina utilizada será tipo A – 37 ó similar debidamente autorizado por Enel Colombia y las dimensiones de 2 ½” X 3/16”; la varilla de refuerzo será tipo PDR 60 corrugada o similar debidamente autorizada por Enel Colombia y dimensión 1/2” de diámetro. 

En las cuatro esquinas se colocará una platina triangular de 200 mm de lado y 3/16’’ de espesor que debe ir soldada internamente al marco de la tapa. 

Todas las soldaduras de la tapa deben efectuarse con soldaduras AWS 6010 y/o AWS 7018 hasta lograr una penetración total; todas las uniones de la varilla con la platina deben estar soldadas con un área de por lo menos el diámetro de la varilla; todos los cruces de varillas deben ir soldados; todas las soldaduras deben estar libres de defectos tales como escoria atrapada, poros etc.; toda la escoria de soldadura debe ser retirada antes de fundir el concreto. 

El concreto utilizado en la tapa debe ser de 4000 PSI (280 kg/cm 2

Todas las tapas deben tener una placa de identificación según figura 6. 

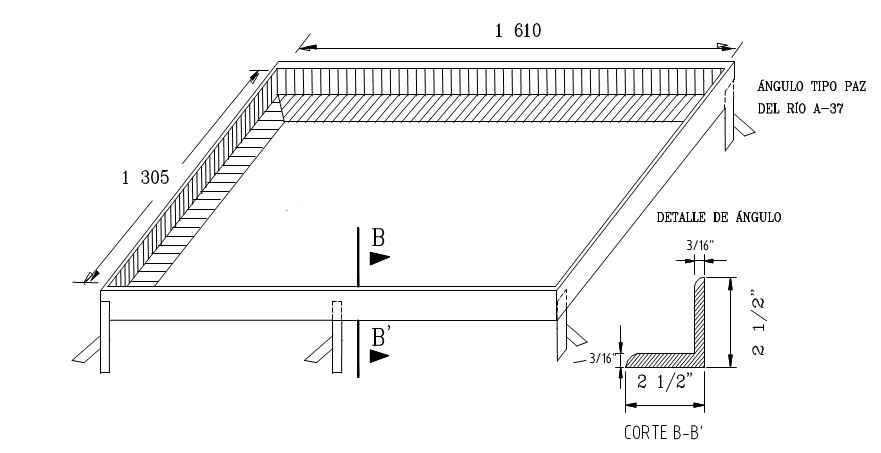
7.1.3 Tapas y Marcos para caja de inspección doble MT y BT 

Marco 

Dimensiones del marco, según figura 5: 
 

  • Ancho interior 1610 mm
  • Largo interior 1305 mm
  • Altura 2 ½” (sin patas de anclaje)


El ángulo utilizado en el marco será de tipo A 37 ó similar debidamente autorizado por Enel Colombia y las dimensiones de 2 ½” X 2 ½” X 3/16 como mínimo. 

Todas las soldaduras del marco deben efectuarse con soldaduras AWS 6010 y/o AWS 7018 hasta lograr una penetración total 

Tapa 

La tapa utilizada para el marco de inspección doble para MT y BT será la misma del numeral 7.1.2. 

7.1.4 Tapas y Marcos para caja de inspección triple para canalizaciones de MT 

Las cajas de inspección triple se construye con un marco sencillo y uno doble como se indica en la norma CS 277 y CS 277-1 

Marco 

Dimensiones del marco, son la suma de los dos marcos: 
 

  • Ancho exterior 1435 mm ( 1620 mm + 815 mm)
  • Largo exterior 1315 mm
  • Altura 2 ½” (sin patas de anclaje)


El ángulo utilizado en el marco será de tipo A 37 ó similar debidamente autorizado por Enel Colombia y las dimensiones de 2 ½” X 2 ½” X 3/16 como mínimo. 

Todas las soldaduras del marco deben efectuarse con soldaduras AWS 6010 y/o AWS 7018 hasta lograr una penetración total 

Tapa 

La tapa utilizada para el marco de inspección doble para MT y BT será la misma del numeral 7.1.2. 
 

7.2 RESISTENCIA A LA COMPRESIÓN DEL CONCRETO

La resistencia mínima a la compresión para el concreto, debe ser de 280 kg/cm² (4000 psi). Esta resistencia se debe verificar mediante ensayos de laboratorio de los cilindros tomados de varias bachadas, de acuerdo con la norma ICONTEC 673. 

En cuanto a la calidad del concreto, se deben seguir los procedimientos establecidos en el capítulo C.4 del Código Colombiano de Construcciones Sismo Resistentes. Decreto 33 de 1998. 

Con la debida anticipación, el fabricante debe presentar a consideración de Enel Colombia, el diseño de la mezcla que va a utilizar. Enel Colombia podrá exigir ensayos de prueba de la mezcla utilizada. 

Para concretos que utilicen aditivos plastificantes, las mezclas se deberán diseñar utilizando el aditivo y de acuerdo con los ensayos de laboratorio que se deben realizar. 

Las pruebas de asentamiento se realizarán cuando Enel Colombia así lo exija. Los asentamientos resultantes deben coincidir con los especificados en el diseño de la mezcla. 

Se realizarán ensayos de cilindros, con edades de 7, 14 y 28 días, calculando por proyección para las 2 primeras, la resistencia que tendrá el concreto a los 28 días. 

La resistencia promedio de los ensayos de los cilindros debe ser superior o por lo menos igual a la especificada en el diseño más 85kg/cm 2

El costo de todos los ensayos de laboratorio, ordenados por Enel Colombia, para el control de calidad del concreto, correrá por cuenta del fabricante. 
 

7.3 ACERO DE REFUERZO PRINCIPAL

El acero de refuerzo utilizado en la fabricación de las tapas, debe cumplir con la norma NTC 2289. 

Las varillas de acero estructural deben tener esfuerzo nominal de fluencia mínimo de 60000 psi. 

Bajo responsabilidad del fabricante se aceptará el torsionamiento del acero. 
 

8. FABRICACION DE LAS TAPAS

Se pueden fabricar con el uso de uno de los sistemas existentes, siempre y cuando se cumpla con las especificaciones que se establecen en esta norma. 

En ningún caso se aceptarán las tapas amasados y compactados a mano. 
 

8.1 VACIADO DEL CONCRETO

Al vaciar el concreto sobre la formaleta, se debe hacer lo más cerca a ésta, con el fin de evitar la disgregación de los materiales. 

El concreto se debe vaciar inmediatamente después de su amasado. 
 

8.2 SOLDADURAS

En las uniones soldadas deben realizarse pases de soldadura E-6010 con suficiente amperaje para obtener máxima penetración entre las piezas; también deben realizarse pases sucesivos de soldadura E-7018 para alcanzar una altura mínima de refuerzo de 1/8”. 

Todas las soldaduras deben ser libres de defectos tales como escorias, inclusiones, poros, etc., y de la misma forma deben cumplir el código ASME capitulo IX. 
 

8.3 CARACTERÍSTICAS QUÍMICAS

Las platinas y partes metálicas deben cumplir con las siguientes características: 
 

CARACTERÍSTICAS QUIMICAS DE LÁMINAS Y PLATINAS 
ELEMENTO SAE 1010 SAE 1020 
% Carbono0,08 a 0,130,18 a 0,22
% Fósforo, máx.0,050,05
% Azufre, máx.0,050,05
% Manganeso0,3 a 0,60,3 a 0,6


 

Nota: Se pueden usar aceros equivalentes como ASTM A36, y otros con la previa autorización de Enel Colombia. 
 

8.4 CARACTERÍSTICAS MECÁNICAS

Las láminas y platinas utilizadas para la fabricación de tapas y marcos deberán poseer las siguientes características mecánicas mínimas: 
 

CARACTERÍSTICAS MECÁNICAS 
ITEM VALOR 
Límite mínimo de fluencia del acero18,4 Kg/mm 2 (180 MN/m 2 )
Resistencia a la tracción34,7 Kg/mm 2 (340 MN/m 2 )
Elongación30% en 50 mm (2 pulgadas)


 

9. ENSAYOS DE LABORATORIO

9.1 ENSAYOS DE LABORATORIO

El registro completo de los ensayos de los materiales y del concreto, debe estar disponible para el comprador, durante el tiempo que dure la fabricación y por los dos años siguientes a su terminación. 

9.1.1 Ensayos de Materiales del Concreto. 

Todos los ensayos de los materiales y del concreto en sí, se deben realizar de acuerdo con la norma ICONTEC correspondiente. 

El cemento debe cumplir con la norma ICONTEC 121. 

El cemento analizado debe corresponder a aquel sobre el cual se base la dosificación del concreto, que se va a utilizar en la fabricación de la tapa. 

Los agregados para el concreto deben cumplir con la norma ICONTEC 174. 

El agregado grueso o grava, tendrá un tamaño máximo de 19 mm y mínimo de 10 mm. 

El agregado fino o arena se debe lavar, y quedar libre de sustancias químicas, orgánicas o de cualquier naturaleza, que puedan perjudicar las características físicas de la mezcla. 

El agua utilizada en la mezcla del concreto, debe estar limpia y libre de cantidades perjudiciales de aceites, ácidos, álcalis, sales, materias orgánicas u otras sustancias perjudiciales para el concreto o el acero de refuerzo y ajustarse a lo especificado en el capítulo C.3.4 del Código Colombiano de Construcciones Sismo Resistentes. Decreto 33 de 1998. 

Para el Ensayo de la resistencia del concreto a la compresión, el fabricante o proveedor debe preparar cuatro cilindros diarios, de acuerdo con la norma ICONTEC 673 (ASTM C39) “ Ensayo de resistencia a la compresión de cilindros normales de hormigón”. De estos cilindros diarios, se enviarán dos al laboratorio y se ensayarán a edades de 7 y 14 días. En caso que la resistencia de los 7 y 14 días, proyectada a los 28 días sea menor que f'cmin + 85 kg/cm 2 , se deberán ensayar los otros dos cilindros a los 28 días. Se halla la resistencia promedio de los cuatro cilindros y se verifica si cumple el requisito anterior. Si no cumple, se rechazará la producción del día en que fueron tomadas las cuatro muestras. Los resultados de los ensayos de estos cilindros se deberán suministrar al comprador para su conocimiento y control, y deben realizarse por un laboratorio aprobado por el comprador. 

Nota. Para verificar si los materiales utilizados en la elaboración de la mezcla del concreto son de la calidad especificada, se deben realizar los ensayos de laboratorio correspondientes sobre muestras representativas de tales materiales. 

9.1.2 Varillas de Refuerzo

El fabricante deberá realizar los análisis de laboratorio de las probetas seleccionadas del lote de acero que se va a utilizar en el armado de las tapas. 

En los ensayos de laboratorio de estas probetas, se deben suministrar los siguientes resultados: 
 

  • Carga máxima a la tracción.
  • Límite de fluencia al 0,2%.
  • Porcentaje de alargamiento en probeta de 200 mm (8").

9.2. PRUEBA DIMENSIONAL

La verificación de las dimensiones se hará con los instrumentos de medida que den la aproximación requerida (cinta metálica con divisiones de 1 mm para longitudes y calibrador para los diámetros y espesores). El tamaño de la muestra deberá estar de acuerdo NTC 2859-1. 
 

9.3 OBLIGACIÓN DE EJECUCIÓN DE LOS ENSAYOS Y PRUEBAS

Es obligación del fabricante realizar las siguientes pruebas de tapas, marcos y ensayos de materiales: 

1. Diseño de la mezcla incluyendo el análisis fisicoquímico del agua. 
2. Ensayo de tracción del acero. 
3. Ensayo de resistencia a la compresión de los cilindros de concreto. 
4. Ensayo de pruebas dimensional 
5. Inspección visual 

Las pruebas correspondientes a los puntos 1,2 y 3, se deberán realizar por un laboratorio especializado y aceptado previamente por Enel Colombia. 
 

10. SUMINISTRO Y RECEPCIÓN TAPAS Y MARCOS

10.1 TOLERANCIAS ACEPTADAS

Longitud, ancho y alto de la tapa y el marco. 

Se acepta una tolerancia en la longitud, ancho y alto de la tapa y el marco de ± 3 mm. 
 

10.2 MARCAS

Se deben marcar las tapas según figura 6. 
 

10.3 RECEPCIÓN DE MARCOS Y TAPAS

En la inspección se realizará: 

-Prueba destructiva a una (1) tapa por referencia, a fin de validar el cumplimiento de las características técnicas de las varillas, concreto, soldadura, entre otras. 
-Inspección visual, prueba dimensional y revisión de protocolos de pruebas. 

Para llevar a cabo las labores de inspección y recepción de tapas y marcos, se establece el siguiente plan de muestreo, en el que se determina, de acuerdo con el tamaño del lote , el número de unidades a los cuales se les debe practicar la inspección visual para la aceptación o rechazo del mismo: 

INSPECCIÓN VISUAL Y DIMENSIONAL 
Nivel de Inspección general II, NCA = 4% 
 

Tamaño del lote Tamaño de muestra Aceptación Rechazos 
2 - 25301
26 - 901312
91 -1502023
151-2803234
281-5005056
501-12008078


 

Nota. Si el tamaño de la muestra es mayor o igual al lote , se hará inspección 100% 

En la semana anterior a la visita deben presentar el cuadro de control de producción y los soportes de los ensayos de compresión que demuestren el cumplimiento de los requisitos mecánicos del concreto. El proveedor deberá disponer de un control de producción que le permita a la Compañía verificar que previo a la fecha de inicio de la inspección, el concreto ha llegado al 90% de la capacidad mínima de rotura (compresión). 

El tiempo normal de fraguado del concreto es 28 días. Si el proveedor utiliza aditivos acelerantes para el fraguado del concreto, el proveedor deberá presentar la curva del ensayo de rotura del concreto donde indique el tiempo en que se alcanza el 90% de la capacidad mínima de rotura. 

Prueba de Compresión: Se realizará en la primera recepción una sola vez en la primera recepción, acorde a la Norma ANSI/SCTE 77 TIER 8 y/o similar previa aprobación por la Compañía, con un plan de Muestreo así: 

 

Tamaño de Muestra% AQL
AceptaciónRechazo
301


 


10.3.1 Motivos de rechazo

Se rechazarán los tapas y marcos por las siguientes causas: 

10.3.1.1 Defectos críticos. 

- La resistencia a la compresión del concreto no cumple con los requisitos mínimos especificados. 

- Tapas con resanes, cuando la profundidad de estos haya llegado hasta el refuerzo principal. 

- Los resanes superficiales hechos con mortero sin el aditivo apropiado para adherencia a concreto viejo o en forma inadecuada. 

- Estructura metálica a la vista, ya sean varillas o alambres. 

- Grietas transversales o longitudinales. 

- El incumplimiento de las tolerancias especificadas, se consideran como defectos críticos. 

- Incumplimiento de cualquier requisito establecido en la especificación técnica. 

10.3.1.2 Defectos mayores. 

- No colocación de la leyenda mencionada en el numeral 10.2 
 

11. REQUISITOS DE LAS OFERTAS

El Oferente deberá incluir con su propuesta, la siguiente información: 
 

  • Planilla de características técnicas garantizadas, la cual deberá ser diligenciada completamente, firmada y sellada por el oferente.
  • Catálogos originales completos y actualizados del fabricante, que correspondan a los dispositivos cotizados, en la planilla de características técnicas garantizadas.
  • Protocolos de pruebas de acuerdo con las normas indicadas en el numeral 5 de la presente especificación. En tales protocolos se deberán anotar las fechas de fabricación y pruebas del equipo , para permitir la verificación de las características técnicas garantizadas.
  • Información adicional que considere aporta explicación a su diseño (dibujos, detalles, características de operación, dimensiones y pesos de los materiales ofertados).


Enel Colombia podrá descartar ofertas que no cumplan con las anteriores disposiciones, sin expresión de causa ni obligación de compensación. 
 

12. GARANTÍA DE FABRICA

Enel Colombia requiere como mínimo, un período de garantía de fábrica de veinticuatro (48) meses, a partir de la entrega de los bienes. 
 

13. INSPECCIÓN EN FABRICA

El suministrador enviará con no menos de quince (15) días calendario de anticipación, a la fecha programada para la realización de las pruebas en fábrica, el formato de protocolos de pruebas 

El PROVEEDOR debe brindar plena colaboración al RESPONSABLE en el cumplimiento de sus funciones. 

El valor de las pruebas y ensayos debe incluirse en los precios cotizados en la propuesta. Enel Colombia se reserva el derecho de descartar las propuestas que no ofrezcan pruebas, o si las ofrecidas son consideradas insuficientes para garantizar la calidad de los dispositivos. 
 

14. CERTIFICADOS DE CONFORMIDAD 

El oferente adjuntará con su propuesta el certificado de conformidad de producto con norma técnica , expedido por una entidad autorizada por la ONAC-Organismo Nacional de Acreditación de Colombia. 
 

15. PRESENTACIÓN DE LAS OFERTAS

El oferente deberá presentar su oferta técnica (en medio impreso) en el siguiente orden: 
 

  • ANEXO 1 : relación de los bienes cotizados.
  • ANEXO 2 : información del oferente.
  • ANEXO 3 : planillas de características técnicas garantizadas.
  • EXCEPCIONES TÉCNICAS : apartado en el cual se deben relacionar las excepciones de carácter exclusivamente técnico de la oferta, respecto a los bienes solicitados. Si la oferta no presenta excepción, se indicaría expresamente en el mismo “NO HAY EXCEPCIONES”
  • PROTOCOLO DE PRUEBAS : relación de los ensayos realizados, de acuerdo con lo indicado en el apartado 8 de la presente especificación.
  • CERTIFICACIONES : Certificación del producto.
  • EVIDENCIA TÉCNICA : relación de clientes, evidencia de su capacidad técnica y experiencias relacionadas con los materiales y/o equipos cotizados.
  • GARANTÍA : carta de garantía de los bienes cotizados.
  • NORMAS : normas técnicas aplicables a los bienes cotizados.
  • CATÁLOGOS : catálogos originales completos y actualizados del fabricante, que correspondan a los datos bienes cotizados.
  • INFORMACIÓN ADICIONAL : información adicional que se considere aporta explicación al diseño del dispositivo, así como las instrucciones de instalación, operación.

Adicionalmente, el fabricante debe incluir la anterior información en formato magnético en un CD o Disquete. 
Enel Colombia S.A. podrá descartar ofertas que no cumplan con las anteriores disposiciones, sin expresión de causa ni obligación de compensación. 



 

 

 


ANEXO 1. TABLA DE CARACTERÍSTICAS TÉCNICAS GARANTIZADAS 

N° CARACTERISTICAS OFRECIDAS 
1Normas de Fabricación y pruebas 
Marco 
Tipo de Marco CS 274 CS 275 CS 276 CS 277 
2Certificación de ProductoSI / NO    
Ente Certificador    
N° de Certificado    
3Dimensiones Internas Figuras 1,2,3,4,5 y 6Ancho    
Largo    
Alto    
4Materia PrimaTipo de Angulo    
Dimensiones del ángulo    
Composición química del ángulo    
Tapa 
Tipo de Tapa CS 274 CS 278 ó CS 278-3
5Certificación de ProductoSI / NO  
Ente Certificador  
N° de Certificado  
6Dimensiones Internas Figuras 1,2,3,4,5,6,7,8,9Ancho  
Largo  
Alto  
7Materia PrimaTipo de Platina  
Dimensiones de Platina  
Composición química de la Platina  
Tipo de la varilla  
Dimensiones de la varilla  
Composición química de la varilla  
8Posee las platinas triangulares según figuras 2 y 4 ( si / no)  
9Posee marcación según figura 6 (CS 278 - 1) ( si / no)  
?¿El valor de pruebas de recepción requeridas en el presente documento, se encuentra incluido? ( si / no)


 


FIGURA 1- Marco Metálico para Tapas de Acometidas BT y AP (CS 274-1) 
 

Marco metálico para tapas de acometidas BT y AP



NOTAS: 

- Dimensiones en mm. 
- La resistencia especificada del concreto sera de la compresión a los 28 días. 
 

 

 

 

 

 

 

 

 

 


FIGURA 2 -Tapa para Acometidas BT y AP (CS 274-2) 
 

Tapa para Acometidas BT y AP
 

 



FIGURA 3-Marco Metálico para Caja de Inspección Sencilla MT y BT (CS 275 –1) 
 

 
 



NOTA: 
-Dimensiones en mm 
 

 

 

 

 

 

 


FIGURA 4-Tapa para caja de inspección MT y BT (CS 278) 

NOTAS: 
- Las dimensiones de esta tapa son únicas para los tres tipos de caja: sencilla, doble o triple. 
- La resistencia especificada del concreto será de la compresión a los 28 días. 
- La platina triangular de 3/16” estará soldada internamente al marco. 
- El tubo de Ø 22 mm interno x 100 mm, llevará una arandela inmersa en concreto de Ø 2” en la parte inferior, el espesor del tubo y de la arandela será de mínimo 3 mm. Su uso será para levantamiento de la tapa con sistema hidráulico. 
 

 

 


FIGURA 5 Marco metálico para caja de inspección doble MT y BT (CS 276-1) 
 

 



NOTAS: 
-Dimensiones en milímetros 
 

 

 

 

 

 

 

 



FIGURA 6-Placa de identificación de las tapas (CS 278-1) 
 

 

 

 

 

 

 

 

FIGURA 7 - Tapa Para Caja De Inspección Sencilla Doble ó Triple en Calzada (CS278-3)

 
 
 
 
Figura 8 - Tapa Para Caja De Inspección Sencilla Doble O Triple En Calzada (CS278-3)
 
 
Figura 9 - Detalles del estribo (CS278-3)

 

NOTAS:

  1. Para las figuras 7, 8 y 9, las dimensiones de esta tapa son únicas para los tres tipos de caja: sencilla, doble y su uso es exclusivo para calzada no aplica su uso en andenes.
  2. El concreto deberá tener una resistencia mínima de 28 días de fraguado, 350 kg/cm² (5000psi).
DATOS ADICIONALES
Revisión #

10

Fecha de entrada en vigencia

HERRAMIENTAS
RELACIONADAS

Actividad de los usuarios

Estado del comentario