ET126 Bus de barras

  • Contenido

1. OBJETO

Establecer las condiciones que deben tener los bus de barras, los cuales requieren excelentes características técnicas de desempeño, durabilidad y calidad para cumplir las condiciones actuales de servicio en los sistemas de distribución de energía de baja tensión .

2. ALCANCE

Esta especificación aplica para los bus de barras y sus accesorios empleados en las redes de baja tensión .

3. CONDICIONES AMBIENTALES

El ambiente donde serán instalados los bus de barras podrá tener las siguientes características dentro del área de concesión de Enel Colombia:

CARACTERÍSTICAS AMBIENTALES
a. Altura sobre el nivel del mar Desde 500 hasta 3.000 m
b. Ambiente Tropical
c. Humedad 90%
d. Temperatura máxima y mínima 40ºC y - 5ºC respectivamente.
e. Temperatura promedio 14ºC.

4. CONDICIONES DE SERVICIO

Los bus de barras a utilizar pueden ser de cualquiera de las tecnologías conocidas o las que se lleguen a diseñar en el futuro, pero deben cumplir las normas referenciadas en la presente especificación técnica .

5. SISTEMAS DE UNIDADES

En todos los documentos técnicos se deben expresar las cantidades numéricas en unidades del sistema Internacional. Si se usan catálogos, folletos o planos, en sistemas diferentes de unidades, deben hacerse las conversiones respectivas.

6. NORMAS RELACIONADAS

Las siguientes normas y estándares deberán ser usados en el diseño y fabricación de los bus de barras:
NORMA DESCRIPCIÓN
IEC 60439-1 Low voltaje switchgear and controlgear assemblies – Part 1: Type – tested and partially type-tested assemblies.
IEC 60439-2 Low voltaje switchgear and controlgear assemblies – Part 2: Particular requerements for buscar trunking systems (busways).
IEC 60529 Degrees of protection provided by enclosures (IP Code).
IEC 60410 Sampling plans and procedures for inspection by attributes.
NTC 2050 Sección 364. Canalizaciones De Barras Colectoras (Busways)
NEMA 250 Enclosures for Electrical Equipment (1000 Volts Maximun)
UL 857 Busways

Pueden emplearse otras normas internacionalmente reconocidas equivalentes o superiores a las aquí señaladas, siempre y cuando cumplan lo solicitado en la presente especificación técnica .

Las normas citadas en la presente especificación o cualquier otra que llegare a ser aceptada por Enel Colombia se refieren a su última revisión.

7. DEFINICIONES

Para unificar el vocabulario técnico en los aspectos que tratan estas especificaciones, se establecen las siguientes definiciones:

Bus de barras : De acuerdo con la NEMA (National Electrical Manufacturers Association), es un sistema de distribución eléctrica mediante elementos prefabricados compuestos por ramales (bus) de barras recubiertos de una carcasa protectora, incluyendo tramos rectos, ángulos, dispositivos y accesorios. Según el NEC (Art 364-2 BARRAS COLECTORAS (BUSWAYS)) es una estructura cubierta o envoltura metálica puesta a tierra conteniendo conductores aislados o desnudos instalados en fábrica que usualmente son barras, varillas o tubos de cobre o aluminio.

Caja de derivación de bus de barras : Elemento utilizado para hacer derivaciones del bus de barras a cajas o armarios de medidores, incluyen interruptores de protección.

Efecto Pelicular : La densidad de corriente en el caso de transmisión de corriente continua (DC) es uniforme en toda la superficie del conductor. En contraste en el caso de la transmisión de corriente alterna (AC), la corriente fluye mayormente por la periferia del conductor debido al campo electromagnético generado. Este fenómeno denominado efecto pelicular, restringe el flujo de corriente eléctrica, ya que se solo utiliza un porcentaje del material conductor y genera un aumento de la temperatura como consecuencia del efecto Joule. El efecto pelicular esta relacionado directamente con la forma del conductor y la longitud perimetral de este en relación a su superficie transversal. En términos eléctricos este efecto esta relacionado con la impedancia mutua del conductor.

Efecto de Proximidad : El campo electromagnético generado por la circulación de corriente alterna en dos conductores paralelos, tiende a incrementar la densidad de corriente en las caras adyacentes de los conductores, creando un gradiente negativo hacia las superficies opuestas.

TGA : Tablero general de acometida s

Tipo Fases Pareadas : Se utiliza cuando se tienen caídas de tensión desbalanceadas y trabajan con un efecto de transposición.

Tipo baja Impedancia : Utilizan tecnología de aislamiento en resina o pintura, así se hace más compacta.

Nivel de corto circuito : Es la capacidad que tiene una instalación eléctrica de soportar la energía térmica que se disipa durante la circulación de una corriente de corto circuito nominal , y durante la duración de la falla .

Grado de Protección : De acuerdo a la norma IEC 60529 son los grados de protección que deben proveer los diferentes aparatos eléctricos y sus cajas o envolventes.

Rotulado : Información mínima que el fabricante debe suministrar marcada en el bus de barras de acuerdo al RETIE (art 17.11.4) y el NEC ART 364-15: tensión , corriente, fabricante.

8. REQUERIMIENTOS TÉCNICOS Y PARTICULARES

8.1 Instalación

El sistema de bus de barras debe cumplir con el RETIE . (Artículo 17.11.4.) y lo indicado en la presente especificación.

También se deben cumplir con los siguientes artículos de la NTC 2050:

Art 364-4
USOS:
- USOS PERMITIDOS: donde se localicen trabajos al aire y visibles
- USOS NO PERMITIDOS: Los que se indican a continuación:
1. Donde estén expuestos a daños físicos severos o vapores corrosivos.
2. En fosos de ascensores.
3. En áreas clasificadas como peligrosas.
4. A la intemperie o en sitios húmedos a menos que estén especificados para su uso.

Art 364-5 : SOPORTES: en intervalos que no excedan 1,50m.
Art 364-7 : Los extremos de los barrajes deben ir cerrados.
Art 364-12 : Circuitos ramales: Deben tener dispositivos de protección adecuados.
Art 364-15 : Marcación: Corriente y tensión nominales, nombre del fabricante y marca comercial.
Art 364-24 : Barra de neutro : Se debe dimensionar adecuadamente, incluyendo corrientes armónicas y con la capacidad para soportar corrientes instantáneas y de cortocircuito de acuerdo al sistema .

Los bus de barras tipo plug-in, solo se deben utilizar en los tramos donde se requiera realizar derivaciones a otros bus de barras, cajas o armarios de medidores. Las salidas para caja de derivación no utilizadas deberan disponer de un elemento que evite el acceso no autorizado y éste debe disponer de portasellos.

Los cambios de dirección, derivaciones, conexiones a tablero , etc. se realizan utilizando elementos modulares estandarizados diseñados específicamente para tal fin. Estos son: curvas (horizontales y verticales), tes, equis, elemento de conexión a tableros y máquinas, transformador, final de circuito, reductores, etc. Se recomienda no utilizar conexiones bus– cable -bus, sin embargo cuando por diseño se instalen estas conexiones se debe tener el accesorio adecuado.

Se deben tener elementos de protección, ubicados en caja de derivación de barra, calculados de acuerdo al diseño cada vez que haya una derivación en el bus de barras.

En un cuarto eléctrico cuando se utilice un solo punto de derivación del bus de barras este debe quedar ubicado entre 1,5m y 1,7m de altura desde el nivel del piso. En el caso de utilizar dos puntos de derivación estos deben quedar ubicados entre 0,75m y 1,7m.

Debe existir una (1) protección termomagnetica en la caja de derivación por cada armario o caja portamedidores alimentados en este punto, y si la distancia entre esta y el armario o caja portamedidores es superior a 15m, se deberá instalar otra protección de la misma capacidad en la caja portamedidores o armario.

Las cajas de derivación pueden poseer máximo dos interruptores y debe incluir un sistema de bloqueo mecánico que permita garantizar que el (los) interruptor (es) se encuentren desenergizados antes de abrir la puerta o retirar la caja de derivación de la barra. Al instalar la caja de derivación el primer punto de conexión debe ser el neutro y al retirar la caja de derivación el último punto de contacto debe ser el neutro.

El tramo entre la caja de derivación y la caja portamedidores o armario se debe realizar en cable y en ducto metálico galvanizado IMC.

El bus de barras cuando se instale de forma vertical debe soportar cualquier tipo de esfuerzo mecánico provocado por las máximas condiciones a que esté expuesto, ya sea falla eléctrica o movimientos sísmicos. Enel Colombia podrá solicitar el resultado de las pruebas realizadas al bus de barra instalado.

Los bus de barras deben ser instalados por personal calificado dicha capacitación debe ser certificada y avalada por el suministrador o fabricante.

La protección principal de cada rama del bus de barra, puede ir alojada en un TGA (Tablero General de Acometidas), y debe quedar máximo a 15m de los bornes del transformador. Si esta distancia es mayor se exige doble interruptor de protección, uno al inicio y otro al final de este tramo de red. En todo caso las protecciones deben ir fuera de la celda o bóveda del transformador.

Este tramo de red entre bornes y protección principal debe instalarse con acoples flexibles y protegidos, eliminando cualquier posibilidad de dejar expuestos frentes vivos.

El bus de barras debe quedar soportado a distancias menores o iguales a 1,5m o sobre estructuras adecuadas para otras distancias diseñadas y rotuladas para ese fin (NTC 2050 Art. 364.5 Soportes). El paso a través de paredes o pisos exige que la sección del bus de barras sea continua (no se permiten uniones de bus de barras, cajas y/o salidas tipo plug in entre pisos y/o paredes).

Los tramos verticales de bus de barras no deben ser mayores a 3m, para proyectos industriales y comerciales, se evaluará en diseños el uso de longitudes mayores. Se debe dejar suficiente espacio alrededor de estos, para garantizar su reemplazo con facilidad.

Para instalaciones de bus de barras con ventilación no forzada se deben colocar componentes sellantes al pasar de una parte interior a una parte exterior de una edificación, garantizando el índice de protección. El bus de barras se debe instalar con barreras cortafuego al atravesar las paredes, techos o pisos que posean protección cortafuego.

El sistema de medida en edificaciones que usen bus de barras como acometidas de BT a cajas o armarios de medidores, debe diseñarse y construirse de acuerdo con toda la normatividad de Enel Colombia respecto a armarios de medidores y cajas portamedidores. Los armarios de este sistema deben cumplir con las generalidades indicadas para los armarios de medidores, ver normas AE200 , AE201-1 , AE308 y ET911 .

Cuando los dispositivos de protección sean instalados a una altura no accesible desde el nivel del suelo, deben ser del tipo uso con pértiga, productos originales de fábrica, diseñados, probados y certificados para ese fin.

8.2 Características Técnicas

De manera general y adicional a las características propias de diseño del bus de barras, se deben tener en cuenta las siguientes características eléctricas:

Caída de Tensión : La barra no debe tener más del 3% de caída de tensión entre bornes de baja tensión del transformador de distribución y el último armario o cajas de medidores.

Corriente de Corto Circuito : Es el valor de la corriente de cortocircuito nominal que el bus de barras debe soportar los esfuerzos electrodinámicos que la energía térmica disipa durante la avería. Las barras deben poder soportar la corriente de cortocircuito durante la duración del fenómeno, esto es, por el tiempo máximo empleado por el dispositivo de protección para despejar la falla .

8.3 Características Químicas

Las barras pueden ser de aluminio de alta conductividad (aleaciones 1350 y 6101) o barras de cobre electrolítico estañado en los puntos de unión o derivación. El conjunto ducto barra deberá estar rígidamente montado en material aislante no-higroscópico.

La envolvente del bus de barras debe estar construida de lámina de aluminio o acero.

Cada barra debe estar aislada con un material clase B (130°C), como es el poliéster ó el material epóxico y debe ser auto extinguible.

Se recomienda diseñar un esquema de protecciones donde en todo el tramo del bus de barras se instalen sensores de temperatura, con los cuales se generen alarmas cuando la temperatura de las uniones de los tramos, lleguen a valores que superen el 90% de la capacidad térmica de las barras, o genere disparo del interruptor que protege el bus de barras o el tramo correspondiente, al tener temperaturas superiores al 100% de la capacidad térmica.

8.4 Grados de Protección

La publicación IEC 60529 describe la normalización de los grados de protección que deben proveer los diferentes aparatos eléctricos y sus cajas o envolventes.


Primer Número, respecto a personas y objetos Segundo Número, respecto a penetración de agua
0 No protegido 0 No protegido
1 Contra contacto de la mano 1 Contra goteo vertical
2 Contra contacto de los dedos u objetos mayores de 50mm de diámetro 2 Contra goteo, incluyendo cajas inclinadas 15º
3 Contra herramientas u objetos mayores a 12.5mm de diámetro 3 Contra agua rociada
4 Contra herramientas u objetos mayores a 1mm de diámetro 4 Contra agua salpicada
5 Contra el polvo 5 Contra chorro de agua
6 Contra polvo muy frío 6 Contra chorro fuerte de agua
7 Contra inmersión momentánea
8 Contra inmersión continua


Dentro de esta clasificación se exige que el IP de los bus de barras para uso interior sea mayor o igual a IP54, es decir estará protegida contra polvo y agua salpicada.

Si se requiere que el bus de barras tenga un IP superior debido a condiciones especiales del lugar donde se va a instalar, se estudiara cada caso en particular para determinar el valor de IP adecuado.

8.5 Puesta a Tierra

La envolvente o cerramiento metálico del bus de barras puede utilizarse como conductor de puesta a tierra siempre y cuando el fabricante garantice lo siguiente:
  • Continuidad eléctrica en todo el sistema
  • Capacidad suficiente para soporta la corriente de falla o cumplimiento con el área de sección transversal mínima

En el caso de no cumplir con lo anterior, el bus de barras debe incluir una barra adicional adecuada para el sistema de puesta a tierra y todas las cajas de derivación deben estar aterrizadas. Si el bus de barras no cuenta con la barra adicional se debe emplear cable de cobre instalado a lo largo de la barra. El calibre de este conductor se debe determinar según lo indicado en la tabla 250-95 de la NTC 2050

El sistema debe incluir las barras de fases (3), la barra de neutro (1). Para diseños especiales se acepta incluir barra de tierra aislada (1), para equipos electrónicos.

Cuando se tengan cargas no lineales (edificios de oficinas), adicional a lo anterior, se debe tener en cuenta que el neutro puede ser dimensionado con el 173% de la capacidad de corriente de las cargas no lineales de diseño de las fases. Al tener tanto cargas lineales como no lineales, se debe tener en cuenta el efecto de las cargas no lineales para dimensionar el neutro .

El bus de barras se debe instalar de forma tal, que el aumento de temperatura por la circulación de corrientes eléctricas inducidas, en cualquiera de las partes metálicas adyacentes, no sea peligroso para el personal ni constituya riesgo de incendio . En algunos casos de fallas a tierra , pueden circular corrientes de cortocircuito por el chasis del bus de barras. Por lo anterior en los casos en que el bus de barras se instale en forma vertical en zonas de libre tránsito de personas, se debe restringir el acceso a la barra.

8.6 Identificación

Cada tramo del bus de barras debe estar provisto de una placa de caracteristicas, que quede visible después de la instalación, con la siguiente información:

- Nombre o marca del fabricante.
- Tensión nominal [V].
- Corriente Nominal [A]
- Identificación de la posición de las fases, neutro y tierra , indicada como L1, L2, L3, N y T, u otro sistema claramente identificable.
- Sistema de conexión.
- Capacidad de corto circuito [kA]
- Frecuencia nominal [Hz].
- Numero de serie de fabricación
- Torque de apriete (si se requiere).
- Grado de protección IP.
- Temperatura máxima (funcionamiento normal).

De acuerdo al RETIE (articulo 17.11.4), también debe incluirse en la placa de identificación la siguiente información:
  • Tipo de ambiente para el que fue diseñado, en caso de ser especial (corrosivo, intemperie, áreas explosivas).
  • Instrucciones para instalación, operación y mantenimiento .

Esta placa debe ser en acero inoxidable y la información será en color negro.

Adicional a la información de la placa de características se debe incluir otra placa con la siguiente información en cada tramo de barra:

• Símbolo de riesgo eléctrico de acuerdo al RETIE (11.3)
• Identificación de circuitos (Origen y destino)

La placa puede ser en acero inoxidable ó policarbonato y debe ser fijada en un lugar visible, la información será en color negro sobre fondo amarillo.

8.7 Soportes de Fijación

Los soportes de fijación se deben ajustar a lo largo del trayecto, el fabricante debe indicar la forma y la separación de estos soportes, adjuntando los manuales de instalación. El bus de barras se soportará rígida y adecuadamente al muro horizontal ó vertical por medio de anclajes.

La forma de instalación de los bus de barras puede ser horizontal ó vertical, y si no confinada en muros, podría estar a la vista pero teniendo en cuenta que no debe ser fácil acceso a personal no autorizado.

Para todos los casos se deben instalar los soportes de fijación de acuerdo a las características sismorresistentes garantizadas por el fabricante. Adicionalmente la conexión entre el bus de barras y el transformador o interruptores, debe ser con acoples flexibles, con el fin de que el sistema no quede rígido y no se tengan inconvenientes por alguna falla eléctrica o en un sismo.

En ningún caso el ducto estará en contacto (excepto en los puntos de fijación) con muros, pisos o superficies de ningún tipo.

8.8 Extremo de los bus de barras

Los extremos del bus de barras deben estar cerrados, de modo que se evite la entrada de humedad, polvo, partículas e impida el acceso accidental de personas.

8.9 Sellos de Seguridad

Se debe disponer de portasellos en cajas de derivación, caja de interruptor principal, cajas finales y cajas de paso del sistema de comunicación.

8.10 Cálculo y Diseño

Al diseñar un sistema de distribución con bus de barras se deben considerar cuatro aspectos básicos:

Selección por Capacidad de Corriente
Todo proyecto debe comenzar por la estimación de carga total conectada al sistema . Este cálculo debe considerar la carga demandada y los factores de diversidad, igual que el sistema tradicional. El valor obtenido representa la carga total máxima a la cual será sometido el bus de barras bajo cualquier condición.

Selección por Caída de Tensión
La selección del tamaño de la barra conductora debe ser evaluada en función de la caída de tensión que produce la corriente de carga al circular a lo largo del tramo. Igualmente, la caída de tensión depende del factor de potencia de la carga a distribuir.

Selección por Capacidad de Cortocircuito
La selección del modelo del bus de barras con respecto a su capacidad de cortocircuito debe ser de forma similar a la realizada para cables.

Selección por Tipo de Ambiente
Para su instalación en lugares húmedos, mojados o lugares clasificados peligrosos deben estar aprobados para el caso respectivo, con la selección del IP adecuado para estos ambientes.


9. ENSAYO DE LABORATORIO Y PRUEBAS A REALIZAR

9.1 Pruebas Tipo (Type Test). IEC-60439-1 art 8.1.1


- Verificación de temperatura (rise limits)
- Verificación de propiedades dieléctricas
- Verificación de cortocircuito esfuerzo sostenido
- Verificación de efectividad de los circuitos de protección
- Verificación de distancias de fuga (cleareances and creepage)
- Verificación de operación mecánica
- Verificación del grado de protección (IP)

9.2 Pruebas de rutina (Routine Test)


- Inspección de ensamblaje y si es necesario pruebas de operación.
- Pruebas dieléctricas.
- Revisión de medidas y continuidad eléctricas.


10. CERTIFICACIONES

El bus de barras debe contar con certificación de producto bajo norma técnica internacional o NTC que les aplique, y con RETIE , emitidos por un organismo de certificación debidamente acreditado ante el ONAC - Organismo Nacional de Acreditación de Colombia.



11. DIAGRAMA UNIFILAR CON BUS DE BARRAS



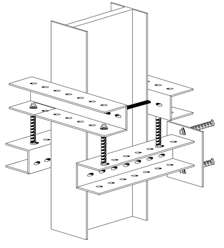
12. ELEMENTOS DEL BUS DE BARRAS

Ángulos

Uniones

Tramos rectos

Fijación con sistemas de resorte

Sistema rígido de fijación

Derivación a cajas y armarios de medidores
DATOS ADICIONALES
Revisión #

6

Fecha de entrada en vigencia

HERRAMIENTAS
RELACIONADAS

Actividad de los usuarios

Estado del comentario